2025年假期面对面南方出版社八年级物理人教版
注:目前有些书本章节名称可能整理的还不是很完善,但都是按照顺序排列的,请同学们按照顺序仔细查找。练习册 2025年假期面对面南方出版社八年级物理人教版 答案主要是用来给同学们做完题方便对答案用的,请勿直接抄袭。
第35页
- 第1页
- 第2页
- 第3页
- 第4页
- 第5页
- 第6页
- 第7页
- 第8页
- 第9页
- 第10页
- 第11页
- 第12页
- 第13页
- 第14页
- 第15页
- 第16页
- 第17页
- 第18页
- 第19页
- 第20页
- 第21页
- 第22页
- 第23页
- 第24页
- 第25页
- 第26页
- 第27页
- 第28页
- 第29页
- 第30页
- 第31页
- 第32页
- 第33页
- 第34页
- 第35页
- 第36页
- 第37页
- 第38页
- 第39页
- 第40页
- 第41页
- 第42页
- 第43页
- 第44页
- 第45页
- 第46页
- 第47页
- 第48页
- 第49页
- 第50页
- 第51页
- 第52页
- 第53页
- 第54页
- 第55页
- 第56页
- 第57页
- 第58页
- 第59页
- 第60页
- 第61页
- 第62页
- 第63页
- 第64页
- 第65页
- 第66页
- 第67页
- 第68页
1.(连云港中考)下列关于机械效率的说法正确的是(
A.越省力的机械,机械效率越高
B.做功越快的机械,机械效率越高
C.所做有用功越多的机械,机械效率越高
D.有用功与总功的比值越大的机械,机械效率越高
D
)A.越省力的机械,机械效率越高
B.做功越快的机械,机械效率越高
C.所做有用功越多的机械,机械效率越高
D.有用功与总功的比值越大的机械,机械效率越高
答案:
D
2.(盐城中考)下列挪动球形石墩的方法中,最省力的是(

A
)
答案:
A
3.(龙东中考)如图所示,甲物重15N,乙物重5N,甲、乙均静止,不计测力计自重,则测力计示数为(

A.5N
B.10N
C.15N
D.20N
A
)A.5N
B.10N
C.15N
D.20N
答案:
A
4.(重庆中考)同学们模仿中药房的戥秤制作杆秤,用筷子做秤杆,用钩码做秤砣,用细线将秤盘系在A点。当不挂秤砣、且秤盘不放物体时,在O点提起提纽,秤杆水平平衡;当秤盘放100g物体、秤砣移到B点时,秤杆再次水平平衡,如图所示。在O到B两条刻线之间均匀地画上49条刻度线。下列说法正确的是(

A.自制杆秤的每一格约表示2.04g
B.称中药时B端翘起应减少中药恢复水平平衡
C.如果秤砣磨损则测量结果会比真实质量偏小
D.若将提纽移到O点右侧可以增大杆秤的量程
B
)A.自制杆秤的每一格约表示2.04g
B.称中药时B端翘起应减少中药恢复水平平衡
C.如果秤砣磨损则测量结果会比真实质量偏小
D.若将提纽移到O点右侧可以增大杆秤的量程
答案:
B
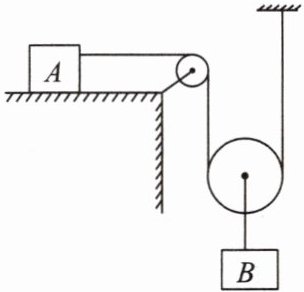
5.(自贡中考)如图所示,物体A、B的重分别为20N、10N,滑轮重、绳重、滑轮与轴之间的摩擦均忽略不计,此时物体A在水平面上向右做匀速直线运动。若用力F向左拉物体A,使物体A向左做匀速直线运动,则(

A.F=20N
B.F=10N
C.F=5N
D.F=30N
B
)A.F=20N
B.F=10N
C.F=5N
D.F=30N
答案:
B
6.(丹东中考)如图所示,在斜面上将一个重为15N的物体匀速从斜面底端拉到顶端,沿斜面向上的拉力F=6N,斜面长s=1.2m,斜面高h=0.3m。下列说法正确的是(

A.克服物体重力做功7.2J
B.额外功为1.8J
C.物体受到的摩擦力为2.25N
D.斜面的机械效率为37.5%
C
)A.克服物体重力做功7.2J
B.额外功为1.8J
C.物体受到的摩擦力为2.25N
D.斜面的机械效率为37.5%
答案:
C
查看更多完整答案,请扫码查看