6. 在如图所示的电路中,电源电压保持不变,R₁为定值电阻,R₂为滑动变阻器,闭合开关S,当滑动变阻器的滑片向左移动时,下列分析正确的是 ( )

A. 电流表示数变小
B. 电压表V₂示数变大
C. 电压表V₂示数与电流表A示数的比值变小
D. 电压表V₁示数与电流表A示数的乘积变小
A. 电流表示数变小
B. 电压表V₂示数变大
C. 电压表V₂示数与电流表A示数的比值变小
D. 电压表V₁示数与电流表A示数的乘积变小
答案:
C
7. 冬天班级同学用电热暖手宝取暖,某电热暖手宝储水袋内的气压过大或温度过高时均会自动断电停止加热,同时指示灯熄灭。其中R为加热电阻,L为指示灯,S₁为压力开关,气压过大时自动断开,S₂为温控开关,温度过高时自动断开。下列电路中能实现该功能的是 ( )


答案:
D
8. 如图所示是一种自动测定油箱内油面高度的装置,R是滑动变阻器,它的金属滑片是杠杆的一端,且由定位挡板限制只能在电阻上滑动。从油量表(由电流表改装而成)指针所指的刻度,就可以知道油箱内油面的高度h。下列分析正确的是 ( )

A. 油箱内的油越少,流过油量表的电流越大
B. 油箱内的油增加,电流表指针向左偏转
C. 油量表的刻度值从左往右是逐渐减小的
D. 油量表零刻度线与电流表零刻度线不重合
A. 油箱内的油越少,流过油量表的电流越大
B. 油箱内的油增加,电流表指针向左偏转
C. 油量表的刻度值从左往右是逐渐减小的
D. 油量表零刻度线与电流表零刻度线不重合
答案:
D
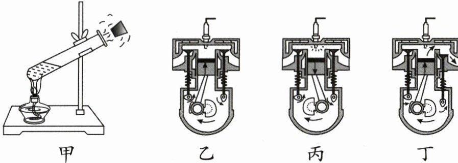
9. 如图甲、乙、丙、丁所示,下列对其过程说法正确的是 ( )

A. 图甲中塞子被冲出时其能量转化与图乙相同
B. 图乙为压缩冲程,过程中机械能转化为内能
C. 图丙为做功冲程,喷油嘴产生电火花使燃料猛烈燃烧
D. 图丁为排气冲程,进气门关闭,排气门打开,把废气排出气缸
A. 图甲中塞子被冲出时其能量转化与图乙相同
B. 图乙为压缩冲程,过程中机械能转化为内能
C. 图丙为做功冲程,喷油嘴产生电火花使燃料猛烈燃烧
D. 图丁为排气冲程,进气门关闭,排气门打开,把废气排出气缸
答案:
BD
查看更多完整答案,请扫码查看