第48页
- 第2页
- 第3页
- 第4页
- 第5页
- 第6页
- 第7页
- 第8页
- 第9页
- 第10页
- 第11页
- 第12页
- 第13页
- 第14页
- 第15页
- 第16页
- 第17页
- 第18页
- 第19页
- 第20页
- 第21页
- 第22页
- 第23页
- 第24页
- 第25页
- 第26页
- 第27页
- 第28页
- 第29页
- 第30页
- 第31页
- 第32页
- 第33页
- 第34页
- 第35页
- 第36页
- 第37页
- 第38页
- 第39页
- 第40页
- 第41页
- 第42页
- 第43页
- 第44页
- 第45页
- 第46页
- 第47页
- 第48页
- 第49页
- 第50页
- 第51页
- 第52页
- 第53页
- 第54页
- 第55页
- 第56页
- 第57页
- 第58页
- 第59页
- 第60页
- 第61页
- 第62页
- 第63页
- 第64页
- 第65页
- 第66页
- 第67页
- 第68页
- 第69页
- 第70页
- 第71页
- 第72页
- 第73页
- 第74页
2. 下列关于连通器的说法正确的是( )。
A. 连通器是上端封闭、下部相连通的容器
B. 锅炉外面水位计中的液面高度总是低于锅炉内的液面高度
C. 连通器里的同一种液体不流动时,各容器中的液面会有高度差
D. 三峡船闸利用了连通器原理
A. 连通器是上端封闭、下部相连通的容器
B. 锅炉外面水位计中的液面高度总是低于锅炉内的液面高度
C. 连通器里的同一种液体不流动时,各容器中的液面会有高度差
D. 三峡船闸利用了连通器原理
答案:
D
3. 装修房屋时,工人师傅常用一根灌有水(水中无气泡)且足够长的透明塑料软管,让其两端靠在墙面的不同地方并作出标记,如图8 - 3 - 5所示。工人师傅这样做的目的是( )。

A. 把水管当刻度尺用
B. 把水管当气压计用
C. 测量两个点的水平距离
D. 找到两个相同高度的点
A. 把水管当刻度尺用
B. 把水管当气压计用
C. 测量两个点的水平距离
D. 找到两个相同高度的点
答案:
D
4. 三峡船闸是世界上最大的人造连通器之一。图8 - 3 - 6是轮船通过船闸的示意图,此时上游阀门A打开,下游阀门B关闭。下列说法正确的是( )。

A. 闸室和上游水道构成连通器,水对阀门A两侧的压力相等
B. 闸室和上游水道构成连通器,水对阀门A右侧的压力大于对左侧的压力
C. 闸室和下游水道构成连通器,水对阀门B右侧的压力大于对左侧的压力
D. 闸室和下游水道构成连通器,水对阀门B两侧的压力相等
A. 闸室和上游水道构成连通器,水对阀门A两侧的压力相等
B. 闸室和上游水道构成连通器,水对阀门A右侧的压力大于对左侧的压力
C. 闸室和下游水道构成连通器,水对阀门B右侧的压力大于对左侧的压力
D. 闸室和下游水道构成连通器,水对阀门B两侧的压力相等
答案:
A
5. 某卫生间地漏的结构如图8 - 3 - 7所示,一个“扣碗”倒扣在存水杯上,存水杯与下水管连接。根据____________原理可知,存水杯左、右两侧水面总是________的。当存水杯中的水满后,水就会从下水管流出,而下水管中的异味则不能通过地漏进入室内,从而达到密封的效果。

答案:
连通器 相平
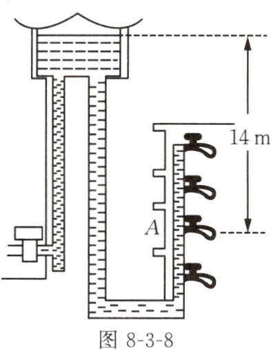
6. 如图8 - 3 - 8所示,水龙头放水时,水管与水塔组成__________;水龙头关闭时,A处水龙头所受的水的压强为__________Pa。(g取10 N/kg,ρ水 = 1.0×10³ kg/m³)

答案:
连通器 1.4×10⁵
查看更多完整答案,请扫码查看