8. (2023·济南)正常情况下,肾小囊腔中的液体与肾小球中的液体相比,缺少的成分是( )
A.尿素、大分子蛋白质
B.血细胞、葡萄糖
C.葡萄糖、大分子蛋白质
D.血细胞、大分子蛋白质
A.尿素、大分子蛋白质
B.血细胞、葡萄糖
C.葡萄糖、大分子蛋白质
D.血细胞、大分子蛋白质
答案:
D
9. 可以通过两条以上途径排泄的代谢终产物有( )
A.二氧化碳、水、无机盐
B.尿素、葡萄糖、无机盐
C.尿素、无机盐、二氧化碳
D.水、尿素、无机盐
A.二氧化碳、水、无机盐
B.尿素、葡萄糖、无机盐
C.尿素、无机盐、二氧化碳
D.水、尿素、无机盐
答案:
D
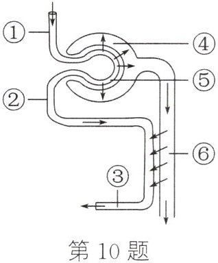
10. (2023·呼伦贝尔)如图为肾单位结构示意图,有关分析正确的是( )

A.血液流经⑤时,只有大分子蛋白质不能进入④
B.原尿中的葡萄糖的重吸收主要发生在②处
C.与①相比,③流出的血液中尿素和氧含量均减少
D.尿素仅通过泌尿系统排出体外
A.血液流经⑤时,只有大分子蛋白质不能进入④
B.原尿中的葡萄糖的重吸收主要发生在②处
C.与①相比,③流出的血液中尿素和氧含量均减少
D.尿素仅通过泌尿系统排出体外
答案:
C 解析:图中的①是入球小动脉、②是出球小动脉、③是肾静脉、④是肾小囊、⑤是肾小球、⑥是肾小管。
11. 如表是某健康人肾动脉中的血浆、肾小囊及肾小管末端液体内甲、乙两种物质的浓度,据此判断,甲、乙分别是( )
|物质|血浆|肾小囊|肾小管末端|
|甲|0.72%|0.75%|1.25%|
|乙|0.1%|0.1%|0|

A.甲可能是尿素,乙是无机盐
B.甲可能是尿素,乙是葡萄糖
C.甲是葡萄糖,乙是尿素
D.甲是蛋白质,乙是葡萄糖
|物质|血浆|肾小囊|肾小管末端|
|甲|0.72%|0.75%|1.25%|
|乙|0.1%|0.1%|0|
A.甲可能是尿素,乙是无机盐
B.甲可能是尿素,乙是葡萄糖
C.甲是葡萄糖,乙是尿素
D.甲是蛋白质,乙是葡萄糖
答案:
B 解析:甲物质在血浆、肾小囊、肾小管末端液体内的含量逐渐增多,应该是无机盐或尿素。血浆、肾小囊中的液体内含有乙物质,肾小管末端的液体内没有乙物质,故乙物质应该是葡萄糖。
12. 学校篮球赛时,运动员们汗流浃背、满脸通红。下列关于汗液分泌排出的说法,正确的是( )
A.汗液是在皮脂腺中形成的
B.汗腺周围没有毛细血管
C.汗液通过血管到达体表被排出
D.排汗具有调节人体体温的作用
A.汗液是在皮脂腺中形成的
B.汗腺周围没有毛细血管
C.汗液通过血管到达体表被排出
D.排汗具有调节人体体温的作用
答案:
D
13. (新情境)神舟十七号航天员在空间站生活时,空间站的水回收系统能收集环境中的水分、汗液甚至尿液,将其转化为饮用水,水回收系统在这个过程中主要去除的是汗液和尿液中的( )
A.葡萄糖和蛋白质
B.无机盐和蛋白质
C.脂肪酸和尿素
D.无机盐和尿素
A.葡萄糖和蛋白质
B.无机盐和蛋白质
C.脂肪酸和尿素
D.无机盐和尿素
答案:
D
14. (核心素养)某同学用橡皮管、球、漏斗、小磁条做了一个肾单位的模型,模型结构如图甲,其中小磁条贴在漏斗下端的内部,且不影响所有类型的小圆珠通过。图乙表示球的内部,在球的水平面有一个塑料隔板,隔板上有很多直径为6mm的圆形小孔。同时准备了三种小圆珠若干,三种小圆珠从a小管处灌入实验装置。请分析并回答问题:

(1)图甲中b模拟的结构是______,c模拟的结构是______,球模拟的结构是______。
(2)漏斗下端有小磁条,能将小铁圆珠吸附,该过程模拟的是尿液形成过程中______。
(3)这位同学预测小塑料圆珠会全部从漏斗下端掉出来,那么小塑料圆珠最可能模拟的物质是______。但是在实验过程中,小塑料圆珠掉下几个后就不再掉下来了,可能的原因是______(写出一个即可)。
(1)图甲中b模拟的结构是______,c模拟的结构是______,球模拟的结构是______。
(2)漏斗下端有小磁条,能将小铁圆珠吸附,该过程模拟的是尿液形成过程中______。
(3)这位同学预测小塑料圆珠会全部从漏斗下端掉出来,那么小塑料圆珠最可能模拟的物质是______。但是在实验过程中,小塑料圆珠掉下几个后就不再掉下来了,可能的原因是______(写出一个即可)。
答案:
(1)肾小囊 肾小管 肾小球 (2)肾小管的重吸收作用 (3)尿素 漏斗管口堵住了(合理答案均可)
查看更多完整答案,请扫码查看