1. 选择。
(1)一个圆柱和一个圆锥体积相等,底面积也相等,如果圆锥的高是9厘米,那么圆柱的高是( )厘米。
A. 3 B. 9 C. 27
(2)两个体积相等的圆锥,它们一定是( )。
A. 底面积和高相等
B. 底面积和高都不相等
C. 底面积和高的积相等
(3)将一个圆柱削成一个最大的圆锥,削去部分的体积是圆锥体积的( )。
A. 3倍 B. 2倍 C. $\frac{1}{3}$
(4)沿着圆锥的高,把圆锥切成大小相等的两半,那么切面是一个( )。
A. 等边三角形 B. 等腰三角形 C. 直角三角形
(1)一个圆柱和一个圆锥体积相等,底面积也相等,如果圆锥的高是9厘米,那么圆柱的高是( )厘米。
A. 3 B. 9 C. 27
(2)两个体积相等的圆锥,它们一定是( )。
A. 底面积和高相等
B. 底面积和高都不相等
C. 底面积和高的积相等
(3)将一个圆柱削成一个最大的圆锥,削去部分的体积是圆锥体积的( )。
A. 3倍 B. 2倍 C. $\frac{1}{3}$
(4)沿着圆锥的高,把圆锥切成大小相等的两半,那么切面是一个( )。
A. 等边三角形 B. 等腰三角形 C. 直角三角形
答案:
(1)A
(2)C
(3)B
(4)B
(1)A
(2)C
(3)B
(4)B
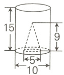
2. 计算下面各图形的体积。(单位:cm)
(1)
(2)
(1)
(2)
答案:
(1)$2210.56\ cm^{3}$
(2)$1118.625\ cm^{3}$
(1)$2210.56\ cm^{3}$
(2)$1118.625\ cm^{3}$
3. 绕着一个圆锥形沙堆的底面边缘走一圈,要走25.12米,量得这堆沙的高是1.5米。如果每立方米沙重1.7吨,这堆沙大约重多少?(得数保留一位小数)
答案:
42.7吨
4. 一个底面直径是24 cm的圆柱形容器里盛满了水,水里浸没了一个底面半径是4 cm的圆锥形铅锤。当把铅锤从水中取出后,水面下降了1 cm,铅锤的高是多少?
答案:
27 cm
口算天天练
$2^{2}=$ $3.14×10=$
$3^{2}=$ $3.14×20=$
$5^{2}=$ $3.14×30=$
$10^{3}=$ $3.14×70=$
$3.14×0.6=$ $3.14×60=$
$2^{2}=$ $3.14×10=$
$3^{2}=$ $3.14×20=$
$5^{2}=$ $3.14×30=$
$10^{3}=$ $3.14×70=$
$3.14×0.6=$ $3.14×60=$
答案:
查看更多完整答案,请扫码查看