1. 长方体有( )个面,可能每个面都是( )形,也可能有两个相对的面是( )形。长方体相对的面( )。
答案:
6@@长方@@正方@@完全相同
2. 长方体中面和面相交的线段叫作( )。长方体有( )条棱,相对的棱长度( )。
答案:
棱@@12@@相等
3. 长方体中棱和棱的交点叫作( )。长方体有( )个顶点,相交于一个顶点的三条棱的长度,分别叫作长方体的( )、( )、( )。
答案:
顶点@@8@@长@@宽@@高
二
1. 这个包装盒的上面和( )面,长( )cm,宽( )cm。
2. 它的右面和( )面,长( )cm,宽( )cm。
3. 它的前面和( )面,长( )cm,宽( )cm。
4. 这个包装盒长( )cm,宽( )cm,高( )cm。
1. 这个包装盒的上面和( )面,长( )cm,宽( )cm。
2. 它的右面和( )面,长( )cm,宽( )cm。
3. 它的前面和( )面,长( )cm,宽( )cm。
4. 这个包装盒长( )cm,宽( )cm,高( )cm。
答案:
下@@20@@10@@左@@10@@5@@后@@20@@5@@20@@10@@5
**三** 制作一个长方体灯罩的框架(如图),至少需要多长的铁丝?
答案:
(15 + 8 + 8)×4 = 124(dm)
答:至少需要124分米的铁丝。
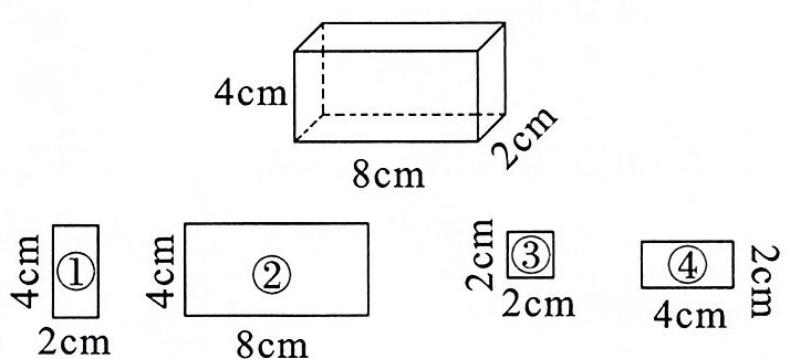
**四** 在下边的平面图形中找出6个面,使它们围成如下图的长方体。


这6个面是( )。
这6个面是( )。
答案:
⑤②④①⑧⑥
**五** 用长160cm的铁丝做一个长方体框架,长方体框架的宽是12cm,高是8cm,长是多少厘米?
答案:
160÷4 - 12 - 8 = 20(cm)
答:长是20cm。
**六** 用一根彩带捆扎一个长方体蛋糕盒(如图),接头处的彩带长25cm。这根彩带长多少厘米?
答案:
50×2 + 40×2 + 30×4 + 25 = 325(cm)
答:这根彩带长325厘米。
查看更多完整答案,请扫码查看