第77页
- 第4页
- 第5页
- 第6页
- 第7页
- 第8页
- 第9页
- 第10页
- 第11页
- 第12页
- 第13页
- 第14页
- 第15页
- 第16页
- 第17页
- 第18页
- 第19页
- 第20页
- 第21页
- 第22页
- 第23页
- 第24页
- 第25页
- 第26页
- 第27页
- 第28页
- 第29页
- 第30页
- 第31页
- 第32页
- 第33页
- 第34页
- 第35页
- 第36页
- 第37页
- 第38页
- 第39页
- 第40页
- 第41页
- 第42页
- 第43页
- 第44页
- 第45页
- 第46页
- 第47页
- 第48页
- 第49页
- 第50页
- 第51页
- 第52页
- 第53页
- 第54页
- 第55页
- 第56页
- 第57页
- 第58页
- 第59页
- 第60页
- 第61页
- 第62页
- 第63页
- 第64页
- 第65页
- 第66页
- 第67页
- 第68页
- 第69页
- 第70页
- 第71页
- 第72页
- 第73页
- 第74页
- 第75页
- 第76页
- 第77页
- 第78页
- 第79页
- 第80页
- 第81页
- 第82页
8.(2024.安徽合肥瑶海区期末)在“探究杠杆平衡条件”的实验中(每个钩码重0.5N),对于以下四种实验过程中出现的情景,说法正确的是 ( )

A.图甲为实验前杠杆静止时的状态,此时杠杆处于非平衡状态
B.图乙在左右两侧钩码下方各增加一个钩码,杠杆仍然能保持平衡
C.图丙中当杠杆在水平位置平衡时,弹簧测力计a、b示数相同
D.图丁中使杠杆在水平位置平衡,弹簧测力计的示数大于3N
A.图甲为实验前杠杆静止时的状态,此时杠杆处于非平衡状态
B.图乙在左右两侧钩码下方各增加一个钩码,杠杆仍然能保持平衡
C.图丙中当杠杆在水平位置平衡时,弹簧测力计a、b示数相同
D.图丁中使杠杆在水平位置平衡,弹簧测力计的示数大于3N
答案:
D
9.某同学在家锻炼身体的情景如图所示。锻炼时是以______(选填“A”或“B”)点为支点,手臂弯曲、伸直交替进行,此时动力是______(填字母)。

答案:
B F
10.“探究杠杆的平衡条件”的实验装置如图所示,实验中使用的钩码规格相同。

(1)挂钩码前,杠杆静止在如图甲所示的位置,此时杠杆处于________(选填“平衡”或“不平衡”)状态。
(2)为了使图甲中的杠杆在水平位置平衡,可以将右侧平衡螺母向______(选填“左”或“右”)调节。
(3)实验中,在杠杆两侧挂上不同数量的钩码(每个钩码重0.5N),第1、2次实验杠杆平衡时的数据已填入表格。图乙是第3次杠杆平衡时的情景,此次杠杆右侧的阻力和阻力臂的数据①为______,②为________。

(4)根据实验数据可得杠杆的平衡条件是________________(用字母表示)。
(5)(数字化实验)得到实验结论后,小星又找来了拉力传感器并与电脑相连,如图丙所示,拉力传感器从杠杆上D位置逐渐向C位置转动,杠杆始终保持水平,电脑通过传感器采集的数据绘制了如图丁所示的拉力−时间图像,请你分析传感器拉力变化的原因:____________。
(1)挂钩码前,杠杆静止在如图甲所示的位置,此时杠杆处于________(选填“平衡”或“不平衡”)状态。
(2)为了使图甲中的杠杆在水平位置平衡,可以将右侧平衡螺母向______(选填“左”或“右”)调节。
(3)实验中,在杠杆两侧挂上不同数量的钩码(每个钩码重0.5N),第1、2次实验杠杆平衡时的数据已填入表格。图乙是第3次杠杆平衡时的情景,此次杠杆右侧的阻力和阻力臂的数据①为______,②为________。
(4)根据实验数据可得杠杆的平衡条件是________________(用字母表示)。
(5)(数字化实验)得到实验结论后,小星又找来了拉力传感器并与电脑相连,如图丙所示,拉力传感器从杠杆上D位置逐渐向C位置转动,杠杆始终保持水平,电脑通过传感器采集的数据绘制了如图丁所示的拉力−时间图像,请你分析传感器拉力变化的原因:____________。
答案:
(1)平衡
(2)右
(3)1 0.15
(4)F₁l₁ = F₂l₂
(5)拉力力臂变小,根据杠杆的平衡条件,阻力和阻力臂不变,动力臂变小,则动力变大
(1)平衡
(2)右
(3)1 0.15
(4)F₁l₁ = F₂l₂
(5)拉力力臂变小,根据杠杆的平衡条件,阻力和阻力臂不变,动力臂变小,则动力变大
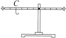
11.现有一个量程为0~3N的弹簧测力计,若干个50g的钩码,钩码挂在C点处,如图所示,若使用弹簧测力计和钩码使杠杆在水平位置平衡,则在C点处所挂钩码的数量最多为______个。(不计杠杆自身重力和一切摩擦,g取10N/kg)

答案:
9
查看更多完整答案,请扫码查看