9. 根据如图甲所示的电路图,用笔画线代替导线将图乙中的电路元件连接起来。

答案:
9. 如图所示。
9. 如图所示。
10. 小汽车上大多装有一个指示灯,用它来提醒司机车门是否关好。四个车门中只要有一个车门没关好(相当于一个开关断开),该指示灯就会发光。下面为四位同学设计的模拟电路图,其中最符合上述要求的是( )

答案:
10. D
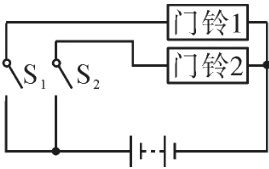
11. 如图甲所示为某小区单元防盗门上的楼宇对讲装置,在楼下按下对应住户的号码按钮(相当于开关),该住户家中的门铃就会发出声音。如图乙所示为其电路原理图,请将它连接完整。

答案:
11. 如图所示。
11. 如图所示。
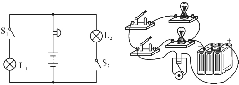
12. 实验室里有一个电池组,两只小灯泡$L_1$和$L_2,$两个开关$S_1$和$S_2,$导线若干。请你设计一个电路,要求:当$S_1、$$S_2$都闭合时,两灯均发光;若只闭合$S_1,$则仅$L_1$发光;断开$S_1、$闭合$S_2$时两灯均不发光。请在下面的虚线框中画出电路图。

答案:
12. 如图所示。
12. 如图所示。
13. 学校要举办科普知识竞赛,请你设计一个抢答器,要求:不论哪一组按开关,主持台上的电铃都要响,而且用不同的灯泡告诉主持人是第几组按的开关。请按上述要求在虚线框中画出电路图并连接实物图。

答案:
13. 如图所示。
13. 如图所示。
查看更多完整答案,请扫码查看