第69页
- 第1页
- 第2页
- 第3页
- 第4页
- 第5页
- 第6页
- 第7页
- 第8页
- 第9页
- 第10页
- 第11页
- 第12页
- 第13页
- 第14页
- 第15页
- 第16页
- 第17页
- 第18页
- 第19页
- 第20页
- 第21页
- 第22页
- 第23页
- 第24页
- 第25页
- 第26页
- 第27页
- 第28页
- 第29页
- 第30页
- 第31页
- 第32页
- 第33页
- 第34页
- 第35页
- 第36页
- 第37页
- 第38页
- 第39页
- 第40页
- 第41页
- 第42页
- 第43页
- 第44页
- 第45页
- 第46页
- 第47页
- 第48页
- 第49页
- 第50页
- 第51页
- 第52页
- 第53页
- 第54页
- 第55页
- 第56页
- 第57页
- 第58页
- 第59页
- 第60页
- 第61页
- 第62页
- 第63页
- 第64页
- 第65页
- 第66页
- 第67页
- 第68页
- 第69页
- 第70页
- 第71页
- 第72页
- 第73页
- 第74页
- 第75页
- 第76页
- 第77页
- 第78页
- 第79页
- 第80页
- 第81页
- 第82页
- 第83页
- 第84页
- 第85页
- 第86页
- 第87页
- 第88页
- 第89页
- 第90页
- 第91页
- 第92页
- 第93页
8. (徐州)水是一种重要的资源,在一定条件下分解的微观示意图如下。下列说法正确的是 (

A. 水是由氢气和氧气组成的
B. 丙物质在空气中燃烧产生蓝紫色火焰
C. 该化学反应前后分子的总数保持不变
D. 参加反应的甲和生成的乙质量比为$9:8$
D
)A. 水是由氢气和氧气组成的
B. 丙物质在空气中燃烧产生蓝紫色火焰
C. 该化学反应前后分子的总数保持不变
D. 参加反应的甲和生成的乙质量比为$9:8$
答案:
D
9. 下列化学用语关于数字“3”的意义,说法正确的是 (
①$3Hg$ ②$Fe^{3+}$ ③$SO_{3}$ ④$3H_{2}O$
A. 表示分子个数的是③
B. 表示离子所带电荷数的是②
C. 表示原子个数的是④
D. 表示一个分子中含有某种原子个数的是①
B
)①$3Hg$ ②$Fe^{3+}$ ③$SO_{3}$ ④$3H_{2}O$
A. 表示分子个数的是③
B. 表示离子所带电荷数的是②
C. 表示原子个数的是④
D. 表示一个分子中含有某种原子个数的是①
答案:
B
10. (徐州)生活中常对一些场所进行消毒以保障人体健康。下列关于几种消毒剂的叙述正确的是 (
A. 二氧化氯$(ClO_{2})$由 1 个氯原子和 1 个氧分子构成
B. 次氯酸钙$[Ca(ClO)_{2}]$中氯元素的化合价为+1 价
C. 正丙醇$(C_{3}H_{8}O)$的相对分子质量为 60 g
D. 过氧乙酸$(C_{2}H_{4}O_{3})$中碳、氢、氧元素的质量比为$2:4:3$
B
)A. 二氧化氯$(ClO_{2})$由 1 个氯原子和 1 个氧分子构成
B. 次氯酸钙$[Ca(ClO)_{2}]$中氯元素的化合价为+1 价
C. 正丙醇$(C_{3}H_{8}O)$的相对分子质量为 60 g
D. 过氧乙酸$(C_{2}H_{4}O_{3})$中碳、氢、氧元素的质量比为$2:4:3$
答案:
B
11. (恩施改编)请你用化学用语填空。
(1) 氯化钠中阳离子的符号
(2) 标出二氧化锰中锰元素的化合价
(3) 保持水的化学性质的最小微粒为
(4) 每个白磷分子由 4 个磷原子构成,白磷的化学式为
(1) 氯化钠中阳离子的符号
${Na^{+}}$
。(2) 标出二氧化锰中锰元素的化合价
$\overset{+4}{{MnO_{2}}}$
。(3) 保持水的化学性质的最小微粒为
${H_{2}O}$
。(4) 每个白磷分子由 4 个磷原子构成,白磷的化学式为
${P_{4}}$
。
答案:
(1) ${Na^{+}}$
(2) $\overset{+4}{{MnO_{2}}}$
(3) ${H_{2}O}$
(4) ${P_{4}}$
(1) ${Na^{+}}$
(2) $\overset{+4}{{MnO_{2}}}$
(3) ${H_{2}O}$
(4) ${P_{4}}$
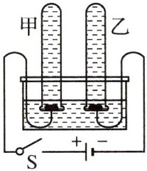
12. (恩施)右图是电解水的简易装置,请回答下列问题。

(1) 实验时常在水槽中加入少量硫酸钠或氢氧化钠的目的是
(2) 闭合开关,通电一段时间后,甲、乙两试管内的气体体积比约为
(3) 本实验除了能证明水是由氢、氧元素组成外,还可验证水分子的微观构成是
(1) 实验时常在水槽中加入少量硫酸钠或氢氧化钠的目的是
增强水的导电性
。(2) 闭合开关,通电一段时间后,甲、乙两试管内的气体体积比约为
1:2
。(3) 本实验除了能证明水是由氢、氧元素组成外,还可验证水分子的微观构成是
水分子是由氢原子和氧原子构成的
。
答案:
(1) 增强水的导电性
(2) $1:2$
(3) 水分子是由氢原子和氧原子构成的
(1) 增强水的导电性
(2) $1:2$
(3) 水分子是由氢原子和氧原子构成的
13. 化肥对提高农作物的产量具有重要作用。硝酸铵$(NH_{4}NO_{3})$是一种常见的氮肥。请回答下列问题。
(1) 硝酸铵由
(2) 硝酸铵中氮元素和氧元素的质量比为
(3) 若硝酸铵中含有 2.8 g 氮元素,则该硝酸铵的质量为
(1) 硝酸铵由
3
(填数字)种元素组成。(2) 硝酸铵中氮元素和氧元素的质量比为
7:12
(填最简整数比)。(3) 若硝酸铵中含有 2.8 g 氮元素,则该硝酸铵的质量为
8
g。
答案:
(1) 3
(2) $7:12$
(3) 8
(1) 3
(2) $7:12$
(3) 8
查看更多完整答案,请扫码查看