1.填空。(主要对应目标6101、6105)
(1)
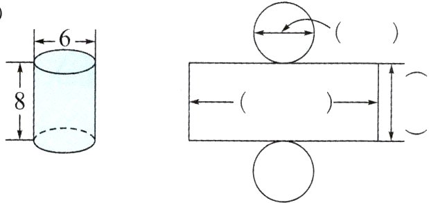
①根据上图中的数据完成填空。(单位:dm)
②把圆柱的侧面沿高展开得到了一个( ),这个图形的长相当于圆柱的( ),宽相当于圆柱的( )。圆柱的底面积是( )dm²²,侧面积是( )dm²,表面积是( )dm²。
(2)一个圆柱的底面半径是3dm,高是4dm,这个圆柱的侧面积是( )dm²,表面积是( )dm²。
(3)一个底面半径是1dm的圆柱,把它的侧面沿高展开得到一个正方形,它的侧面积是( )dm²。
(1)
①根据上图中的数据完成填空。(单位:dm)
②把圆柱的侧面沿高展开得到了一个( ),这个图形的长相当于圆柱的( ),宽相当于圆柱的( )。圆柱的底面积是( )dm²²,侧面积是( )dm²,表面积是( )dm²。
(2)一个圆柱的底面半径是3dm,高是4dm,这个圆柱的侧面积是( )dm²,表面积是( )dm²。
(3)一个底面半径是1dm的圆柱,把它的侧面沿高展开得到一个正方形,它的侧面积是( )dm²。
答案:
(1) ① 6 18.84 8
② 长方形 底面周长 高 28.26 150.72 207.24
(2) 75.36 131.88
(3) 39.4384
(1) ① 6 18.84 8
② 长方形 底面周长 高 28.26 150.72 207.24
(2) 75.36 131.88
(3) 39.4384
2.判断。(对应主要目标:6105)
(1)两个侧面积相等的圆柱,它们的底面积也一定相等。 ( )
(2)圆柱的表面积=侧面积十底面积 ( )
(3)圆柱的底面周长一定,圆柱的高越长,它的侧面积就越大。 ( )
(4)圆柱的底面直径不变,如果高扩大到原来的2倍,则它的侧面积和表面积都扩大到原来的2倍。 ( )
(1)两个侧面积相等的圆柱,它们的底面积也一定相等。 ( )
(2)圆柱的表面积=侧面积十底面积 ( )
(3)圆柱的底面周长一定,圆柱的高越长,它的侧面积就越大。 ( )
(4)圆柱的底面直径不变,如果高扩大到原来的2倍,则它的侧面积和表面积都扩大到原来的2倍。 ( )
答案:
(1) ×
(2) ×
(3) √
(4) ×
(1) ×
(2) ×
(3) √
(4) ×
3.新情境每年的4月22日是“世界地球日”,旨在提高民众对现有环境问题的关注,并动员民众参与到环保运动中,通过绿色低碳生活,改善地球的整体环境。前进路小学举行“爱护
圆柱的表面积(1)
地球,从我做起”的活动,每个班级制作了一个底面半径为50cm,高1m的圆柱形环保箱(有盖)用来收集废纸。(主要对应目标:6105)
(1)在环保箱的侧面贴上环保标语,需要贴的面积有多大?(围一圈,接头不计)
(2)制作这个环保箱至少要用多少平方米的材料?
圆柱的表面积(1)
地球,从我做起”的活动,每个班级制作了一个底面半径为50cm,高1m的圆柱形环保箱(有盖)用来收集废纸。(主要对应目标:6105)
(1)在环保箱的侧面贴上环保标语,需要贴的面积有多大?(围一圈,接头不计)
(2)制作这个环保箱至少要用多少平方米的材料?
答案:
(1) 50cm = 0.5m
3.14×0.5×2×1 = 3.14(m²)
(2) 3.14×0.5²×2 + 3.14 = 4.71(m²)
(1) 50cm = 0.5m
3.14×0.5×2×1 = 3.14(m²)
(2) 3.14×0.5²×2 + 3.14 = 4.71(m²)
4.一个有盖的圆柱形茶叶盒,高31.4cm,将它的侧面沿高展开正好是一个正方形,制作这个茶叶盒至少需要多少平方厘米的铁皮?(结果保留整数)(主要对应目标:6101、6105)
答案:
31.4÷3.14÷2 = 5(cm)
31.4×31.4 + 3.14×5²×2 ≈ 1143(cm²)
31.4×31.4 + 3.14×5²×2 ≈ 1143(cm²)
5.新情境十字路口的交警指挥台共有2层,每层的高度是25cm,直径分别是100cm和80cm。这个交警指挥台露在外面的面积是多少?(主要对应目标:6105、6107)
答案:
3.14×100×25 + 3.14×(100÷2)² = 15700(cm²)
3.14×80×25 = 6280(cm²)
15700 + 6280 = 21980(cm²)
3.14×80×25 = 6280(cm²)
15700 + 6280 = 21980(cm²)
查看更多完整答案,请扫码查看