第17页
- 第1页
- 第2页
- 第3页
- 第4页
- 第5页
- 第6页
- 第7页
- 第8页
- 第9页
- 第10页
- 第11页
- 第12页
- 第13页
- 第14页
- 第15页
- 第16页
- 第17页
- 第18页
- 第19页
- 第20页
- 第21页
- 第22页
- 第23页
- 第24页
- 第25页
- 第26页
- 第27页
- 第28页
- 第29页
- 第30页
- 第31页
- 第32页
- 第33页
- 第34页
- 第35页
- 第36页
- 第37页
- 第38页
- 第39页
- 第40页
- 第41页
- 第42页
- 第43页
- 第44页
- 第45页
- 第46页
- 第47页
- 第48页
- 第49页
- 第50页
- 第51页
- 第52页
- 第53页
- 第54页
- 第55页
- 第56页
- 第57页
- 第58页
- 第59页
- 第60页
- 第61页
- 第62页
- 第63页
- 第64页
- 第65页
- 第66页
- 第67页
- 第68页
- 第69页
- 第70页
- 第71页
- 第72页
- 第73页
- 第74页
- 第75页
- 第76页
- 第77页
- 第78页
- 第79页
- 第80页
- 第81页
- 第82页
- 第83页
- 第84页
- 第85页
- 第86页
- 第87页
- 第88页
- 第89页
- 第90页
- 第91页
- 第92页
- 第93页
- 第94页
- 第95页
- 第96页
- 第97页
- 第98页
- 第99页
- 第100页
- 第101页
6.[新课标·科学论证](2024山东潍坊潍城期中,3,★☆☆)下列不借助工具在水平地面上无法保持的动作是(P8202002) ( )
答案:
A选项中,人受到重力和地面对脚的支持力,由图可知支持力和重力的作用线不可能在同一直线上,所以人在这两个力的作用下不可能平衡,故A符合题意。
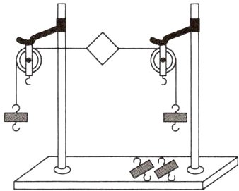
7.(2022江苏南通崇川期中,22节选,★☆☆)用如图所示的装置探究“二力平衡的条件”。(P8202003)
(1)以卡片作为研究对象,在线的两端分别挂上适量的钩码(每个钩码质量均为50 g),对卡片施加两个拉力,则所选卡片质量最合适的是______。
A.5 g
B.10 g
C.50 g
D.100 g
(2)将系于小卡片两对角的细线分别跨过左右支架上的滑轮,在细线的两端挂上钩码,使作用在小卡片上的两个拉力方向______,并通过调整______来改变拉力的大小。
(3)在卡片平衡时,用剪刀将卡片从中间剪开,并观察实验现象,由此可得出二力平衡的一个条件是____________________。
(1)以卡片作为研究对象,在线的两端分别挂上适量的钩码(每个钩码质量均为50 g),对卡片施加两个拉力,则所选卡片质量最合适的是______。
A.5 g
B.10 g
C.50 g
D.100 g
(2)将系于小卡片两对角的细线分别跨过左右支架上的滑轮,在细线的两端挂上钩码,使作用在小卡片上的两个拉力方向______,并通过调整______来改变拉力的大小。
(3)在卡片平衡时,用剪刀将卡片从中间剪开,并观察实验现象,由此可得出二力平衡的一个条件是____________________。
答案:
(1)A
(2)相反 钩码个数
(3)两个力作用在同一个物体上
解析
(1)为了减小实验误差,卡片的质量越小越好,卡片质量选择5g;
(2)小卡片两端通过细线各挂一个钩码,两个钩码由于受到重力,通过细线对小卡片施加了两个方向相反的拉力;拉力的大小等于钩码的重力大小,钩码的数量越多,拉力就越大,所以通过调整钩码的个数来调整拉力的大小;
(3)当小卡片平衡时,用剪刀将卡片从中间剪开,由于两边细线的拉力不作用在同一物体上,所以两侧钩码落下,说明二力平衡的一个条件是两个力作用在同一物体上。
(1)A
(2)相反 钩码个数
(3)两个力作用在同一个物体上
解析
(1)为了减小实验误差,卡片的质量越小越好,卡片质量选择5g;
(2)小卡片两端通过细线各挂一个钩码,两个钩码由于受到重力,通过细线对小卡片施加了两个方向相反的拉力;拉力的大小等于钩码的重力大小,钩码的数量越多,拉力就越大,所以通过调整钩码的个数来调整拉力的大小;
(3)当小卡片平衡时,用剪刀将卡片从中间剪开,由于两边细线的拉力不作用在同一物体上,所以两侧钩码落下,说明二力平衡的一个条件是两个力作用在同一物体上。
8.(2023安徽亳州期中,22,★☆☆)“绿色环保,低碳出行”,目前国家在大力推广新能源汽车的使用。如图所示是我省某一家汽车厂家生产的一款纯电动汽车,其质量为1 670 kg,g取10 N/kg。则:
(1)该车的重力为多少?
(2)该车在水平路面上匀速直线行驶时受到的阻力为车重的0.02倍,则该车匀速直线行驶时的牵引力为多少?
(1)该车的重力为多少?
(2)该车在水平路面上匀速直线行驶时受到的阻力为车重的0.02倍,则该车匀速直线行驶时的牵引力为多少?
答案:
解析
(1)已知汽车的质量m=1670kg,则该车所受重力G=mg=1670kg×10N/kg=1.67×10⁴N;
(2)该车在水平路面上匀速直线行驶时受到的阻力为车重的0.02倍,则f=0.02G=0.02×1.67×10⁴N=334N,因为该车匀速直线行驶时,受到的牵引力和阻力是一对平衡力,所以两者大小相等,即F=f=334N。
(1)已知汽车的质量m=1670kg,则该车所受重力G=mg=1670kg×10N/kg=1.67×10⁴N;
(2)该车在水平路面上匀速直线行驶时受到的阻力为车重的0.02倍,则f=0.02G=0.02×1.67×10⁴N=334N,因为该车匀速直线行驶时,受到的牵引力和阻力是一对平衡力,所以两者大小相等,即F=f=334N。
9.[新课标·质疑创新]如图甲是街头魔术“人体悬空”,神奇的表演让观众啧啧称奇,倍感神秘,但图乙的场景又让人大跌眼镜。原来魔术表演者旁边有一根钢管,钢管延伸出来的短板正好可以让他坐在上面。不过这样也是非常耗费体力的,难怪表演者坚持了不久就因体力不支而站起。请根据甲、乙两图,写一句评论,表明在该魔术中物理规律是否“失效”,并作简单说明:______________________________。
答案:
该魔术中,物理规律没有失效,表演者悬空静止时受到重力和支持力的共同作用,处于平衡状态(或该表演者只受到重力一个力时不可能保持悬空静止)。
查看更多完整答案,请扫码查看