第29页
- 第1页
- 第2页
- 第3页
- 第4页
- 第5页
- 第6页
- 第7页
- 第8页
- 第9页
- 第10页
- 第11页
- 第12页
- 第13页
- 第14页
- 第15页
- 第16页
- 第17页
- 第18页
- 第19页
- 第20页
- 第21页
- 第22页
- 第23页
- 第24页
- 第25页
- 第26页
- 第27页
- 第28页
- 第29页
- 第30页
- 第31页
- 第32页
- 第33页
- 第34页
- 第35页
- 第36页
- 第37页
- 第38页
- 第39页
- 第40页
- 第41页
- 第42页
- 第43页
- 第44页
- 第45页
- 第46页
- 第47页
- 第48页
- 第49页
- 第50页
- 第51页
- 第52页
- 第53页
- 第54页
- 第55页
- 第56页
- 第57页
- 第58页
- 第59页
- 第60页
- 第61页
- 第62页
- 第63页
- 第64页
- 第65页
- 第66页
- 第67页
- 第68页
- 第69页
- 第70页
- 第71页
- 第72页
- 第73页
- 第74页
- 第75页
- 第76页
- 第77页
- 第78页
- 第79页
- 第80页
- 第81页
- 第82页
- 第83页
- 第84页
- 第85页
- 第86页
- 第87页
- 第88页
- 第89页
- 第90页
- 第91页
- 第92页
5.【回归教材·图片改编】下列实验方案不能达到目的的是 ( )

答案:
C
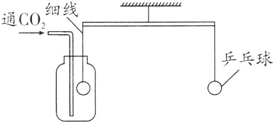
6.【跨学科·物理】(2023宜宾)如图,杠杆已调至平衡,向集气瓶内缓慢通入一定量的CO₂气体,稍后再倒入浓NaOH溶液(液面不接触乒乓球)。下列说法正确的是 ( )
A. 通入CO₂气体后,左端乒乓球下降
B. 整个过程中乒乓球位置始终没有变化
C. 倒入浓NaOH溶液后,杠杆逐渐恢复原状
D. 其他条件不变,将CO₂换成H₂会产生同样现象
A. 通入CO₂气体后,左端乒乓球下降
B. 整个过程中乒乓球位置始终没有变化
C. 倒入浓NaOH溶液后,杠杆逐渐恢复原状
D. 其他条件不变,将CO₂换成H₂会产生同样现象
答案:
C
7.【练新考法】[项目式学习](2024威海改编)二氧化碳的资源化利用是指将二氧化碳转化为有价值的产品或材料的过程,以减少其对环境的负面影响并实现其经济价值。兴趣小组同学对二氧化碳资源化利用的途径进行以下研究。
途径一:培养海水藻类
(1)海水藻类通过光合作用可以转化二氧化碳,发生反应的化学方程式是6CO₂ + 6X\xlongequal[叶绿体]{光}C₆H₁₂O₆ + 6O₂,则X的化学式为________。
途径二:制取乙醇
(2)化工产业中,常用原子经济百分比来衡量工艺效率,公式:原子经济百分比 = \frac{产品的质量}{生成物的总质量}×100% 。我国科学家首次实现二氧化碳和氢气在一定条件下直接合成乙醇,该反应同时生成水,写出反应的化学方程式:______________________________,其原子经济百分比是________。
途径三:合成可降解塑料
(3)使用可降解塑料代替聚乙烯等塑料可以解决的环境问题是____________。
(4)践行绿色理念,共建美丽家园。下列做法正确的是______(填字母序号)。
A. 作物秸秆发酵制沼气
B. 生活垃圾分类处理
C. 废弃电池深埋地下
D. 大力发展燃煤发电
途径一:培养海水藻类
(1)海水藻类通过光合作用可以转化二氧化碳,发生反应的化学方程式是6CO₂ + 6X\xlongequal[叶绿体]{光}C₆H₁₂O₆ + 6O₂,则X的化学式为________。
途径二:制取乙醇
(2)化工产业中,常用原子经济百分比来衡量工艺效率,公式:原子经济百分比 = \frac{产品的质量}{生成物的总质量}×100% 。我国科学家首次实现二氧化碳和氢气在一定条件下直接合成乙醇,该反应同时生成水,写出反应的化学方程式:______________________________,其原子经济百分比是________。
途径三:合成可降解塑料
(3)使用可降解塑料代替聚乙烯等塑料可以解决的环境问题是____________。
(4)践行绿色理念,共建美丽家园。下列做法正确的是______(填字母序号)。
A. 作物秸秆发酵制沼气
B. 生活垃圾分类处理
C. 废弃电池深埋地下
D. 大力发展燃煤发电
答案:
(1)$H_{2}O$
(2)$2CO_{2}+6H_{2}\xlongequal{一定条件}C_{2}H_{5}OH+3H_{2}O$ 46%
(3)白色污染
(4)AB
(1)$H_{2}O$
(2)$2CO_{2}+6H_{2}\xlongequal{一定条件}C_{2}H_{5}OH+3H_{2}O$ 46%
(3)白色污染
(4)AB
8. (2024广东惠州三模改编)CO₂捕获和转化可减少CO₂排放并实现资源利用。工业上一种利用NaOH溶液实现“碳捕集”技术的流程如图所示。
(1)大气中二氧化碳含量过高时会加剧________________。
(2)高温反应室中发生反应的化学方程式为______________________________。
(3)流程中可循环利用的物质有______________________________。
(4)CO₂捕捉室不用饱和澄清石灰水的原因是______________________________。
(1)大气中二氧化碳含量过高时会加剧________________。
(2)高温反应室中发生反应的化学方程式为______________________________。
(3)流程中可循环利用的物质有______________________________。
(4)CO₂捕捉室不用饱和澄清石灰水的原因是______________________________。
答案:
(1)温室效应
(2)$CaCO_{3}\xlongequal{高温}CaO+CO_{2}\uparrow$
(3)氧化钙和氢氧化钠溶液
(4)氢氧化钙微溶于水,则饱和澄清石灰水中含氢氧化钙的量很少,吸收二氧化碳的量也很少
(1)温室效应
(2)$CaCO_{3}\xlongequal{高温}CaO+CO_{2}\uparrow$
(3)氧化钙和氢氧化钠溶液
(4)氢氧化钙微溶于水,则饱和澄清石灰水中含氢氧化钙的量很少,吸收二氧化碳的量也很少
查看更多完整答案,请扫码查看