6.笔记本电脑在人们日常生活中起着重要的作用。右面是一笔记本电脑的侧面图,用与电脑屏幕垂直的力F掀开屏幕到竖直位置的过程中,力F

变小
(填“变大”“不变”或“变小”);若笔记本电脑屏幕质量为500g,由图可知此时推力F=1.25
N。(不计屏幕与转轴的阻力,g取10N/kg)
答案:
6.变小 1.25
7.安全阀常作为超压保护装置。右面为利用杠杆原理设计的锅炉安全阀示意图,安全阀的横截面积S为$6cm^{2}$,$OA:AB=1:2$。若锅炉能承受的最大压强为$5.81×10^{5}Pa$,大气压强为$1.01×10^{5}Pa$,则在B处应挂N的重物。若锅炉承受的最大压强减小,为保证锅炉安全,应将重物向(填“左”或“右”)移动。

答案:
7.96 右
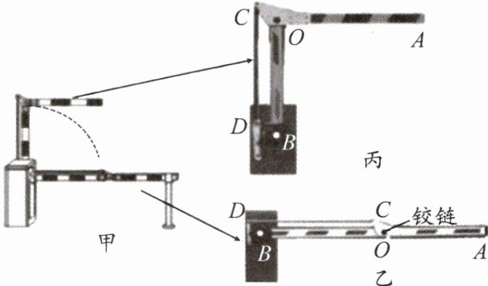
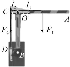
8.某车库出口处的“两段式道闸”开启过程如图甲所示。AO和OB是两段栏杆,长均为2m、质量均为5kg(质量分布均匀),两段栏杆之间以轻质铰链连接,使AO能绕O转动。CD为轻质连杆,B是电机带动栏杆转动的中心点,如图乙所示。当道闸开启时,电机带动水平的AOB和CD转动,道闸完全开启后,AO水平,OB竖直,CD竖直,如图丙所示。此时CD与OB之间距离为5cm。(不计一切摩擦,g取10N/kg)

(1)如图丙所示,AO重力的力臂是
(2)如图丙所示,CD对铰链的拉力是多少?
(3)AOB由图乙位置到图丙位置,电机至少要对AOB做多少功?
(1)如图丙所示,AO重力的力臂是
1
m。(2)如图丙所示,CD对铰链的拉力是多少?
(3)AOB由图乙位置到图丙位置,电机至少要对AOB做多少功?
答案:
8.
(1)1
(2)如图所示,根据杠杆平衡条件可得:$F_1l_1 = F_2l_2$,$F_2 = \frac{F_1l_1}{l_2} = \frac{G_{OA} × \frac{1}{2}L_{OA}}{0.05m} = \frac{m_{OA}g × \frac{1}{2}L_{OA}}{0.05m} = \frac{5kg × 10N/kg × 1m}{0.05m} = 1000N$。
(3)电机至少要做的功就是克服$AOB$重力要做的功。对$AO$段做功:$W_1 = G_{AO}h_1 = m_{AO}g × L_{OB} = 5kg × 10N/kg × 2m = 100J$。对$OB$段做功:$W_2 = G_{OB}h_2 = m_{OB}g × \frac{1}{2}L_{OB} = 5kg × 10N/kg × 1m = 50J$。电机至少要做的功为:$W_{总} = W_1 + W_2 = 100J + 50J = 150J$。
8.
(1)1
(2)如图所示,根据杠杆平衡条件可得:$F_1l_1 = F_2l_2$,$F_2 = \frac{F_1l_1}{l_2} = \frac{G_{OA} × \frac{1}{2}L_{OA}}{0.05m} = \frac{m_{OA}g × \frac{1}{2}L_{OA}}{0.05m} = \frac{5kg × 10N/kg × 1m}{0.05m} = 1000N$。
(3)电机至少要做的功就是克服$AOB$重力要做的功。对$AO$段做功:$W_1 = G_{AO}h_1 = m_{AO}g × L_{OB} = 5kg × 10N/kg × 2m = 100J$。对$OB$段做功:$W_2 = G_{OB}h_2 = m_{OB}g × \frac{1}{2}L_{OB} = 5kg × 10N/kg × 1m = 50J$。电机至少要做的功为:$W_{总} = W_1 + W_2 = 100J + 50J = 150J$。
查看更多完整答案,请扫码查看