2025年暑假作业明天出版社高一生物
注:目前有些书本章节名称可能整理的还不是很完善,但都是按照顺序排列的,请同学们按照顺序仔细查找。练习册 2025年暑假作业明天出版社高一生物 答案主要是用来给同学们做完题方便对答案用的,请勿直接抄袭。
1. 下列关于光合作用的叙述,正确的是(
A.绿色植物所有的细胞都能进行光合作用
B.光合作用的产物既有有机物,也有无机物
C.光合作用的光反应只在光下进行,暗反应只在黑暗中进行
D.光合作用的暗反应需要酶,光反应不需要酶
B
)A.绿色植物所有的细胞都能进行光合作用
B.光合作用的产物既有有机物,也有无机物
C.光合作用的光反应只在光下进行,暗反应只在黑暗中进行
D.光合作用的暗反应需要酶,光反应不需要酶
答案:
B 绿色植物含有叶绿体的细胞才能进行光合作用,A错误;光合作用的产物中糖类等是有机物,O₂是无机物,B正确;光合作用的光反应需要光,只在白天进行,暗反应有光无光都能进行,C错误;光合作用的光反应和暗反应都需要酶,D错误。
2. 下图是绿色植物光合作用过程示意图。下列与此图相关的说法错误的是(
A.如果A代表某结构,则A为类囊体
B.形成C、D的过程发生在叶绿体基质中
C.突然降低环境中$CO_2$浓度,B的产生速率下降
$D.C_3$中不仅有来自$CO_2$中的碳,也有来自$CO_2$中的氧
B
)A.如果A代表某结构,则A为类囊体
B.形成C、D的过程发生在叶绿体基质中
C.突然降低环境中$CO_2$浓度,B的产生速率下降
$D.C_3$中不仅有来自$CO_2$中的碳,也有来自$CO_2$中的氧
答案:
B 结构图A上发生的是光反应的场所,结构A表示的是类囊体,A正确;光反应阶段类囊体上的色素吸收的光能一部分被用来进行水的光解形成氧气和NADPH,一部分用来形成ATP,形成C、D的过程发生在类囊体上,B错误;突然降低环境中的CO₂浓度,暗反应减弱,光反应也随之减弱,所以氧气的产生速率会下降,C正确;CO₂中的碳和氧均参与了三碳化合物的合成,所以C₃中不仅有来自CO₂中的碳,也有来自CO₂中的氧,D正确。
3. 离体的叶绿体在光照下进行稳定光合作用时,如果突然中断$CO_2$气体的供应,短时间内叶绿体中$C_3$化合物与$C_5$化合物相对含量的变化是(
A
)
答案:
A 突然中断CO₂气体的供应,导致消耗的C₅化合物减少,所以C₅化合物的含量在短时间内上升;而合成C₃化合物的原料减少,所以短时间内C₃化合物的含量下降,A正确。
4. 用$^1^4C$标记的$^1^4CO_2$供小球藻进行光合作用,然后追踪检测其放射性。表示$^1^4C$转移途径最恰当的是(
D
)
答案:
D CO₂参加光合作用的暗反应,与C₅固定生成C₃,C₃与光反应提供的NADPH和ATP反应,生成(CH₂O)和C₅,D正确。
5. 已知某植物光合作用和呼吸作用的最适温度分别为25℃和30℃。下图表示该植物在25℃时光合作用强度与光照强度的关系。若将温度提高到30℃的条件下(其他条件不变),从理论上讲,图中相应点的移动应该是(

A.a点上移,b点左移,m点上移
B.a点不移,b点左移,m点不移
C.a点下移,b点右移,m点下移
D.a点下移,b点不移,m点上移
C
)A.a点上移,b点左移,m点上移
B.a点不移,b点左移,m点不移
C.a点下移,b点右移,m点下移
D.a点下移,b点不移,m点上移
答案:
C 温度由25℃升高到30℃,对于呼吸作用而言,达到最适温度,呼吸速率增大;对于光合作用而言,超过最适温度,光合速率下降。因此,a点因呼吸作用加强而往下移;b点为光补偿点,一方面呼吸作用加强,需较强的光照强度才能产生与呼吸作用消耗量相当的有机物,另一方面光合速率下降,产生有机物的速率也下降,也需较强的光照强度才能产生与原来等量的有机物,所以b点右移;m点是光合作用最适温度,酶活性下降,光合作用强度降低,温度超过,故选用。
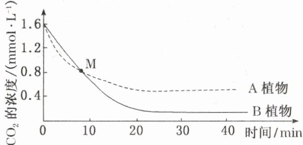
6. 将长势一致的A、B两种植物分别置于两个同样大小密闭的透明容器内,给予充足的光照、适宜的温度等条件,每隔5min测定一次小室中的$CO_2$浓度,结果如下图所示。下列有关叙述错误的是(

A.在较低$CO_2$浓度的环境中,B植物固定$CO_2$的能力比A植物强
B.10min之前,B植物光合作用消耗的$CO_2$量大于呼吸作用产生的$CO_2$量
C.在两条曲线交点M处两植物的固定$CO_2$速率相等
D.20min以后,A、B两种植物光合作用强度都与呼吸作用强度相等
C
)A.在较低$CO_2$浓度的环境中,B植物固定$CO_2$的能力比A植物强
B.10min之前,B植物光合作用消耗的$CO_2$量大于呼吸作用产生的$CO_2$量
C.在两条曲线交点M处两植物的固定$CO_2$速率相等
D.20min以后,A、B两种植物光合作用强度都与呼吸作用强度相等
答案:
C 据图可知B植物在低浓度CO₂时还可以进行光合作用,所以B植物固定CO₂的能力较A植物强,A正确;10 min之前,B植物所在的容器内CO₂浓度降低,说明光合作用消耗的CO₂量大于呼吸作用产生的CO₂量,B正确;M点时A、B两植物曲线相交,只能说明此时密闭容器中的CO₂浓度相等,而不能说明A、B两植物的固定CO₂速率相等,C错误;20 min后A、B植物不再吸收CO₂,此时表明A、B植物的光合作用固定CO₂的量分别等于各自呼吸作用放出的CO₂的量,D正确。
7. 下列关于硝化细菌的叙述,错误的是(
A.将二氧化碳和水合成糖类化合物所需能量为光能
B.将二氧化碳和水合成糖类化合物所需能量为化学能
C.硝化细菌细胞中含有将二氧化碳和水合成有机物的一系列酶
D.硝化细菌和绿色植物一样都是自养型生物
A
)A.将二氧化碳和水合成糖类化合物所需能量为光能
B.将二氧化碳和水合成糖类化合物所需能量为化学能
C.硝化细菌细胞中含有将二氧化碳和水合成有机物的一系列酶
D.硝化细菌和绿色植物一样都是自养型生物
答案:
A 硝化细菌能将土壤中的氨氧化成亚硝酸,进而将亚硝酸氧化成硝酸,硝化细菌能够利用这两个化学反应中释放出的化学能,将二氧化碳和水合成为糖类,这些糖类可供硝化细菌维持自身的生命活动,所以硝化细菌也属于自养生物,A错误;B、D正确;硝化细菌能够将二氧化碳和水合成为糖类,所以硝化细菌细胞中含有将二氧化碳和水合成有机物的一系列酶,C正确。
8. 光照强度增强,光合作用强度增强。但在光照最强的夏季中午,光合作用不继续增强,反而下降。主要原因是(
A.夏季光照太强,叶绿素分解
B.由于气孔关闭,暗反应过程中三碳化合物产生的太少
C.夏季气温太高,酶活性降低
D.水分蒸腾散失太多,光反应产生的ATP和NADPH少
B
)A.夏季光照太强,叶绿素分解
B.由于气孔关闭,暗反应过程中三碳化合物产生的太少
C.夏季气温太高,酶活性降低
D.水分蒸腾散失太多,光反应产生的ATP和NADPH少
答案:
B 夏季中午,光照太强,造成叶片失水,气孔关闭,CO₂不能进入细胞,暗反应生成的三碳化合物减少,光合作用速率下降。
查看更多完整答案,请扫码查看