2025年世超金典暑假乐园八年级物理人教版
注:目前有些书本章节名称可能整理的还不是很完善,但都是按照顺序排列的,请同学们按照顺序仔细查找。练习册 2025年世超金典暑假乐园八年级物理人教版 答案主要是用来给同学们做完题方便对答案用的,请勿直接抄袭。
1. 如图所示,用弹簧测力计测量钩码的重力。请作出钩码对测力计挂钩拉力 $ F $ 的示意图。

答案:
1.如图所示。
1.如图所示。
2. 如图所示,书静止在水平桌面上。画出书的受力示意图。

答案:
2.如图所示。
2.如图所示。
3. 如图所示,某工人站在地面上使用由三个滑轮组成的滑轮组提升重物,请用笔画线代替绳子,画出最省力的绕绳方法。

答案:
3.如图所示。
3.如图所示。
4. 请在图中画出漂浮在水面上的玩具鸭所受浮力的示意图。

答案:
4.如图所示。
4.如图所示。
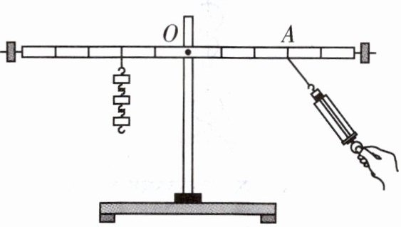
5. 如图,杠杆水平平衡,支点为 $ O $,请画出 $ A $ 点所受拉力 $ F_{1} $ 及其力臂 $ l_{1} $。

答案:
5.如图所示。
5.如图所示。
查看更多完整答案,请扫码查看