2025年53精准练七年级生物下册人教版山西专版
注:目前有些书本章节名称可能整理的还不是很完善,但都是按照顺序排列的,请同学们按照顺序仔细查找。练习册 2025年53精准练七年级生物下册人教版山西专版 答案主要是用来给同学们做完题方便对答案用的,请勿直接抄袭。
8. 园林工人给移栽后的绿化树“挂吊瓶”,补充水和无机盐,以提高成活率。“挂吊瓶”的针头应插入的结构是( )
A. 树皮
B. 导管
C. 筛管
D. 形成层
A. 树皮
B. 导管
C. 筛管
D. 形成层
答案:
B
9. 小明将新鲜的菠菜叶片放入70℃的热水后,过一会儿发现叶片表面产生了许多小气泡,并且下表面的气泡比上表面的气泡多,这种现象说明( )
A. 叶片下表面的光照弱
B. 叶片下表面的气孔多
C. 叶片下表面吸收的二氧化碳多
D. 叶片下表面含叶绿素多
A. 叶片下表面的光照弱
B. 叶片下表面的气孔多
C. 叶片下表面吸收的二氧化碳多
D. 叶片下表面含叶绿素多
答案:
B 解析:气孔是植物蒸腾作用的“门户”,也是气体交换的“窗口”。由题可知,叶片在热水中表面有气泡出现,且叶片下表面产生的气泡比上表面多,说明叶片下表面的气孔比上表面的气孔数目多,B正确。故选B。
10. [2024齐齐哈尔中考]关于绿色植物蒸腾作用的叙述错误的是( )
A. 植物的蒸腾作用可以拉动水分与无机盐在体内的运输
B. 气孔是植物蒸腾作用的“门户”,也是气体交换的“窗口”
C. 绿色植物的蒸腾作用能够提高大气湿度,增加降水
D. 植物吸收的水分,通过蒸腾作用大量地散失掉了,这对植物来说是一种浪费
A. 植物的蒸腾作用可以拉动水分与无机盐在体内的运输
B. 气孔是植物蒸腾作用的“门户”,也是气体交换的“窗口”
C. 绿色植物的蒸腾作用能够提高大气湿度,增加降水
D. 植物吸收的水分,通过蒸腾作用大量地散失掉了,这对植物来说是一种浪费
答案:
D
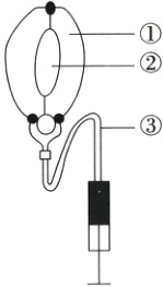
11. [2024吉林中考]如图是利用气球和注射器等材料制作的植物气孔模型,下列叙述错误的是( )

A. ①模拟保卫细胞,控制②开闭
B. ②模拟气孔,是植物蒸腾作用的“门户”
C. ③模拟导管,运输水和无机盐
D. 在夜幕降临时,大多数②呈图示状态
A. ①模拟保卫细胞,控制②开闭
B. ②模拟气孔,是植物蒸腾作用的“门户”
C. ③模拟导管,运输水和无机盐
D. 在夜幕降临时,大多数②呈图示状态
答案:
D 解析:①模拟保卫细胞,气孔是由一对保卫细胞围成的小孔,②模拟气孔,①可以控制②的开闭,A正确。当气孔张开时,叶片内的水以气体状态通过气孔散失到外界空气中,故气孔是蒸腾作用的“门户”,B正确。③模拟导管,其功能是运输水和无机盐,C正确。晚上叶片的大多数气孔缩小或关闭,蒸腾作用随之减弱,防止水过多地散失,故大多数②呈关闭状态,D错误。故选D。
12. [科学思维·2024太原期末]
用显微镜观察叶片的结构
实验课上,小宇和同学们一起做了“观察叶片的结构”实验。课后大家又一起讨论了叶片的结构和功能。请你参与其中并回答问题([ ]内填图中标号)。

(1)小宇在制作叶片横切面的临时切片时,右手捏紧并排的双面刀片,沿着图一中横线所示角度________(填“缓慢地来回”或“迅速地朝一个方向”)切割;应选择最________(填“薄”“厚”或“长”)的一片制成临时切片。
(2)用显微镜观察时,小宇发现叶片由多种组织构成,并认为每种组织的结构都是与其功能相适应的。请你从图二所示的①③两种结构中任选一种,仿照表中的示例,填写表格:

(3)小雪制作了一个临时装片,放在显微镜下观察,看到如图三所示物像。从物像中可以看到成对的A__________及其围成的__________(填结构名称);后者主要存在于图二所示的[ ]__________,是____________________等气体进出植物体的“窗口”。
(4)在制作叶片横切面的临时切片时,有些安全事项需要注意,你想提醒同学们的是:____________________(一点即可)。
用显微镜观察叶片的结构
实验课上,小宇和同学们一起做了“观察叶片的结构”实验。课后大家又一起讨论了叶片的结构和功能。请你参与其中并回答问题([ ]内填图中标号)。
(1)小宇在制作叶片横切面的临时切片时,右手捏紧并排的双面刀片,沿着图一中横线所示角度________(填“缓慢地来回”或“迅速地朝一个方向”)切割;应选择最________(填“薄”“厚”或“长”)的一片制成临时切片。
(2)用显微镜观察时,小宇发现叶片由多种组织构成,并认为每种组织的结构都是与其功能相适应的。请你从图二所示的①③两种结构中任选一种,仿照表中的示例,填写表格:
(3)小雪制作了一个临时装片,放在显微镜下观察,看到如图三所示物像。从物像中可以看到成对的A__________及其围成的__________(填结构名称);后者主要存在于图二所示的[ ]__________,是____________________等气体进出植物体的“窗口”。
(4)在制作叶片横切面的临时切片时,有些安全事项需要注意,你想提醒同学们的是:____________________(一点即可)。
答案:
(1)迅速地朝一个方向 薄
(2)
结构主要组织结构与功能的关系
①(或③)输导组织(或薄壁组织)叶脉中有导管,与其运输水和无机盐的功能相适应(或叶肉细胞里含有许多叶绿体,与叶片能进行光合作用的功能相适应)
(3)保卫细胞 气孔 ④ 下表皮 氧气、二氧化碳、水蒸气
(4)小心使用刀片,以免手指被刀片划破
(2)
结构主要组织结构与功能的关系
①(或③)输导组织(或薄壁组织)叶脉中有导管,与其运输水和无机盐的功能相适应(或叶肉细胞里含有许多叶绿体,与叶片能进行光合作用的功能相适应)
(3)保卫细胞 气孔 ④ 下表皮 氧气、二氧化碳、水蒸气
(4)小心使用刀片,以免手指被刀片划破
查看更多完整答案,请扫码查看