11. 某人用图11-5-5所示的滑轮组提升2000 N的重物,所用的拉力是800 N,绳子自由端被拉下4 m。

(1)这个人做的总功是多少?
(2)有用功是多少?
(3)额外功是多少?
(4)滑轮组的机械效率是多少?
(1)这个人做的总功是多少?
(2)有用功是多少?
(3)额外功是多少?
(4)滑轮组的机械效率是多少?
答案:
解:$W_{总}=Fs={ 800 }\ \text{N}×{ 4 }\ \text{m}={ 3200 }\ \text{J}\\$
解:$W_{有}=Gh={ 2000 }\ \text {N}×{ 1 }\ \text {m}={ 2000 }\ \text {J}$
解:$W_{额}=W_{总}-W_{有}=3200\ \text {J}-2000\ \text {J}=1200\ \text {J}$
解:$η=\frac {W_{有}}{W_{总}}×100\%=\frac {{ 2000 }\ \text{J}}{{ 3200 }\ \text{J}}×100\%={ 62.5 }\%$
解:$W_{有}=Gh={ 2000 }\ \text {N}×{ 1 }\ \text {m}={ 2000 }\ \text {J}$
解:$W_{额}=W_{总}-W_{有}=3200\ \text {J}-2000\ \text {J}=1200\ \text {J}$
解:$η=\frac {W_{有}}{W_{总}}×100\%=\frac {{ 2000 }\ \text{J}}{{ 3200 }\ \text{J}}×100\%={ 62.5 }\%$
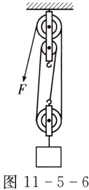
12. 如图11-5-6所示滑轮组,重物$G= 12$牛,每个滑轮重3牛,人用拉力F在2秒内把物体匀速提高了3米,不计绳重和滑轮轴处摩擦。求:

(1)人做的有用功是多少?
(2)人的拉力F为多少牛?
(3)滑轮组机械效率为多少?额外功为多少?
(4)物体上升的速度为多少,人拉绳子的速度为多少?
(1)人做的有用功是多少?
(2)人的拉力F为多少牛?
(3)滑轮组机械效率为多少?额外功为多少?
(4)物体上升的速度为多少,人拉绳子的速度为多少?
答案:
解:$W_{有}=Gh={ 12 }\ \text {N}×{ 3 }\ \text {m}={ 36 }\ \text {J}$
解:$F=\frac 13(G+G_{动})=\frac 13×(12\ \text {N}+3\ \text {N})=5\ \text {N}$
解:$η=\frac G{3F}=\frac {12\ \text {N}}{3×5\ \text {N}}×100\%=80\%$
$ W_{额}=G_{动}h={ 3 }\ \text {N}×{ 3 }\ \text {m}={ 9 }\ \text {J}$
解:$s=3h=3×3\ \text {m}=9\ \text {m}$
$ v=\frac st=\frac {{ 9 }\ \text {m}}{{ 2 }\ \text {s}}={ 4.5 }\ \text {m/s}$
解:$W_{有}=Gh={ 12 }\ \text {N}×{ 3 }\ \text {m}={ 36 }\ \text {J}$
解:$F=\frac 13(G+G_{动})=\frac 13×(12\ \text {N}+3\ \text {N})=5\ \text {N}$
解:$η=\frac G{3F}=\frac {12\ \text {N}}{3×5\ \text {N}}×100\%=80\%$
$ W_{额}=G_{动}h={ 3 }\ \text {N}×{ 3 }\ \text {m}={ 9 }\ \text {J}$
解:$s=3h=3×3\ \text {m}=9\ \text {m}$
$ v=\frac st=\frac {{ 9 }\ \text {m}}{{ 2 }\ \text {s}}={ 4.5 }\ \text {m/s}$
查看更多完整答案,请扫码查看