第44页
- 第1页
- 第2页
- 第3页
- 第4页
- 第5页
- 第6页
- 第7页
- 第8页
- 第9页
- 第10页
- 第11页
- 第12页
- 第13页
- 第14页
- 第15页
- 第16页
- 第17页
- 第18页
- 第19页
- 第20页
- 第21页
- 第22页
- 第23页
- 第24页
- 第25页
- 第26页
- 第27页
- 第28页
- 第29页
- 第30页
- 第31页
- 第32页
- 第33页
- 第34页
- 第35页
- 第36页
- 第37页
- 第38页
- 第39页
- 第40页
- 第41页
- 第42页
- 第43页
- 第44页
- 第45页
- 第46页
- 第47页
- 第48页
- 第49页
- 第50页
- 第51页
- 第52页
- 第53页
- 第54页
- 第55页
- 第56页
- 第57页
- 第58页
- 第59页
- 第60页
- 第61页
- 第62页
- 第63页
- 第64页
- 第65页
- 第66页
- 第67页
- 第68页
- 第69页
- 第70页
- 第71页
- 第72页
- 第73页
- 第74页
- 第75页
- 第76页
- 第77页
- 第78页
- 第79页
- 第80页
- 第81页
- 第82页
- 第83页
- 第84页
- 第85页
- 第86页
- 第87页
- 第88页
- 第89页
- 第90页
3. 根据图示实验,回答下列问题。


(1)图1实验在点燃氢气前,需______。点燃后,烧杯壁上出现无色液滴,说明水是由______组成。
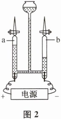
(2)图2实验测得$V(a):V(b)= 1:2$,要确定水分子中氢、氧原子个数比,还需要的数据有______(填序号)。
a. 水的相对分子质量 b. 氢气、氧气的密度 c. 氢原子、氧原子的质量
(3)下图是水分子分解示意图,水分解过程的微观解释是______。

(1)图1实验在点燃氢气前,需______。点燃后,烧杯壁上出现无色液滴,说明水是由______组成。
(2)图2实验测得$V(a):V(b)= 1:2$,要确定水分子中氢、氧原子个数比,还需要的数据有______(填序号)。
a. 水的相对分子质量 b. 氢气、氧气的密度 c. 氢原子、氧原子的质量
(3)下图是水分子分解示意图,水分解过程的微观解释是______。
答案:
(1)检验其纯度 氢元素和氧元素
(2)bc
(3)每个水分子分解成2个氢原子和1个氧原子,2个氢原子结合成1个氢分子,2个氧原子结合成1个氧分子
(1)检验其纯度 氢元素和氧元素
(2)bc
(3)每个水分子分解成2个氢原子和1个氧原子,2个氢原子结合成1个氢分子,2个氧原子结合成1个氧分子
4. 有水(${H2O}$)、双氧水(${H2O2}$)、重水(${D2O}$,“D”表示原子核中有一个质子和一个中子的氢原子)三种物质,从物质组成的角度看,这三种物质所含的元素共有______种,从化学性质的角度看,______与水的化学性质有较大的差异。
答案:
两 $H_{2}O_{2}$
5. 下图是电解水的简易装置和电解水生成气体的体积与时间的关系图,试回答下列问题。(甲管生成气体A,乙管生成气体B)
(1)试在上面左图中标出电源的正、负极。
(2)电解一段时间后,甲、乙两支试管中,______试管中水位下降得快,其原因是______。
(3)0~3 min,甲、乙两支试管内排出水的体积比为______,分子数比为______。
(提示:在同温、同压下,同体积的任何气体含有相同的分子数)
(4)气体A可以用点燃的火柴检验,现象是______,说明气体A有______性。
(5)实际操作中,A、B体积比常大于$2:1$,原因可能是______。
(2)电解一段时间后,甲、乙两支试管中,______试管中水位下降得快,其原因是______。
(3)0~3 min,甲、乙两支试管内排出水的体积比为______,分子数比为______。
(提示:在同温、同压下,同体积的任何气体含有相同的分子数)
(4)气体A可以用点燃的火柴检验,现象是______,说明气体A有______性。
(5)实际操作中,A、B体积比常大于$2:1$,原因可能是______。
答案:
(1)(参见下图)
(2)甲 甲试管中生成的氢气体积约是乙试管中生成氧气体积的两倍
(3)$2:1$ $2:1$
(4)产生淡蓝色火焰 可燃
(5)氧气比氢气溶于水的量多
(1)(参见下图)
(2)甲 甲试管中生成的氢气体积约是乙试管中生成氧气体积的两倍
(3)$2:1$ $2:1$
(4)产生淡蓝色火焰 可燃
(5)氧气比氢气溶于水的量多
查看更多完整答案,请扫码查看