19. (3分)化学是一门以实验为基础的科学。
(1)加热要垫陶土网的仪器有(填一种)
(2)给试管里的液体加热,试管口及试管的方向是
(3)熄灭酒精灯时,必须
(1)加热要垫陶土网的仪器有(填一种)
烧杯(合理即可)
。(2)给试管里的液体加热,试管口及试管的方向是
试管跟实验台成45°角,试管口向上且不能朝向有人的方向
。(3)熄灭酒精灯时,必须
用灯帽盖灭
。
答案:
(1)烧杯(合理即可)
(2)试管跟实验台成45°角,试管口向上且不能朝向有人的方向
(3)用灯帽盖灭
(1)烧杯(合理即可)
(2)试管跟实验台成45°角,试管口向上且不能朝向有人的方向
(3)用灯帽盖灭
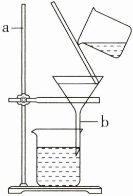
20. (6分)如图是实验室进行过滤操作的装置图,请回答下列问题:

(1)写出标号仪器的名称:a
(2)过滤适用于分离
(3)如果漏斗内的液面高于滤纸的边缘,其后果是
(4)过滤后发现滤液仍浑浊,可能的原因是
(1)写出标号仪器的名称:a
铁架台
,b漏斗
。(2)过滤适用于分离
不溶性的固体和液体
。(3)如果漏斗内的液面高于滤纸的边缘,其后果是
滤液浑浊
。(4)过滤后发现滤液仍浑浊,可能的原因是
滤纸破损
、滤液高于滤纸边缘
。
答案:
(1)铁架台 漏斗
(2)不溶性的固体和液体
(3)滤液浑浊
(4)滤纸破损 滤液高于滤纸边缘 承接滤液的烧杯中含有杂质(选填两项即可)
(1)铁架台 漏斗
(2)不溶性的固体和液体
(3)滤液浑浊
(4)滤纸破损 滤液高于滤纸边缘 承接滤液的烧杯中含有杂质(选填两项即可)
21. (5分)根据下列装置图,回答有关问题:

(1)写出实验室用过氧化氢制取氧气的文字表达式:
(2)若使用高锰酸钾制取氧气,可选用的发生装置是
(3)选用D装置收集氧气的原因是
(1)写出实验室用过氧化氢制取氧气的文字表达式:
过氧化氢$\xrightarrow{二氧化锰}$水+氧气
。(2)若使用高锰酸钾制取氧气,可选用的发生装置是
A
(填字母)。发生反应的文字表达式是高锰酸钾$\xrightarrow{加热}$锰酸钾+二氧化锰+氧气
。(3)选用D装置收集氧气的原因是
氧气不易溶于水
,用该装置收集氧气时,要等到导管口有气泡连续均匀
产生时开始收集。
答案:
(1)过氧化氢$\xrightarrow{二氧化锰}$水+氧气
(2)A 高锰酸钾$\xrightarrow{加热}$锰酸钾+二氧化锰+氧气
(3)氧气不易溶于水 气泡连续均匀
(1)过氧化氢$\xrightarrow{二氧化锰}$水+氧气
(2)A 高锰酸钾$\xrightarrow{加热}$锰酸钾+二氧化锰+氧气
(3)氧气不易溶于水 气泡连续均匀
22. 在运动赛场上,有一种白色粉末常常在体操、羽毛球中出镜,在举重比赛中,也会见到它的身影,这就是防滑粉。防滑粉的主要成分为碳酸镁,有吸水性。如图是一袋防滑粉的标签,请根据标签回答问题:

(1)碳酸镁的相对分子质量是
(2)碳酸镁中镁、氧元素的质量比是
(3)请计算出这袋防滑粉中镁元素的质量是多少? (请写出计算过程)
(1)碳酸镁的相对分子质量是
84
。(2)碳酸镁中镁、氧元素的质量比是
1:2
(最简比)。(3)请计算出这袋防滑粉中镁元素的质量是多少? (请写出计算过程)
通过标签可知:碳酸镁的质量=200g×84%=168g 则这袋防滑粉中镁元素的质量为168g×$\frac{24}{24+12+16×3}$×100%=48g 答:这袋防滑粉中镁元素的质量是48g。
答案:
(1)84
(2)1:2
(3)通过标签可知:碳酸镁的质量=200g×84%=168g 则这袋防滑粉中镁元素的质量为168g×$\frac{24}{24+12+16×3}$×100%=48g 答:这袋防滑粉中镁元素的质量是48g。
(1)84
(2)1:2
(3)通过标签可知:碳酸镁的质量=200g×84%=168g 则这袋防滑粉中镁元素的质量为168g×$\frac{24}{24+12+16×3}$×100%=48g 答:这袋防滑粉中镁元素的质量是48g。
查看更多完整答案,请扫码查看