1. 滑轮组: (1) 定义: 定滑轮和动滑轮组合在一起使用.
(2) 特点: 使用滑轮组既可以
(3) 滑轮组的计算: 有几段绳子吊在动滑轮上, 拉力就是物体重力(包括动滑轮重力)的几分之一(不计绳重和摩擦).
(4) 公式: 理想条件 $ F = $
(5) 滑轮组的组装绕绳方法: ① 先根据 $ n = \frac{s}{h} $ 算出 $ n $;② 再根据“偶定奇动”进行绕绳.
(2) 特点: 使用滑轮组既可以
省力
,又可以改变力的方向
,但要多移动距离.(3) 滑轮组的计算: 有几段绳子吊在动滑轮上, 拉力就是物体重力(包括动滑轮重力)的几分之一(不计绳重和摩擦).
(4) 公式: 理想条件 $ F = $
$\frac{1}{n}G_{物}$
,$ s = $$n$
$ h $,$ v_{绳} = $$n$
$ v_{物} $;不计绳重和摩擦,动滑轮的重力为 $ G_{动} $,则 $ F = $$\frac{1}{n}(G_{物}+G_{动})$
.(5) 滑轮组的组装绕绳方法: ① 先根据 $ n = \frac{s}{h} $ 算出 $ n $;② 再根据“偶定奇动”进行绕绳.
答案:
1.
(2)省力 力的方向
(4)$\frac{1}{n}G_{物}$ $n$ $n$ $\frac{1}{n}(G_{物}+G_{动})$
(2)省力 力的方向
(4)$\frac{1}{n}G_{物}$ $n$ $n$ $\frac{1}{n}(G_{物}+G_{动})$
2. 轮轴由具有公共转轴的轮和轴组成. 轮轴也可看成是杠杆的变形, 轴心 $ O $ 为支点, 轮半径 $ R $ 和轴半径 $ r $ 分别为动力臂和阻力臂, 根据杠杆原理可得 $ F_{1}R = $
$F_{2}r$
. 当 $ R > r $ 时, $ F_{1} < F_{2} $,这种轮轴相当于一种省力
杠杆. 如门把手、汽车方向盘和扳手都是轮轴的实例.
答案:
2.$F_{2}r$ 省力
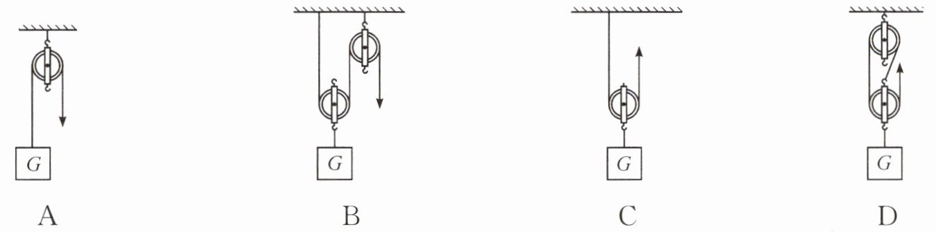
1. 使用滑轮(组)提升同一个物体, 不计滑轮重和摩擦, 下列四种情况中最省力的是 (

D
)
答案:
D
2. 如图所示, 小明用滑轮组能轻松地吊起摩托车, 下列说法正确的是 (
A.此滑轮组中所有滑轮都是定滑轮
B.此滑轮组中所有滑轮都是动滑轮
C.此滑轮组使用时的优点是可以省力
D.此滑轮组使用时的优点是可以省距离
C
)A.此滑轮组中所有滑轮都是定滑轮
B.此滑轮组中所有滑轮都是动滑轮
C.此滑轮组使用时的优点是可以省力
D.此滑轮组使用时的优点是可以省距离
答案:
C
3. 如图所示, 该装置处于静止状态. 若不计滑轮重、绳重及一切摩擦, 物体的重力分别为 $ G_{1} $ 和 $ G_{2} $,则 $ G_{1} : G_{2} $ 等于 (
A.$ 1 : 2 $
B.$ 2 : 1 $
C.$ 1 : 1 $
D.无法判断
A
)A.$ 1 : 2 $
B.$ 2 : 1 $
C.$ 1 : 1 $
D.无法判断
答案:
A
查看更多完整答案,请扫码查看