2025年阳光同学课时优化作业六年级数学下册人教版湖南专版
注:目前有些书本章节名称可能整理的还不是很完善,但都是按照顺序排列的,请同学们按照顺序仔细查找。练习册 2025年阳光同学课时优化作业六年级数学下册人教版湖南专版 答案主要是用来给同学们做完题方便对答案用的,请勿直接抄袭。
(1) 一个圆柱高9 dm,侧面积是226.08 dm²,它的底面积是( )dm²。
A. 4 B. 50.24 C. 100.48 D. 200.96
A. 4 B. 50.24 C. 100.48 D. 200.96
答案:
1.
(1)B
(1)B
(2) 一个圆柱的侧面展开图是正方形,这个圆柱的高与底面直径的长度比是( )。
A. 2π:1 B. π:1 C. 2:1 D. 1:π
A. 2π:1 B. π:1 C. 2:1 D. 1:π
答案:
B
(3) 圆柱的底面直径扩大到原来的2倍,高缩小到原来的$\frac{1}{2}$,圆柱的侧面积( )。
A. 扩大到原来的4倍 B. 扩大到原来的2倍
C. 缩小到原来的$\frac{1}{2}$ D. 不变
A. 扩大到原来的4倍 B. 扩大到原来的2倍
C. 缩小到原来的$\frac{1}{2}$ D. 不变
答案:
D
(4) 将一根底面直径是4 cm、高是6 cm的圆柱形木料截成3小段圆柱形木料后,木料的表面积增加了( )cm²。
A. 75.36 B. 62.8 C. 50.24 D. 37.68
A. 75.36 B. 62.8 C. 50.24 D. 37.68
答案:
C
2. 一个圆柱的侧面展开图是一个长18.84 cm、宽12.56 cm的长方形,这个圆柱的底面积可能是多少平方厘米?
答案:
第一种可能:$18.84\div3.14\div2 = 3(cm)$
$3.14\times3^{2}=28.26(cm^{2})$
第二种可能:$12.56\div3.14\div2 = 2(cm)$
$3.14\times2^{2}=12.56(cm^{2})$
$3.14\times3^{2}=28.26(cm^{2})$
第二种可能:$12.56\div3.14\div2 = 2(cm)$
$3.14\times2^{2}=12.56(cm^{2})$
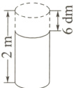
3. 如图,从一根高2 m的圆柱形木料上截下6 dm后,木料的表面积减少了75.36 dm²。原来这根木料的表面积是多少平方分米?
答案:
半径:$75.36\div6\div3.14\div2 = 2(dm)$
$2m = 20dm$ 表面积:$3.14\times2^{2}\times2 + 3.14\times(2\times2)\times20 = 276.32(dm^{2})$
$2m = 20dm$ 表面积:$3.14\times2^{2}\times2 + 3.14\times(2\times2)\times20 = 276.32(dm^{2})$
4. 如图,从一个长30 cm、宽20 cm、高15 cm的长方体中挖去一个半径是5 cm的半圆柱,求剩余几何体的表面积。
答案:
左右面:$30\times15\times2 = 900(cm^{2})$
底面:$20\times30 = 600(cm^{2})$
前后面:$20\times15\times2 - 3.14\times5^{2}=521.5(cm^{2})$
上面:$30\times(20 - 5\times2)=300(cm^{2})$
$3.14\times(5\times2)\times30\div2 = 471(cm^{2})$
表面积:$900 + 600 + 521.5 + 300 + 471 = 2792.5(cm^{2})$
底面:$20\times30 = 600(cm^{2})$
前后面:$20\times15\times2 - 3.14\times5^{2}=521.5(cm^{2})$
上面:$30\times(20 - 5\times2)=300(cm^{2})$
$3.14\times(5\times2)\times30\div2 = 471(cm^{2})$
表面积:$900 + 600 + 521.5 + 300 + 471 = 2792.5(cm^{2})$
查看更多完整答案,请扫码查看