第30页
- 第1页
- 第2页
- 第3页
- 第4页
- 第5页
- 第6页
- 第7页
- 第8页
- 第9页
- 第10页
- 第11页
- 第12页
- 第13页
- 第14页
- 第15页
- 第16页
- 第17页
- 第18页
- 第19页
- 第20页
- 第21页
- 第22页
- 第23页
- 第24页
- 第25页
- 第26页
- 第27页
- 第28页
- 第29页
- 第30页
- 第31页
- 第32页
- 第33页
- 第34页
- 第35页
- 第36页
- 第37页
- 第38页
- 第39页
- 第40页
- 第41页
- 第42页
- 第43页
- 第44页
- 第45页
- 第46页
- 第47页
- 第48页
- 第49页
- 第50页
- 第51页
- 第52页
- 第53页
- 第54页
- 第55页
- 第56页
- 第57页
- 第58页
- 第59页
- 第60页
- 第61页
- 第62页
- 第63页
1. 填空题。
(1)黄河第一湾——乾坤湾的两岸,一岸为凹岸,有悬崖,地势险峻;一岸为凸岸,比较平坦,这是由于河流的______作用形成的。
(2)鹅卵石表面光滑,是因为岩石之间的碰撞和______的作用结果。
(3)土壤中的______和______最容易被雨水冲走,因为它们很轻。
(1)黄河第一湾——乾坤湾的两岸,一岸为凹岸,有悬崖,地势险峻;一岸为凸岸,比较平坦,这是由于河流的______作用形成的。
(2)鹅卵石表面光滑,是因为岩石之间的碰撞和______的作用结果。
(3)土壤中的______和______最容易被雨水冲走,因为它们很轻。
答案:
1.
(1)沉积
(2)水
(3)黏土 细沙
(1)沉积
(2)水
(3)黏土 细沙
2. 选择题。
(1)黄土高原千沟万壑的地表形态,主要是由( )形成的。
A. 风力的侵蚀作用
B. 流水的侵蚀作用
C. 泥沙的堆积作用
(2)模拟“降雨”观察地表变化时,不用重点观察的是( )。
A. “地表”径流的大小
B. “地表”径流的浑浊程度
C. “地表”径流的方向
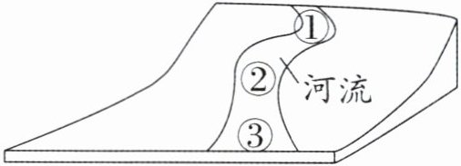
(3)小科用土壤做了一个河道模型(如图),水流从①流到③,泥沙最容易沉积的位置是( )。

A. ①
B. ②
C. ③
(4)要研究植物对侵蚀的影响,小科可以选择的实验组是( )。
A.
B.
C.

(5)我国政府严禁砍伐长江等河流上游的天然森林,大力提倡植树造林,主要是为了( )。
A. 改善植被结构,防止水土流失
B. 改善水质
C. 保护野生动植物资源
(1)黄土高原千沟万壑的地表形态,主要是由( )形成的。
A. 风力的侵蚀作用
B. 流水的侵蚀作用
C. 泥沙的堆积作用
(2)模拟“降雨”观察地表变化时,不用重点观察的是( )。
A. “地表”径流的大小
B. “地表”径流的浑浊程度
C. “地表”径流的方向
(3)小科用土壤做了一个河道模型(如图),水流从①流到③,泥沙最容易沉积的位置是( )。
A. ①
B. ②
C. ③
(4)要研究植物对侵蚀的影响,小科可以选择的实验组是( )。
A.
B.
C.
(5)我国政府严禁砍伐长江等河流上游的天然森林,大力提倡植树造林,主要是为了( )。
A. 改善植被结构,防止水土流失
B. 改善水质
C. 保护野生动植物资源
答案:
2.
(1)B
(2)C
(3)C
(4)B
(5)A
(1)B
(2)C
(3)C
(4)B
(5)A
3. 在探究“雨水对土地的侵蚀”时,下面的材料或动作分别代表自然界的什么?连一连
坡形土堆 下雨
喷水壶喷水 地面的径流
泥浆流淌 山坡上的沟壑
土堆上凹凸不平 土壤裸露的山坡
坡形土堆 下雨
喷水壶喷水 地面的径流
泥浆流淌 山坡上的沟壑
土堆上凹凸不平 土壤裸露的山坡
答案:
【解析】:
本题是一个连线题,主要考查学生对自然界中雨水对土地侵蚀作用的理解,以及如何通过实验材料或动作来模拟这一自然现象。题目中给出了四组材料或动作与自然界中四种现象的对应关系,需要学生理解并正确连线。
1. “坡形土堆”代表自然界中的“土壤裸露的山坡”,因为坡形土堆是模拟自然界中裸露的山坡,没有植被覆盖,容易受到雨水的侵蚀。
2. “喷水壶喷水”代表自然界中的“下雨”,因为喷水壶喷水可以模拟雨水从天空降落到地面的过程。
3. “泥浆流淌”代表自然界中的“地面的径流”,因为雨水在山坡上流动时,会携带土壤颗粒形成泥浆,沿着山坡流淌,形成地面的径流。
4. “土堆上凹凸不平”代表自然界中的“山坡上的沟壑”,因为雨水在山坡上流动时,会不断冲刷土壤,形成凹凸不平的地形,长时间的作用下会形成沟壑。
【答案】:
坡形土堆 —— 土壤裸露的山坡
喷水壶喷水 —— 下雨
泥浆流淌 —— 地面的径流
土堆上凹凸不平 —— 山坡上的沟壑
本题是一个连线题,主要考查学生对自然界中雨水对土地侵蚀作用的理解,以及如何通过实验材料或动作来模拟这一自然现象。题目中给出了四组材料或动作与自然界中四种现象的对应关系,需要学生理解并正确连线。
1. “坡形土堆”代表自然界中的“土壤裸露的山坡”,因为坡形土堆是模拟自然界中裸露的山坡,没有植被覆盖,容易受到雨水的侵蚀。
2. “喷水壶喷水”代表自然界中的“下雨”,因为喷水壶喷水可以模拟雨水从天空降落到地面的过程。
3. “泥浆流淌”代表自然界中的“地面的径流”,因为雨水在山坡上流动时,会携带土壤颗粒形成泥浆,沿着山坡流淌,形成地面的径流。
4. “土堆上凹凸不平”代表自然界中的“山坡上的沟壑”,因为雨水在山坡上流动时,会不断冲刷土壤,形成凹凸不平的地形,长时间的作用下会形成沟壑。
【答案】:
坡形土堆 —— 土壤裸露的山坡
喷水壶喷水 —— 下雨
泥浆流淌 —— 地面的径流
土堆上凹凸不平 —— 山坡上的沟壑
查看更多完整答案,请扫码查看