2025年赢在起跑线快乐暑假河北少年儿童出版社八年级物理教科版
注:目前有些书本章节名称可能整理的还不是很完善,但都是按照顺序排列的,请同学们按照顺序仔细查找。练习册 2025年赢在起跑线快乐暑假河北少年儿童出版社八年级物理教科版 答案主要是用来给同学们做完题方便对答案用的,请勿直接抄袭。
14. 小明骑自行车上学,快到学校时,他停止用脚蹬自行车,自行车仍会向前运动,是因为自行车具有
惯性
,最后会停下来是因为自行车受到了摩擦力
。
答案:
惯性 摩擦力
15. 如图所示,“海斗一号”在科考任务中最大下潜深度为10 907 m。“海斗一号”在下潜到$10^{4}m$时所受到海水的压强为

$1×10^{8}$
Pa,此时潜水器外壳$1cm^{2}$的面积上受到海水的压力为$1×10^{4}$
N。($ρ_{海水}=1×10^{3}kg/m^{3}$,g取10 N/kg)
答案:
$1×10^{8}$ $1×10^{4}$
16. (8分)如图所示的是“探究滑动摩擦力的大小与什么因素有关”的实验。

(1)把木块放在木板、较粗糙的木板的表面上,用弹簧测力计
(2)三次实验中分别读出弹簧测力计的示数为$F_{1}$、$F_{2}$和$F_{3}$,其中示数最小的是
(3)比较甲、乙两次实验,得出的结论是
(4)比较甲、丙两次实验,得出的结论是
(5)在图丙中,当木块刚好水平匀速运动时弹簧测力计的示数$F_{3}$为1.6 N,若弹簧测力计的示数增大到2 N,此时的木块所受滑动摩擦力为
(1)把木块放在木板、较粗糙的木板的表面上,用弹簧测力计
水平匀速
拉动木块,根据二力平衡
的原理,得到摩擦力的大小。(2)三次实验中分别读出弹簧测力计的示数为$F_{1}$、$F_{2}$和$F_{3}$,其中示数最小的是
$F_{1}$
。(3)比较甲、乙两次实验,得出的结论是
在接触面的粗糙程度相同时,压力越大,滑动摩擦力越大
。(4)比较甲、丙两次实验,得出的结论是
在压力相同时,接触面越粗糙,滑动摩擦力越大
。(5)在图丙中,当木块刚好水平匀速运动时弹簧测力计的示数$F_{3}$为1.6 N,若弹簧测力计的示数增大到2 N,此时的木块所受滑动摩擦力为
1.6
N。
答案:
(1)水平匀速 二力平衡
(2)$F_{1}$
(3)在接触面的粗糙程度相同时,压力越大,滑动摩擦力越大
(4)在压力相同时,接触面越粗糙,滑动摩擦力越大
(5)1.6
(1)水平匀速 二力平衡
(2)$F_{1}$
(3)在接触面的粗糙程度相同时,压力越大,滑动摩擦力越大
(4)在压力相同时,接触面越粗糙,滑动摩擦力越大
(5)1.6
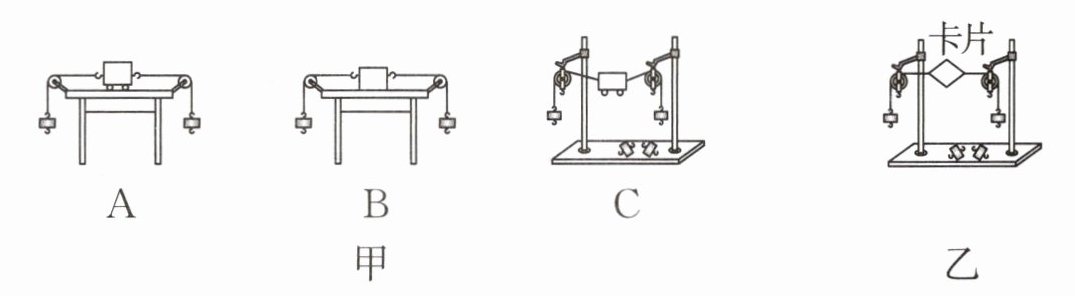
17. (7分)下面是“探究二力平衡的条件”的实验。

(1)小明和小华先后设计了三个实验方案,如图甲所示,请你判断出他们改进的先后顺序:____
(2)如图乙所示是最终确定的实验方案。此方案中,由于____
(3)小华将系于卡片(重力可忽略不计)两对角的线分别跨过左右支架上的滑轮,在线的两端挂上钩码,使作用在卡片上的两个拉力方向____
(4)当卡片平衡时,小华将卡片转过一个角度,松手后观察____
(1)小明和小华先后设计了三个实验方案,如图甲所示,请你判断出他们改进的先后顺序:____
BAC
(用字母表示),这样的改进是为了减小____摩擦力
对实验的影响。(2)如图乙所示是最终确定的实验方案。此方案中,由于____
卡片的重力远小于钩码的重力
,故卡片的重力可忽略不计。若卡片的重力对实验造成了影响,这个影响主要是力的____方向
(选填“大小”或“方向”)。(3)小华将系于卡片(重力可忽略不计)两对角的线分别跨过左右支架上的滑轮,在线的两端挂上钩码,使作用在卡片上的两个拉力方向____
相反
,并通过调整____钩码的个数
来改变拉力的大小。(4)当卡片平衡时,小华将卡片转过一个角度,松手后观察____
释放瞬间
(选填“释放瞬间”或“最终”)卡片能否平衡。
答案:
(1)BAC 摩擦力
(2)卡片的重力远小于钩码的重力 方向
(3)相反 钩码的个数
(4)释放瞬间
(1)BAC 摩擦力
(2)卡片的重力远小于钩码的重力 方向
(3)相反 钩码的个数
(4)释放瞬间
查看更多完整答案,请扫码查看