第15页
- 第1页
- 第2页
- 第3页
- 第4页
- 第5页
- 第6页
- 第7页
- 第8页
- 第9页
- 第10页
- 第11页
- 第12页
- 第13页
- 第14页
- 第15页
- 第16页
- 第17页
- 第18页
- 第19页
- 第20页
- 第21页
- 第22页
- 第23页
- 第24页
- 第25页
- 第26页
- 第27页
- 第28页
- 第29页
- 第30页
- 第31页
- 第32页
- 第33页
- 第34页
- 第35页
- 第36页
- 第37页
- 第38页
- 第39页
- 第40页
- 第41页
- 第42页
- 第43页
- 第44页
- 第45页
- 第46页
- 第47页
- 第48页
- 第49页
- 第50页
- 第51页
- 第52页
- 第53页
- 第54页
- 第55页
- 第56页
- 第57页
- 第58页
- 第59页
- 第60页
- 第61页
- 第62页
- 第63页
- 第64页
- 第65页
- 第66页
1. 电流通过导体时电能转化成________,这个现象叫做电流的热效应。
答案:
内能
2. 影响电流的热效应大小的因素:导体通电时,产生热的多少与电流的大小、导体电阻的大小和通过时间有关。通电时间________,电流________,电阻________,产生的热量越多。
答案:
越长 越大 越大
3. 电流通过导体产生的热量跟电流的______成正比,跟导体的________成正比,跟____________成正比。这个规律叫焦耳定律。
答案:
二次方 电阻 通电时间
4. 焦耳定律的公式:____________;焦耳定律的另外两个表达式:____________________。
答案:
$Q = I^{2}Rt$ $Q = UIt$,$Q=\frac{U^{2}}{R}t$
5. 下列家用电器主要利用电流的热效应工作的是( )
A. 电饭锅
B. 电冰箱
C. 电视机
D. 电风扇
A. 电饭锅
B. 电冰箱
C. 电视机
D. 电风扇
答案:
A
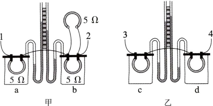
6. 如图是探究“电流通过导体时产生的热量与哪些因素有关”的实验装置。两个相同的透明容器中密封着等量的空气,将1、2和3、4导线分别接到电源两端。
(1)甲图所示的装置用来探究电流通过电阻丝产生的热量与________的关系,通电一段时间,____(选填“a”或“b”)容器中电流产生的热量较多;
(2)通过观察乙图中的实验现象,可知____(选填“c”或“d”)容器中电阻丝的阻值大。
(1)甲图所示的装置用来探究电流通过电阻丝产生的热量与________的关系,通电一段时间,____(选填“a”或“b”)容器中电流产生的热量较多;
(2)通过观察乙图中的实验现象,可知____(选填“c”或“d”)容器中电阻丝的阻值大。
答案:
(1)电流 a
(2)d
(1)电流 a
(2)d
7. 如图所示,将三个相同的空烧瓶口分别用完全相同的气球密封,用三段阻值不同的电阻丝(R1<R2<R3)分别给三个烧瓶中的空气加热,通电一段时间后体积变化最大的气球是

A.a
B.b
C.c
D.三个相同
A.a
B.b
C.c
D.三个相同
答案:
7. C
8.通过一根电阻丝的电流为2A,通电1min产生了$2.64×10^4J$的热量,它的电阻是(
A.660B. 6600ΩC. 1100D. 2200
A.660B. 6600ΩC. 1100D. 2200
答案:
8. C
查看更多完整答案,请扫码查看