2025年暑假作业完美假期生活八年级物理湖南教育出版社
注:目前有些书本章节名称可能整理的还不是很完善,但都是按照顺序排列的,请同学们按照顺序仔细查找。练习册 2025年暑假作业完美假期生活八年级物理湖南教育出版社 答案主要是用来给同学们做完题方便对答案用的,请勿直接抄袭。
1. 小明用图示装置来探究杠杆的平衡条件,设弹簧测力计和钩码对杠杆的拉力分别为动力$F_{1}$和阻力$F_{2}$,$l_{1}$和$l_{2}$分别表示动力臂和阻力臂。他的实验思路是改变$F_{2}$、$l_{1}$和$l_{2}$,测得杠杆平衡时所需的拉力$F_{1}$,来寻找$F_{1}$、$F_{2}$、$l_{1}$和$l_{2}$四个物理量之间的关系。已知弹簧测力计的量程为$0 \sim 5\ \text{N}$,杠杆上每一格长$10\ \text{cm}$。
(1)实验前,将杠杆中点置于支架上,当杠杆静止时,发现杠杆右端下沉,此时,应把杠杆两端的平衡螺母向
(2)分析表中数据可得出杠杆的平衡条件为
(3)实验中进行多次实验的目的是(
A. 取平均值减少误差
B. 使实验结论具有普遍性

(1)实验前,将杠杆中点置于支架上,当杠杆静止时,发现杠杆右端下沉,此时,应把杠杆两端的平衡螺母向
左
调节,使杠杆在不挂钩码时保持水平平衡,这样做的目的是便于测量力臂
;(2)分析表中数据可得出杠杆的平衡条件为
$F_{1}l_{1}=F_{2}l_{2}$
(用$F_{1}$、$F_{2}$、$l_{1}$和$l_{2}$表示);(3)实验中进行多次实验的目的是(
B
)(选填“A”或“B”)。A. 取平均值减少误差
B. 使实验结论具有普遍性
答案:
(1)左 便于测量力臂
(2)$F_{1}l_{1}=F_{2}l_{2}$
(3)B
(1)左 便于测量力臂
(2)$F_{1}l_{1}=F_{2}l_{2}$
(3)B
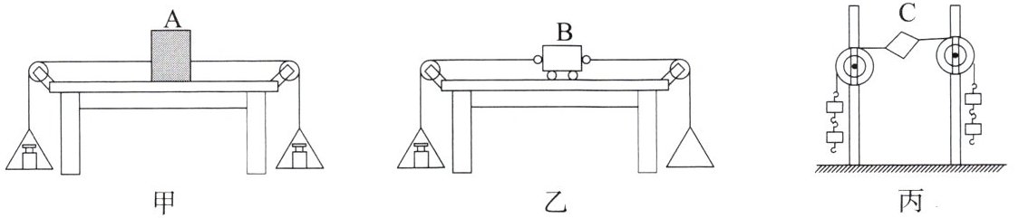
2. 如图甲装置中$A$为木块,乙装置中$B$为小车,丙装置中$C$为纸片,小明使用上述三个装置来探究“二力平衡条件”。
(1)小明在甲、乙装置选择时,优先选择了乙装置,他选择的理由是
(2)在图乙装置中,当向左右两托盘放入相同的砝码,小车静止在水平桌面上,为了探究不在同一直线上的两个力能否平衡,接下来应该
(3)小明同学又用图丙装置进行实验,但滑轮安装的高度不同,你认为他

(1)小明在甲、乙装置选择时,优先选择了乙装置,他选择的理由是
乙装置可以减小摩擦力对实验的影响
;(2)在图乙装置中,当向左右两托盘放入相同的砝码,小车静止在水平桌面上,为了探究不在同一直线上的两个力能否平衡,接下来应该
将小车扭转一个角度
;观察小车能否静止;(3)小明同学又用图丙装置进行实验,但滑轮安装的高度不同,你认为他
能
(选填“能”或“不能”)完成实验探究。
答案:
(1)乙装置可以减小摩擦力对实验的影响
(2)将小车扭转一个角度
(3)能
(1)乙装置可以减小摩擦力对实验的影响
(2)将小车扭转一个角度
(3)能
查看更多完整答案,请扫码查看