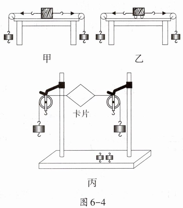
10. 某小组用如图6 - 4所示装置做“探究二力平衡的条件”实验,每个钩码的质量均为$ 50 \mathrm{~g} $。

(1) 如图甲所示,小组同学在左边和右边各挂一个钩码,这时木块保持静止,说明相互平衡的两个力方向
(2) 实验小组决定改进实验设计,小明同学设计了如图乙所示实验装置,这个装置相比图甲实验装置的优点是 (
A. 方便控制拉力在同一条直线上
B. 减小摩擦力对实验结果的影响
(3) 经过讨论,又设计出了如图丙所示装置,要求卡片
(4) 为了探究猜想“只有作用在同一物体上的两个力才能平衡”,如果利用如图丙所示装置进行实验,下一步的操作是
(1) 如图甲所示,小组同学在左边和右边各挂一个钩码,这时木块保持静止,说明相互平衡的两个力方向
相反
,大小相等
。细心的小明在实验时发现,若左边挂一个钩码,右边挂两个钩码时,木块仍然保持静止状态。经过讨论,同学们发现产生这一现象的原因是木块受到了摩擦力的作用,这时木块在水平方向受到的力平衡
。(2) 实验小组决定改进实验设计,小明同学设计了如图乙所示实验装置,这个装置相比图甲实验装置的优点是 (
B
)A. 方便控制拉力在同一条直线上
B. 减小摩擦力对实验结果的影响
(3) 经过讨论,又设计出了如图丙所示装置,要求卡片
质量要小
。在图丙装置左边和右边各挂一个钩码后,将小卡片扭转一个角度后释放,小卡片又恢复原状,这表明相互平衡的两个力需要作用在同一条直线
上。(4) 为了探究猜想“只有作用在同一物体上的两个力才能平衡”,如果利用如图丙所示装置进行实验,下一步的操作是
剪开卡片
。
答案:
(1) 相反 相等 平衡
(2) B
(3) 质量要小 同一条直线
(4) 剪开卡片
(1) 相反 相等 平衡
(2) B
(3) 质量要小 同一条直线
(4) 剪开卡片
查看更多完整答案,请扫码查看