2025年暑假园地知识出版社二年级数学人教版
注:目前有些书本章节名称可能整理的还不是很完善,但都是按照顺序排列的,请同学们按照顺序仔细查找。练习册 2025年暑假园地知识出版社二年级数学人教版 答案主要是用来给同学们做完题方便对答案用的,请勿直接抄袭。
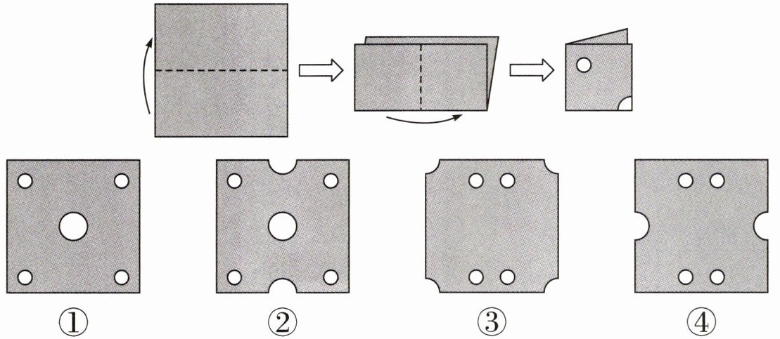
九、小华将一张正方形彩纸依次按图中的方式对折、裁剪,彩纸展开铺平后,对应的图形是(

④
)。
答案:
④
十、找一找。
请搜集各种汽车标志图案,并举几个车的标志图案是轴对称图形的例子。
请搜集各种汽车标志图案,并举几个车的标志图案是轴对称图形的例子。
答案:
解析:题目考查轴对称图形的知识点,即如果一个图形沿着一条直线对折后两部分完全重合,这样的图形叫做轴对称图形,这条直线叫做对称轴。需要找出汽车标志中符合轴对称图形定义的例子。
答案:奥迪的四环标志、本田的"H"标志、大众的"VW"标志等都是轴对称图形。
答案:奥迪的四环标志、本田的"H"标志、大众的"VW"标志等都是轴对称图形。
请你用七巧板拼出下面的图形。

答案:
答案略
查看更多完整答案,请扫码查看