第9页
- 第1页
- 第2页
- 第3页
- 第4页
- 第5页
- 第6页
- 第7页
- 第8页
- 第9页
- 第10页
- 第11页
- 第12页
- 第13页
- 第14页
- 第15页
- 第16页
- 第17页
- 第18页
- 第19页
- 第20页
- 第21页
- 第22页
- 第23页
- 第24页
- 第25页
- 第26页
- 第27页
- 第28页
- 第29页
- 第30页
- 第31页
- 第32页
- 第33页
- 第34页
- 第35页
- 第36页
- 第37页
- 第38页
- 第39页
- 第40页
- 第41页
- 第42页
- 第43页
- 第44页
- 第45页
- 第46页
- 第47页
- 第48页
- 第49页
- 第50页
- 第51页
- 第52页
- 第53页
- 第54页
- 第55页
- 第56页
- 第57页
- 第58页
- 第59页
- 第60页
- 第61页
- 第62页
- 第63页
- 第64页
- 第65页
- 第66页
- 第67页
- 第68页
- 第69页
- 第70页
1. 填空题。
(1) 一个圆柱的底面半径是3 dm,高是10 dm,它的侧面积是( )dm²,体积是( )dm³。
(2) 一个圆锥的体积是28.26 cm³,与它底面积和高都相等的圆柱的体积是( )cm³。一个圆柱的体积是28.26 cm³,与它底面积和高都相等的圆锥的体积是( )cm³。
(3) 一个圆锥的体积是12.56 dm³,底面积是6.28 dm²,高是( )dm。
(1) 一个圆柱的底面半径是3 dm,高是10 dm,它的侧面积是( )dm²,体积是( )dm³。
(2) 一个圆锥的体积是28.26 cm³,与它底面积和高都相等的圆柱的体积是( )cm³。一个圆柱的体积是28.26 cm³,与它底面积和高都相等的圆锥的体积是( )cm³。
(3) 一个圆锥的体积是12.56 dm³,底面积是6.28 dm²,高是( )dm。
答案:
2. 选择题。
(1) 一个长方体和圆锥的底面积和高都相等,长方体的体积是圆锥的( )。
A. 3倍 B. $\frac{1}{3}$ C. $\frac{1}{4}$
(2) 下面三个图形中,是圆柱表面展开图的是( )。
A.![img id=1]
B.![img id=2]
C.![img id=3]

(1) 一个长方体和圆锥的底面积和高都相等,长方体的体积是圆锥的( )。
A. 3倍 B. $\frac{1}{3}$ C. $\frac{1}{4}$
(2) 下面三个图形中,是圆柱表面展开图的是( )。
A.![img id=1]
B.![img id=2]
C.![img id=3]
答案:
3. 解决问题。
(1) 将一堆底面周长为25.12 m、高为4.5 m的圆锥形麦堆,装进从里面量底面直径为8 m的圆柱形粮囤,正好装满。这个圆柱形粮囤的高是多少米?
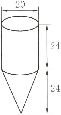
(2) 如图所示为实验室的一种玻璃容器,上面是圆柱,下面是圆锥。这个容器最多能装多少毫升水?(单位:cm,玻璃厚度忽略不计)

(1) 将一堆底面周长为25.12 m、高为4.5 m的圆锥形麦堆,装进从里面量底面直径为8 m的圆柱形粮囤,正好装满。这个圆柱形粮囤的高是多少米?
(2) 如图所示为实验室的一种玻璃容器,上面是圆柱,下面是圆锥。这个容器最多能装多少毫升水?(单位:cm,玻璃厚度忽略不计)
答案:
查看更多完整答案,请扫码查看