11. 如图所示,为防止燃气泄漏造成危险,可在食堂或家庭中安装报警器。下列燃气的性质中,能确定安装报警器位置的是(

A.毒性
B.密度
C.气味
D.溶解性
B
)。A.毒性
B.密度
C.气味
D.溶解性
答案:
B 解析:如果燃气的密度小于空气的密度,泄漏后会很快上升到室内的上方,接触报警器,因此报警器应安装在房间内墙上方的位置;如果燃气的密度大于空气的密度,泄漏后会聚集在下方,接触报警器,因此报警器应安装在房间内墙下方的位置。所以安装报警器的位置与燃气的密度有关。
12. 将燃着的蜡烛放在图 1 所示的密闭容器中,同时用氧气传感器测出密闭容器内氧气体积分数的变化如图 2 所示。下列说法不正确的是(

A.蜡烛燃烧需要氧气
B.蜡烛熄灭是因为密闭容器中的氧气被完全消耗
C.蜡烛燃烧前,密闭容器中氧气的体积分数为 21%
D.蜡烛燃烧的过程中同时发生物理变化和化学变化
B
)。A.蜡烛燃烧需要氧气
B.蜡烛熄灭是因为密闭容器中的氧气被完全消耗
C.蜡烛燃烧前,密闭容器中氧气的体积分数为 21%
D.蜡烛燃烧的过程中同时发生物理变化和化学变化
答案:
B 解析:反应前瓶内氧气的体积分数约是21%,反应后氧气的体积分数达到16%,氧气被消耗,说明蜡烛燃烧需要氧气,故A不符合题意;当氧气的体积分数达到16%时,蜡烛熄灭,蜡烛熄灭后,密闭容器中还有氧气,故B符合题意;由图示可知,蜡烛燃烧前,密闭容器中氧气的体积分数为21%,故C不符合题意;蜡烛燃烧的过程中,蜡烛熔化,没有新物质生成,属于物理变化,蜡烛燃烧,有新物质二氧化碳和水生成,属于化学变化,即蜡烛燃烧的过程中同时发生物理变化和化学变化,故D不符合题意。
13. 物质的性质很大程度上决定了物质的用途。以下是生产、生活中一些物质的用途:①铜用于制作导线;②酒精用作酒精灯的燃料;③氧气用于医疗急救;④金刚石用于切割玻璃;⑤以粮食为原料酿酒。请你从用途中体现出的主要性质角度,将上述用途分为两类:其中一类的分类标准是
体现物质的物理性质
,包括事例为①④
(填序号)。
答案:
13. 体现物质的物理性质 ①④(或体现物质的化学性质 ②③⑤)解析:①将铜制成导线,利用铜的导电性,体现出物理性质;②酒精用作酒精灯的燃料,利用酒精的可燃性,体现出化学性质;③氧气用于医疗急救,利用氧气能供给呼吸,体现出化学性质;④金刚石用于切割玻璃,利用金刚石的硬度大,体现出物理性质;⑤以粮食为原料酿酒,利用粮食可以发酵为酒精,体现出化学性质。
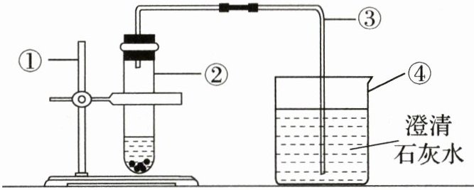
14. 把少量大理石放在干燥的容器②中,向其中加入少量稀盐酸,用配有玻璃弯管的橡胶塞塞紧容器口,使弯管的另一端伸入盛有澄清石灰水的容器④里,如图所示。请回答下列问题。
(1)写出图中标号为①②④的仪器名称。
①
(2)实验中观察到的现象:仪器②中的
(3)从实验中可以得出该变化中生成的气体是
(1)写出图中标号为①②④的仪器名称。
①
铁架台
,②试管
,④烧杯
。 (2)实验中观察到的现象:仪器②中的
固体减少,有气泡冒出
;仪器④里的澄清石灰水变浑浊
。 (3)从实验中可以得出该变化中生成的气体是
二氧化碳
;该变化属于化学
(填“物理”或“化学”)变化。
答案:
14. (1)铁架台 试管 烧杯 (2)固体减少,有气泡冒出 变浑浊 (3)二氧化碳 化学 解析:(2)大理石与稀盐酸反应的现象为固体减少,有气泡冒出。产生的气体为二氧化碳,故澄清石灰水变浑浊。(3)该反应产生二氧化碳气体,有新物质产生,故为化学变化。
查看更多完整答案,请扫码查看