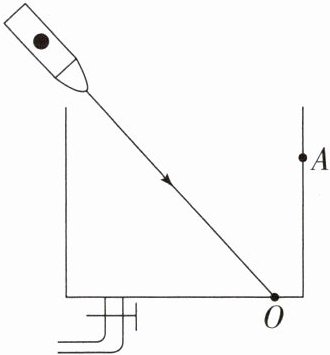
11. 如图所示,一支固定好的激光笔向空水槽底部固定点O打出一束激光。向水槽内加水使水面上升至A点,此时光斑在O点

左
侧,这是因为发生了光的折射
现象。打开水槽底部水龙头缓慢放水,同时观察到水槽底部光斑向右
移动。
答案:
左 光的折射 右
12. 一平面镜与竖直的墙面成$$ 45^{\circ} $$角且固定不变,如图所示,小球以1m/s的速度沿墙面竖直向下匀速下落,则小球在平面镜里的像以

1
m/s的速度沿水平向左
运动。
答案:
1 左
13. 如图所示,a、b是镜前一点光源S发出的光线经平面镜反射后的两条反射光线,请在图中根据反射光线a、b画出点光源S的位置。

答案:
如图所示
如图所示
14. 某同学用如图所示的器材“探究平面镜成像的特点”。在此实验中:

(1) 我们选用
(2) 取两支完全相同的蜡烛A和B,将蜡烛A点燃后放在玻璃板前10cm处,未点燃的蜡烛B放在玻璃板后且与玻璃板相距
(3) 实验时应在
(4) 当蜡烛A远离玻璃板时,蜡烛A的像的大小
(1) 我们选用
2mm厚的透明玻璃板
(选填“平面镜”“5mm厚的透明玻璃板”或“2mm厚的透明玻璃板”)的目的是便于确定像的位置。(2) 取两支完全相同的蜡烛A和B,将蜡烛A点燃后放在玻璃板前10cm处,未点燃的蜡烛B放在玻璃板后且与玻璃板相距
10
cm才能与蜡烛A的像完全重合。(3) 实验时应在
A
(选填“A”或“B”)侧观察蜡烛A经玻璃板所成的像。(4) 当蜡烛A远离玻璃板时,蜡烛A的像的大小
不变
(选填“变大”“变小”或“不变”)。
答案:
(1)2mm厚的透明玻璃板
(2)10
(3)A
(4)不变
(1)2mm厚的透明玻璃板
(2)10
(3)A
(4)不变
15. 在“探究光的反射定律”的实验中,小莉设计了如图所示的实验,平面镜放在水平桌面上,纸板可绕ON转动。

(1) 实验前,应将纸板
(2) 某时刻入射光线与镜面的夹角为$$ 30^{\circ} $$时,其反射角等于
(3) 将纸板A、B置于同一平面,一束光贴着纸板B沿FO射到O点,反射光束将沿图中的OE方向射出,说明光在反射时
(4) 在纸板前从不同方向都可以看到入射光EO的径迹,这是因为光在纸板上发生了
(1) 实验前,应将纸板
竖直(垂直)
放置于平面镜上。一束光EO贴着纸板A绕入射点O沿逆时针方向转动,可观察到反射光束OF沿顺
时针方向转动。(2) 某时刻入射光线与镜面的夹角为$$ 30^{\circ} $$时,其反射角等于
60°
。(3) 将纸板A、B置于同一平面,一束光贴着纸板B沿FO射到O点,反射光束将沿图中的OE方向射出,说明光在反射时
光路可逆
。(4) 在纸板前从不同方向都可以看到入射光EO的径迹,这是因为光在纸板上发生了
漫
反射。
答案:
(1)竖直(垂直) 顺
(2)60°
(3)光路可逆
(4)漫
(1)竖直(垂直) 顺
(2)60°
(3)光路可逆
(4)漫
查看更多完整答案,请扫码查看