2025年假期伴你行暑假八年级物理人教版合肥工业大学出版社
注:目前有些书本章节名称可能整理的还不是很完善,但都是按照顺序排列的,请同学们按照顺序仔细查找。练习册 2025年假期伴你行暑假八年级物理人教版合肥工业大学出版社 答案主要是用来给同学们做完题方便对答案用的,请勿直接抄袭。
第12页
- 第1页
- 第2页
- 第3页
- 第4页
- 第5页
- 第6页
- 第7页
- 第8页
- 第9页
- 第10页
- 第11页
- 第12页
- 第13页
- 第14页
- 第15页
- 第16页
- 第17页
- 第18页
- 第19页
- 第20页
- 第21页
- 第22页
- 第23页
- 第24页
- 第25页
- 第26页
- 第27页
- 第28页
- 第29页
- 第30页
- 第31页
- 第32页
- 第33页
- 第34页
- 第35页
- 第36页
- 第37页
- 第38页
- 第39页
- 第40页
- 第41页
- 第42页
- 第43页
- 第44页
- 第45页
- 第46页
- 第47页
- 第48页
- 第49页
- 第50页
- 第51页
- 第52页
- 第53页
- 第54页
- 第55页
- 第56页
- 第57页
- 第58页
- 第59页
- 第60页
- 第61页
- 第62页
- 第63页
- 第64页
- 第65页
- 第66页
- 第67页
- 第68页
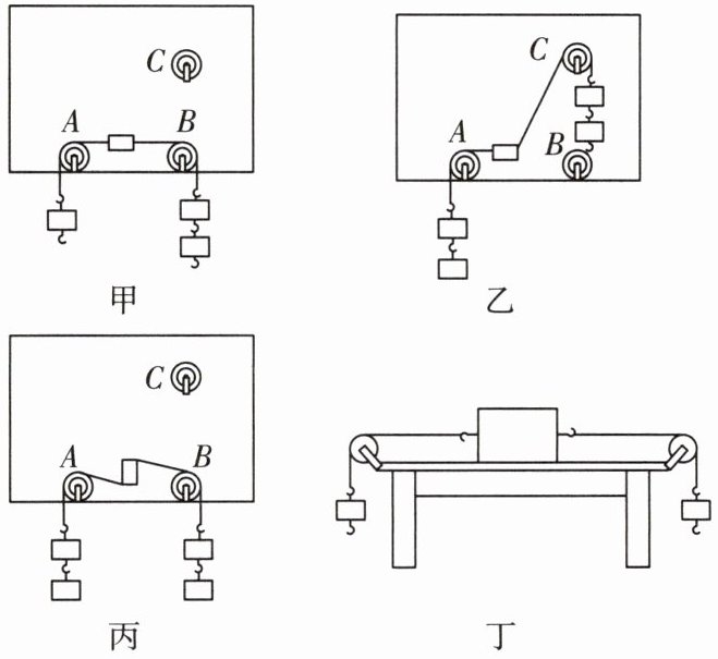
18. (12分)小华同学用下面的装置探究二力平衡的条件,具体操作如下:

(1)如图甲所示,用直径略小于滑轮孔径的铁钉把三个滑轮A、B、C分别钉在木板上,木板竖直挂起待用,用大号缝衣针把细线沿轻质塑料块的中心轴线穿过,并在紧靠塑料块的两侧各打一线结,使塑料块与细线固定在一起,且塑料块不与木板接触。将塑料块由静止开始运动,实验表明,作用在同一个物体上的两个力,方向相反,但
(2)按住塑料块,把跨过B轮的细线移到C轮上,在两线端挂上相同质量的钩码,松手后塑料块由静止开始转动,如图乙所示。按住塑料块,把跨过C轮的细线移到B轮上,把塑料块转过90°,松手后塑料块由静止开始转动,如图丙所示。由此表明,作用在同一物体上的两个力,如果仅仅大小相等,方向成某一角度或方向相反但
(3)在探究同一问题时,另一同学将木块放在水平桌面上,设计了如图丁的实验,同学们认为小华的实验优于此实验,其主要原因是
A. 塑料块容易扭转
B. 塑料块是比较容易获取的材料
C. 减少了摩擦力对实验结果的影响
(1)如图甲所示,用直径略小于滑轮孔径的铁钉把三个滑轮A、B、C分别钉在木板上,木板竖直挂起待用,用大号缝衣针把细线沿轻质塑料块的中心轴线穿过,并在紧靠塑料块的两侧各打一线结,使塑料块与细线固定在一起,且塑料块不与木板接触。将塑料块由静止开始运动,实验表明,作用在同一个物体上的两个力,方向相反,但
大小
不相等,则这两个力不平衡。(2)按住塑料块,把跨过B轮的细线移到C轮上,在两线端挂上相同质量的钩码,松手后塑料块由静止开始转动,如图乙所示。按住塑料块,把跨过C轮的细线移到B轮上,把塑料块转过90°,松手后塑料块由静止开始转动,如图丙所示。由此表明,作用在同一物体上的两个力,如果仅仅大小相等,方向成某一角度或方向相反但
不在同一直线上
,这两个力不平衡。(3)在探究同一问题时,另一同学将木块放在水平桌面上,设计了如图丁的实验,同学们认为小华的实验优于此实验,其主要原因是
C
(填字母序号)。A. 塑料块容易扭转
B. 塑料块是比较容易获取的材料
C. 减少了摩擦力对实验结果的影响
答案:
(1)大小
(2)不在同一直线上
(3)C
(1)大小
(2)不在同一直线上
(3)C
19. 在一个周末,小雅和她的父母一起去看“森林密语”马戏表演。在马戏表演中,坐在奔跑的马上的演员突然从马背上跳起,正当小雅和其他观众都担心他会摔在马后时,他却稳稳地落在马背上,这是什么原因?请从物理的角度分析。
答案:
演员坐在马背上,他同马一起以同样的速度向前运动。当他从马背上跳起时,由于惯性,他将仍保持原来的速度向前运动。在他跳起腾空的这段时间内,演员和马向前运动的距离相同,所以演员能够稳稳地落在马背上。
查看更多完整答案,请扫码查看