第28页
- 第1页
- 第2页
- 第3页
- 第4页
- 第5页
- 第6页
- 第7页
- 第8页
- 第9页
- 第10页
- 第11页
- 第12页
- 第13页
- 第14页
- 第15页
- 第16页
- 第17页
- 第18页
- 第19页
- 第20页
- 第21页
- 第22页
- 第23页
- 第24页
- 第25页
- 第26页
- 第27页
- 第28页
- 第29页
- 第30页
- 第31页
- 第32页
- 第33页
- 第34页
- 第35页
- 第36页
- 第37页
- 第38页
- 第39页
- 第40页
- 第41页
- 第42页
- 第43页
- 第44页
- 第45页
- 第46页
- 第47页
- 第48页
- 第49页
- 第50页
- 第51页
- 第52页
- 第53页
- 第54页
- 第55页
- 第56页
- 第57页
- 第58页
- 第59页
- 第60页
- 第61页
- 第62页
- 第63页
- 第64页
- 第65页
- 第66页
- 第67页
- 第68页
- 第69页
- 第70页
- 第71页
- 第72页
- 第73页
- 第74页
- 第75页
- 第76页
- 第77页
- 第78页
- 第79页
- 第80页
- 第81页
- 第82页
- 第83页
- 第84页
- 第85页
- 第86页
- 第87页
- 第88页
- 第89页
- 第90页
- 第91页
- 第92页
- 第93页
- 第94页
- 第95页
- 第96页
- 第97页
1. 看图在括号里填上角的名称。

( )角( )角( )角( )角( )角
( )角( )角( )角( )角( )角
答案:
直 平 锐 周 钝
2. 根据度数分一分。
55°90°30°100°115°145°180°360°
钝角锐角直角平角周角

55°90°30°100°115°145°180°360°
钝角锐角直角平角周角
答案:
钝角:100°,115°,145°;
锐角:55°,30°;
直角:90°;
平角:180°;
周角:360°。
锐角:55°,30°;
直角:90°;
平角:180°;
周角:360°。
3. 照样子,连一连。

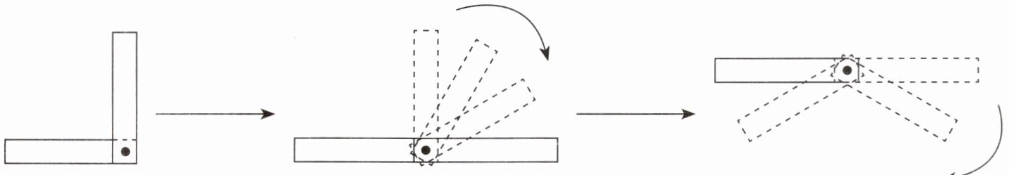
如图,把两张硬纸条钉在一起,组成了一个角。旋转其中一条边,直到两条边成一条直线,这时形成的角是( )角;继续旋转这条边,直到两条边重合,这时形成的角是( )角,它的度数等于( )个直角的度数之和。

如图,把两张硬纸条钉在一起,组成了一个角。旋转其中一条边,直到两条边成一条直线,这时形成的角是( )角;继续旋转这条边,直到两条边重合,这时形成的角是( )角,它的度数等于( )个直角的度数之和。
答案:
【解析】:
1. 根据角的分类进行连线:
平角:等于180°。
钝角:大于90°,小于180°。
周角:等于360°。
锐角:小于90°。
直角:等于90°。
1时:锐角。
3时:直角。
5时:钝角。
6时:平角。
12时:周角。
2. 把两张硬纸条钉在一起,组成了一个角。旋转其中一条边,直到两条边成一条直线,这时形成的角是平角;继续旋转这条边,直到两条边重合,这时形成的角是周角,它的度数等于4个直角的度数之和。
【答案】:
3. 如图(文字描述连线情况):
平角——等于180°;钝角——大于90°,小于180°;周角——等于360°;锐角——小于90°;直角——等于90°;1时——锐角;3时——直角;5时——钝角;6时——平角;12时——周角。
下题答案:平;周;4
1. 根据角的分类进行连线:
平角:等于180°。
钝角:大于90°,小于180°。
周角:等于360°。
锐角:小于90°。
直角:等于90°。
1时:锐角。
3时:直角。
5时:钝角。
6时:平角。
12时:周角。
2. 把两张硬纸条钉在一起,组成了一个角。旋转其中一条边,直到两条边成一条直线,这时形成的角是平角;继续旋转这条边,直到两条边重合,这时形成的角是周角,它的度数等于4个直角的度数之和。
【答案】:
3. 如图(文字描述连线情况):
平角——等于180°;钝角——大于90°,小于180°;周角——等于360°;锐角——小于90°;直角——等于90°;1时——锐角;3时——直角;5时——钝角;6时——平角;12时——周角。
下题答案:平;周;4
查看更多完整答案,请扫码查看