1.一物体竖直向上抛出,从开始抛出到落回抛出点所经历的时间是t,上升的最大高度是H,所受空气阻大小恒为F,则在时间t内                                                                                  (    )

       A.物体受重力的冲量为零

       B.在上升过程中空气阻力对物体的冲量比下降过程中的冲量小

       C.物体动量的增量大于抛出时的冲量

       D.物体机械能的减小量等于FH

试题详情>>

2.质量为m的均匀木块静止在光滑水平面上,木块左右两侧各有一位拿着相同步枪和子弹的射击手。首先左侧射手开始,子弹水平射入木块的最大深度为d1,然后右侧射手开枪,子弹水平射入木块的最大深度为d2,设子弹均未射穿木块,且两颗子弹与木块之间的作用力大小均相同。当两颗子弹均相对于木块静止时,下列说法正确的是(    )

       A.木块静止,d1=d2                                                               B.木块向右运动,d1<d2

       C.木块静止,d1<d                               D.木块向右运动,d1=d2

试题详情>>

3.图中实线是一簇未标明方向的由点电荷产生的电场线,虚线是某一带电粒子通过该电场区域时的运动轨迹,a,b是轨迹上的两点,若带电粒子在运动中只受电场力作用,根据此图可作出正确判断的是                          (    )

试题详情>>

       A.带电粒子所带电荷的符号

       B.带电粒子在a、b两点的受力方向

       C.带电粒子在a、b 两点的速度何处较大

       D.带电粒子在a、b两点的电势能何处较大

试题详情>>

4.在下图所示的实验装置中,平行板电容器的极板B与一灵敏的静电计相接,极板A接地。若极板A稍向左移动一点,由观察到的静电计指针变化作出平行板电容器电容变小的结论的依据是                               (    )

试题详情>>

       A.两极板间的电压不变,极板上的电量变小

       B.两极板间的电压不变,极板上的电量变大

       C.极板上的电量几乎不变,两极板间的电压变小

       D.极板上的电量几乎不变,两极板间的电压变大

试题详情>>

5.如图所示,两根水平放置的长直导线a和b载有大小相同方向相反的电流,a受到的磁场力大小为F1。当再加入一个与两导线所在平面垂直的匀强磁场后,a受到的磁场力大小变为F2,则此时b受到的磁场力大小变为                    (    )

试题详情>>

       A.F2                      B.F1-F2                C.F1+F2                D.2F1-F2

试题详情>>

6.如图所示,电路中灯泡L1和L2都不亮,用电压表测得电路各部分的电压分别为:Uab=0,Ubc=U,Udc=0,Uad=U。则电路中存在的故障是                    (    )

试题详情>>

       A.变阻器R短路                                  B.变阻器R断路

       C.灯泡L1断路                                  D.灯泡L1和L2都断路

试题详情>>

7.将导体放在沿x方向的匀强磁场中,并通有沿y方向的电流时,在导体的上下两侧面间会出现电势差,此现象称为霍尔效应。利用霍尔效应的原理可以制造磁强计,测量磁场的磁感应强度。磁强计的原理如图所示,电路中有一段金属导体,它的横截面为边长等于a的正方形,放在沿x正方向的匀强磁场中,导体中通有沿y方向、电流强度为I的电流。已知金属导体单位体积中的自由电子数为n,电子电量为e,金属导体导电过程中,自由电子所做的定向移动可以认为是匀速运动。现测出导体上下两侧面间的电势差为U,则磁场的磁感应强度为       (    )

试题详情>>

       A.          B.         C.          D.

试题详情>>

8.如图所示,闭合线圈上方有一竖直放置的条形磁铁,磁铁的N极朝下。当磁铁向下运动时(但未插入线圈内部),则(    )

试题详情>>

A.线圈中感应电流的方向与图中箭头方向相同,磁铁与线圈相互吸引

B.线圈中感应电流的方向与图中箭头方向相同,磁铁与线圈相互排斥

C.线圈中感应电流的方向与图中箭头方向相反,磁铁与线圈相互吸引

D.线圈中感应电流的方向与图中箭头方向相反,磁铁与线圈相互排斥

试题详情>>

9.如图所示,ab、cd是两根相距为l的平行直导轨,b、d间连有一固定电阻R,导轨电阻可忽略不计。MN是放在导轨ab和cd上的一导体杆,与ab垂直,其电阻也为R。整个装置处于匀强磁场中,磁感应强度的大小为B,磁场方向垂直于导轨所在平面(指向图中纸面内)。现对MN施力使它沿导轨方向以速度v(如图)做匀速运动。令U表示MN两端电压的大小,则                                                                          (    )

试题详情>>

A.流过固定电阻R的感应电流由bd

试题详情>>

       B.M点的电势比N点的电势高

试题详情>>

       C.流过固定电阻R的感应电流由b    

试题详情>>

       D.N点的电势比M点的高

试题详情>>

10.正弦交流电源与电阻R、交流电压表按图1所示的方式连接,R=20Ω,交流电压表的示数是100V。图2是交变电源输出电压u随时间t变化的图象,则            (    )

试题详情>>

A.通过R的电流iR随时间t变化的规律是iR=cos100πt (A)

试题详情>>

B.通过R的电流iR随时间t变化的规律是iR=cos50πt (A)

C.R两端的电压uR随时间t变化的规律是uR=100cos100πt (V)

D.R两端的电压uR随时间t变化的规律是uR=50cos50πt (V)

第二部分 非选择题(110分)

试题详情>>

11.(6分)在研究电磁感应现象的实验中所用的器材如图所示,它们是:

    a. 电流计  b. 直流电源  c. 带铁心的线圈A   d. 线圈B   e. 电键  

f. 滑动变阻器.(用来控制电流以改变磁场强弱)

   (1)试按实验的要求在实物图上连线(图中已连好一根导线)。(4分)

   (2)若连接滑动变阻器的两根导线接在线柱C和D上,而在电键刚闭合时电流计指针右偏,则电键闭合后滑动变阻器的滑动触头向接线柱C移动时,电流计指针将____。(填“左偏”、“右偏”或“不偏)。(2分)

试题详情>>

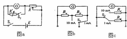
12.(9分)现有一块59C2型的小量程电流表G(表头),满偏电流为50μA,内阻约为800~850Ω,把它改装成1mA、10mA的两量程电流表。

    可供选择的器材有:

滑动变阻器R1,最大阻值20Ω;        滑动变阻器R2,最大阻值100kΩ

电阻箱R′,最大阻值9999Ω;            定值电阻R0,阻值1 kΩ;

试题详情>>

电池E1,电动势1.5V;                        电池E2,电动势3.0V;

试题详情>>

电池E3,电动势4.5V;(所有电池内阻均不计)    

试题详情>>

标准电流表A,满偏电流1.5mA;           单刀单掷开关S1和S2,单刀双掷开关S3,电阻丝及导线若干。

   (1)采用如图a所示电路测量表头的内阻,为提高测量精确度,选用的滑动变阻器为       ;选用的电池为        。(2分)

试题详情>>

   (2)将G改装成两量程电流表。现有两种备选电路,示于图b和图c。图      为合理电路,另一电路不合理的是                     。(3分)

试题详情>>

   (3)将改装后的电流表与标准电流表逐格进行核对(仅核对1 mA量程),再虚线框中画出所用电路图,图中待核对的电流表符号用来表示。(4分)

试题详情>>

13.(12分)小灯泡灯丝的电阻会随温度的升高而增大,某同学为研究这一现象,利用下列实验器材:电压表、电流表、滑动变阻器(变化范围0―10Ω)、电源、小灯泡、开关、导线若干来设计实验,并通过实验得到如下数据(I和U分别表示小灯泡上的电流和电压)

I/A

0

试题详情>>

0.50

U/V

0

试题详情>>

   (1)请在上面的方框中画出实验电路图(4分)

   (2)在上图中画出小灯泡的I―U曲线(4分)

试题详情>>

   (3)把本题中的小灯泡接到图示电路中,若电源电动势E=2.0V,内阻不计,定值电阻R=5Ω,则此时小灯泡的功率是   W(4分)

试题详情>>

14.(13分)有一电源,电动势为30V,内阻为1Ω,将它与一盏额定电压为6V、额定功率为12W的小灯泡和一台线圈电阻为2Ω的电动机串联形成闭合回路,小灯泡刚好正常发光。求电动机的输出功率。

试题详情>>

15.(16分)一个正方表导线圈边长a=0.2m,共有N=100匝,其电阻r=4Ω,线圈与阻值R=16Ω的外电阻连成闭合回路,线圈所在区域存在着匀强磁场,磁场方向垂直线圈所在平面,如图甲所示,磁场的大小随时间作周期性变化,如图乙所示,求:(1)0.01s时间内通过电阻R的电流大小;(2)t=3s内阻R所产生的焦耳热。

试题详情>>

16.(16分)如图所示,水平放置的两块长直平行金属板a、b相距d=0.10m,a、b间的电场强度为E=5.0×105N/C,b板下方整个空间存在着磁感应强度大小为B=6.0T、方向垂直纸面向里的匀强磁场.今有一质量为m=4.8×10-25kg、电荷量为q=1.6×10-18C的带正电的粒子(不计重力),从贴近a板的左端以v0 =1.0×106m/s的初速度水平射入匀强电场,刚好从狭缝P处穿过b板而垂直进入匀强磁场,最后粒子回到b板的Q处(图中未画出).求PQ之间的距离L。

试题详情>>

17.(18分)质量为M=6kg的小车放在光滑的水平面上,物块A和B的质量均为m=2kg,且均放在小车的光滑水平底板上,物块A和小车右侧壁用一根轻质弹簧连接,不会分离,如图所示。物块A和B并排靠在一起,现用力向右压B,并保持小车静止,使弹簧处于压缩状态,在此过程中外力做功270J。撤去外力,当A和B分开后,在A达到小车底板的最左端位置之前,B已从小车左端抛出。求:

   (1)B与A分离时,小车的速度是多大?

   (2)从撤去外力至B与A分离时,A对B做了多少功?

   (3)假设弹簧伸到最长时B已离开小车,A仍在车上,那么此时弹簧的弹性势能是多大?

试题详情>>

18.(20分)如图所示,金属线圈abcd,匝数为N,单位长度电阻值为R0,ab边长为d,ac边长为l。金属线圈绕轴OO′,以角速度ω做匀速转动,匀强磁场的磁感应强度为B。从金属线圈的平面与中性面垂直时开始计时,求

   (1)线圈中产生感应电动势的最大值和瞬时值的表达式;

   (2)在转过60°角的过程中,线圈中产生的平均感应电动势;

   (3)在转过60°角的过程中,流过金属导线某截面的电量;

   (4)在匀速转过60°角瞬间,线圈ab边所受安培力的大小;

   (5)不计转轴摩擦,外力驱动金属线圈匀速转动的平均功率。

试题详情>>
关闭