14.被活塞封闭在气缸中的一定质量的气体(不计分子间作用力),当温度升高,压强保持不变时,下列说法正确的是                                                                 (    )

       A.气缸中每个气体分子的速率都增大

       B.气缸中单位体积气体分子数减少

20090427

       D.气缸中的气体吸收的热量大于气体内能的增加量

试题详情>>

15.使某金属X发生光电效应所需的光子最小能量为2.60eV。已知一群氢原子处于量子数n=3的激发态,其能级如图所示,这些氢原子能够自发地跃迁到较低的能量状态,并向外辐射多种频率的光,其中能够使这种金属X发生光电效应的光子的频率有              (    )

试题详情>>

       A.一种                   B.二种                   C.三种                   D.四种

试题详情>>

16.一列振幅为5cm的简谐横波沿x轴传播,质点P、Q的平衡位置是x轴上相距0.6m的两点,质点R的平衡位置在Q点的平衡位置右侧且小于四分之一的波长处,如图所示。t=10时刻质点P正通过平衡位置向上运动,质点Q刚好到达正向最大位移处,若波的传播速度为120m/s,且波长大于0.5m,则下列选项正确的是             (    )

试题详情>>

       A.此波的波长可能是2.4m

       B.此波的频率一定是150Hz

试题详情>>

       C.经过时间t=0.015s,质点P可能到达正向最大位移键

       D.质点R此后第一次到达最低点经过的路程一定小于15┩

试题详情>>

17.如图所示,A、B两个楔形物体叠放在一起。B靠在竖直墙壁上,在水平力F的作用下,A、B静止不动,则下列说法正确的是                                                 (    )

试题详情>>

A.若A受力三个力,B可能受三个力

       B.若A受三个力,B一定受四个力

       C.若A受三个力,B可能受四个力

       D.A、B之间一定存在摩擦力

试题详情>>

18.如图所示,水平抛出的物体,到达一固定斜面上端P处时,其速度方向沿着斜面方向,然后沿斜面无摩擦滑下。下列图象是描述物体沿水平x方向和竖直y方向两个分子运动的速度――时间图象,其中能正确反映物体从抛出斜面底端Q点的运动情况是(    )

试题详情>>

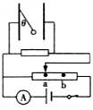
19.竖直放置的一对固定的平行金属板并联在阻值为R的电阻两端,金属板的左极板上用绝缘线悬挂了一个带正电的小球,将平行金属板按图所示的电路图连接,电源和电流表的内阻均不计。已知滑动变阻器最大值为R,a、b两点将滑动变阻器阻值三等分。当滑动变阻器的滑片在a位置时,小球处于静止状态,电流表的读数为I1,绝缘线与左极板的夹角为θ1;当滑片在b位置时,小球再次达到静止状态,电流表的读数为I2,绝缘线与左极板的夹角为θ2。则下列选项正确的是(    )

试题详情>>

       A.θ12I1< I2                                    B.θ12、I1> I2

       C.θ12I1= I2                                    D.θ12、I1=I2

试题详情>>

20.光滑绝缘水平面上,一点电荷固定在P点,有一个质量为m的带负电的试探电荷以初速度v0由A点向P点运动,至B点时速度刚好为零,C是AB的中点。则下列说法正确的是                                           (    )

试题详情>>

       A.试探电荷的加速度越来越小

试题详情>>

       B.A、B、C三点电势的关系为

       C.AC间与CB间电势差相等

试题详情>>

       D.试探电荷由A至B的过程中电势能增加了

试题详情>>

21.如图所示,足够长的斜面体C质量为M,始终静止在水平面上,一质量为m的正方形木板A,上表面光滑,木板A获得初速度v0后恰好能沿着斜面匀速下滑。当木板A匀速下滑时,将一质量也为m的滑块B轻轻地放在木板A上表面(题中未画出,设B初速度为0),关于滑块B在木板A上滑动的过程中,下列说法正确的是       (    )

试题详情>>

       A.滑块B的动量为时,木块A和滑块B的速度大小相等

试题详情>>

       B.滑块B的动量为时,斜面对水平面压力大小为(M+2m)g

试题详情>>

       C.滑块B的动量为时,木板A的动量为0

试题详情>>

       D.滑块B的动量为时,水平面对斜面体的摩擦力向右

非选择题

试题详情>>

22.(17分)

    I:(8分)如图是某同学用打点计时器打出的一条纸带,图上注明了他对各计数点间距离 的测量结果,相邻两计数点间有4个点未画出。交流电的频率为50Hz,打下计数点C时纸带的瞬时速度为       m/s。纸带的加速度为         m/s2。(充分利用已知数据,尽量减小误差,结果保留三位有效数字)

试题详情>>

    II:(9分)现有一种特殊的电池,它的电动势E约为10V,内阻r约为50Ω,已知该电池允许输出的最大电流为50mA,为了测定这个电池的电动势和内阻,某同学利用如图(a)所示的电路进行实验,图中电压表的内阻很大,对电路的影响可不考虑,R为电阻箱,阻值范围为0~9999Ω,R0是定值电阻,起保护电路的作用。

试题详情>>

   (1)实验室备有的定值电阻R0有以下几种规格:

试题详情>>

            A.10Ω  2.5W                                B.100Ω  1.0W

试题详情>>

            C.200Ω  1.0W                               D.2000Ω  5.0W

        本实验应选哪一种规格?答           。(填表示选项的字母)

试题详情>>

   (2)该同学接人符合要求的R0后,闭合开关S,调整电阻箱的阻值,读取电压表的示数,改变电阻箱阻值,取得多组数据,作出了如图(b)所示的图线。则根据该同学所作出的图线可求得该电池的电动势E为          v,内阻r为         。(保留两位有效数字)

试题详情>>

23.(16分)如图所示,两个质量分别为2m和m的小球(均可看作质点)用长为的不可伸长的轻线相连。将轻线水平拉直,并让两小球由静止开始同时自由下落。下落h高度时,线的中点碰到插在O点的水平钉子上后瞬间粘在钉子上,然后两小球均以O为圆心,为半径做圆周运动,撞钉过程能量损失不计且不考虑两球相碰后的运动过程。如果细线能承受的最大拉力为8mg,要使线在最低点被拉断,高度h不超过多少?

试题详情>>

20090427

试题详情>>

   (1)线框ab边到达gg’和中间位置时的速度为多少?

试题详情>>

   (2)线框从开始进入上边的磁场至ab边到达gg’和中间位置的过程中产生的热量为多少?

试题详情>>

25.(20分)如图所示,在直角坐标系的第Ⅳ象限中存在竖直向上大小为E=20N/C的匀强电场和垂直纸面向里大小为B=0.5T的匀强磁场,两场正交的剖面区域为边长L=5m的正方形ABCD。现有两个可看作质点的小球从区域的A、D两点水平射入场区,已知A点入射小球l带正电,带电量为q=1.6×10-3C、质量m=3.2×10-3kg,速度是;D点入射小球2不带电,速度为。重力加速度取10m/s2。求:(结果可用根式表示)

试题详情>>

   (1)当时.请计算相关数据,并根据所得数据在正方形ABCD内画出两个球运动的轨迹,并求出轨迹交点的坐标;

试题详情>>

   (2)保持的速度不变,则速度满足什么条件时两小球的运动轨迹一定不存在交点,并说明理由。

试题详情>>
关闭