第28页
- 第1页
- 第2页
- 第3页
- 第4页
- 第5页
- 第6页
- 第7页
- 第8页
- 第9页
- 第10页
- 第11页
- 第12页
- 第13页
- 第14页
- 第15页
- 第16页
- 第17页
- 第18页
- 第19页
- 第20页
- 第21页
- 第22页
- 第23页
- 第24页
- 第25页
- 第26页
- 第27页
- 第28页
- 第29页
- 第30页
- 第31页
- 第32页
- 第33页
- 第34页
- 第35页
- 第36页
- 第37页
- 第38页
- 第39页
- 第40页
- 第41页
- 第42页
- 第43页
- 第44页
- 第45页
- 第46页
- 第47页
- 第48页
- 第49页
- 第50页
- 第51页
- 第52页
- 第53页
- 第54页
- 第55页
- 第56页
- 第57页
- 第58页
- 第59页
- 第60页
- 第61页
- 第62页
- 第63页
- 第64页
- 第65页
- 第66页
- 第67页
- 第68页
- 第69页
- 第70页
- 第71页
- 第72页
- 第73页
- 第74页
- 第75页
- 第76页
- 第77页
- 第78页
- 第79页
- 第80页
- 第81页
- 第82页
- 第83页
- 第84页
- 第85页
- 第86页
- 第87页
- 第88页
- 第89页
- 第90页
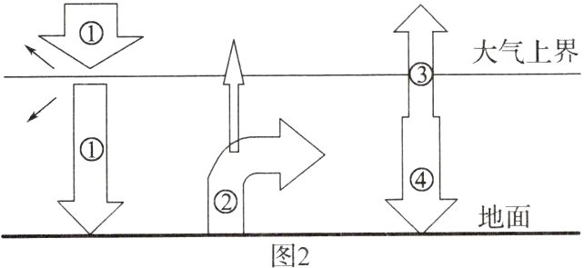
(2024·沧州高一检测)温室大棚多用于低温季节喜温蔬菜、花卉、林木等植物的栽培或育苗等。图1示意某地大棚温室景观,图2为大气受热过程示意图。据此完成1、2题。


1. 大棚温室顶棚能够顺利透过的是( )
A. ①
B. ②
C. ③
D. ④
2. 冬季为了保温,菜农一般在傍晚往大棚内洒水,这样可使( )
A. ①减弱
B. ②减弱
C. ③增强
D. ④增强
1. 大棚温室顶棚能够顺利透过的是( )
A. ①
B. ②
C. ③
D. ④
2. 冬季为了保温,菜农一般在傍晚往大棚内洒水,这样可使( )
A. ①减弱
B. ②减弱
C. ③增强
D. ④增强
答案:
1.A 2.D 第1题,大棚温室顶棚能够顺利透过的是太阳辐射。图中①②③④分别表示太阳辐射、地面辐射、散失到宇宙空间的大气辐射和大气逆辐射。第2题,菜农在傍晚往大棚内洒水,可以通过水分蒸发增加大棚中空气的湿度,水蒸气对地面长波辐射吸收能力强,并且通过大气逆辐射把热量还给地面,从而起到保温作用。图中①②③④分别表示太阳辐射、地面辐射、散失到宇宙空间的大气辐射和大气逆辐射,D正确。在傍晚往大棚内洒水对太阳辐射和地面辐射无影响,散失到宇宙空间的大气辐射减少,A、B、C错误。
地球气温的变化受到多种因素的影响,包括太阳辐射、大气成分、云覆盖、地表反照率等。近年来,人类活动也对地球气温的变化产生了影响。下图示意全球年平均气温距平(与平均值的差)变化(含预测)。据此完成3~5题。

3. 导致近年来地球气温变化的因素是( )
A. 太阳辐射
B. 大气成分
C. 云覆盖
D. 地表反照率
4. 图示气温变化主要体现在地球大气层的( )
A. 对流层
B. 平流层
C. 高层大气
D. 臭氧层
5. 下列措施有利于缓解地球气温上升的是( )
A. 推广使用无磷洗衣粉
B. 节约用水
C. 节约用纸
D. 农田施用有机肥
3. 导致近年来地球气温变化的因素是( )
A. 太阳辐射
B. 大气成分
C. 云覆盖
D. 地表反照率
4. 图示气温变化主要体现在地球大气层的( )
A. 对流层
B. 平流层
C. 高层大气
D. 臭氧层
5. 下列措施有利于缓解地球气温上升的是( )
A. 推广使用无磷洗衣粉
B. 节约用水
C. 节约用纸
D. 农田施用有机肥
答案:
3.B 4.A 5.C 第3题,近年来地球气温显著升高,其原因是温室气体排放增多;太阳辐射、云覆盖、地表反照率变化不大,不是主要原因。第4题,地球气温变化主要是近地面对流层大气温度的变化,对流层也是与人类关系最密切的圈层;平流层的热量来源于平流层大气中臭氧吸收太阳辐射中的紫外线增温,大气最外界是高层大气,它是靠直接吸收太阳辐射而增温的。第5题,针对地球近年来气温上升的问题,主要是减少大气CO₂浓度,有效措施有节约用纸,减少森林砍伐等。推广使用无磷洗衣粉有利于改善水体环境;节约用水可缓解水资源紧张状况;农田施用有机肥有利于提高作物品质,均与气候变暖关系不大。
查看更多完整答案,请扫码查看