第9题图                         第10题图

 

  • 答案

一、选择题(本大题共10小题,每小题4分,共40分)

1.B 2.C 3.D 4.C 5.A 6.C 7.B 8.A 9.C 10.A

二、填空题(本大题共4小题,每小题4分,共16分)

11.-4,13

12.75,83

13.203 722 104 088

14.0.2

三、解答题(本大题共3小题,共34分.)

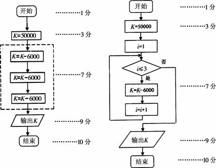
15.(本题满分10分)

解:程序框图如下:

由其他算法得到的程序框图如果合理,请参照上面评分标准给分.

16.(本题满分12分)

解:(60+80+70+90+70)=74………………………………………………………………2分

(80+60+70+80+75)=73………………………………………………………………4分

s===2………………………………………………………………6分

s===2………………………………………………………………8分

>>………………………………………………………………10分

∴甲的平均成绩较好,乙的各门功课发展较平衡………………………………………………………………12分

17.(本题满分12分)

解:(1)分别记白球为1,2,3号,黑球为4,5号.从口袋中每次任取一球,每次取出不放回,连续取两次,其一切可能的结果组成的基本事件(第一次摸到1号,第二次摸到2号球用(1,2)表示)空间为:Ω={(1,2),(2,1),(1,3),(3,1),(1,4),(4,1),(1,5),(5,1),(2,3),(3,2),(2,4),(4,2),(2,5),(5,2),(3,4),(4,3),(3,5),(5,3),(4,5),(5,4)},共有20个基本事件,且上述20个基本事件发生的可能性相同. ………………………………………………………………4分

记“取出的两只球都是白球”为事件A. ………………………………………………………………5分

A={(1,2),(2,1),(1,3),(3,1),(2,3),(3,2)},共有6个基本事件. ………………………………………7分

故P(A)==.

所以取出的两只球都是白球的概率为.………………………………………………………………8分

(2)设“取出的两只球中至少有一个白球”为事件B,则其对立事件为“取出的两只球均为黑球”. ………9分  

={(4,5),(5,4)},共有2个基本事件. ………………………………………………………………10分

则P(B)=1-P()=1-=………………………………………………………………11分

所以取出的两只球中至少有一个白球的概率为………………………………………………………………12分

卷二

一、填空题(每小题4分,共16分)

1.1; 2.;  3.;4.6 500

二、解答题(本大题共2小题,共14分)

(本题8分)解:(1)从5张卡片中,任取两张卡片,其一切可能的结果组成的基本事件空间为Ω={(0,1),(0,2),(0,3),(0,4),(1,2),(1,3),(1,4),(2,3),(2,4),(3,4)},共有10个基本事件,且这10个基本事件发生的可能性相同. ……1分

记“两张卡片上的数字之和等于4”为事件A.

A={(0,4),(1,3)},共有2个基本事件. ………………………………………………………………2分

所以P(A)==………………………………………………………………3分

所以,从中任取两张卡片,两张卡片上的数字之和等于4的概率为…………………………………4分

(2)从5张卡片中,有放回地抽取两次卡片,其一切可能的结果组成的基本事件空间为Ω={(x,y)|x∈N,y∈N,0≤x≤4,0≤y≤4},共有25个基本事件. ……………5分

记“两次取出的卡片上的数字之和恰好等于4”为事件B.

B={(0,4),(4,0),(1,3),(3,1),(2,2)},共有5个基本事件. ……………6分

则P(B)==……………7分

所以,两次取出的卡片上的数字之和恰好等于4的概率为……………8分

6.(本题6分)

解:(Ⅰ)语句“y=y+2”的含义是数列{yn},满足y2n1=y2n1+2,y1=2,

y2 009是以2为公差的等差数列的第1 005项,所以y2 009=2+1 004×2=2 010……………2分

(2)语句“x=x+3”和“x=4x”的含义是

xn1=(k∈N*),其中x1=4;x2n1=4x2n=4(x2n1+3) ……………4分

即有x2n1+4=4(x2n1+4)令an=x2n1+4,则数列{an}是以8为首项,4为公比的等比数列,所以an=8×4n1=2×4n,所以x2n1=2×4n1-4

令x2n1>22 008-4,即2×4n1-4>22 008-4,所以22n3>22 008,所以2n+3>2 008

即2n+1>2 006,易知输出框中的“n”即为上述的“2n+1”

因此输出的n值为2 007. ……………6分

其他正确解法按相应步骤给分.

关闭