5.【答案】:2.04,1.5

试题详情>>

【解析】:依题意,第一列数据为时间的平方t2,从数据分析可知第一列数据与第三列数据之比约为1:32(取平均值后比值为1:32.75),即斜面长度与时间的平方成正比,根据当时数据与现在的数据换算关系和匀变速运动公式,可得角度约为1.5°。

 

试题详情>>

20.(2008年高考理综天津卷20题)一个静止的质点,在0~4s时间内受到力F的作用,力的方向始终在同一直线上,力F随时间t的变化如图所示,则质点在

A.第2s末速度改变方向

B.第2s末位移改变方向

C.第4s末回到原出发点

D.第4s末运动速度为零

试题详情>>

20、D【解析】这是一个物体的受力和时间关系的图像,从图像可以看出在前两秒力的方向和运动的方向相同,物体经历了一个加速度逐渐增大的加速运动和加速度逐渐减小的加速运动,2少末速度达到最大,从2秒末开始到4秒末运动的方向没有发生改变而力的方向发生了改变与运动的方向相反,物体又经历了一个加速度逐渐增大的减速运动和加速度逐渐减小的减速的和前2秒运动相反的运动情况,4秒末速度为零,物体的位移达到最大,所以D正确。

 

试题详情>>

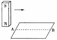
18. (2008年高考重庆理综卷18题)如题18图,粗糙水平桌面上有一质量为m的铜质矩形线圈.当一竖直放置的条形磁铁从线圈中线AB正上方等高快速经过时,若线圈始终不动,则关于线圈受到的支持力FN及在水平方向运动趋势的正确判断是

A.     FN先小于mg后大于mg,运动趋势向左

B.      FN先大于mg后小于mg,运动趋势向左

C.      FN先大于mg后大于mg,运动趋势向右

D.     FN先大于mg后小于mg,运动趋势向右

试题详情>>

18、D,本题考查电磁感应有关的知识,本题为中等难度题目。条形磁铁从线圈正上方等高快速经过时,通过线圈的磁通量先增加后又减小。当通过线圈磁通量增加时,为阻碍其增加,在竖直方向上线圈有向下运动的趋势,所以线圈受到的支持力大于其重力,在水平方向上有向右运动的趋势,当通过线圈的磁通量减小时,为阻碍其减小,在竖直方向上线圈有向上运动的趋势,所以线圈受到的支持力小于其重力,在水平方向上有向右运动的趋势。综上所述,线圈所受到的支持力先大于重力后小于重力,运动趋势总是向右。

试题详情>>

3.(2008年高考江苏物理卷3题)一质量为M的探空气球在匀速下降,若气球所受浮力F始终保持不变,气球在运动过程中所受阻力仅与速率有关,重力加速度为g.现欲使该气球以同样速率匀速上升,则需从气球吊篮中减少的质量为

试题详情>>

  A.      B.

试题详情>>

C.        D. 0

试题详情>>

3、A      解析:考查牛顿运动定律。设减少的质量为△m,匀速下降时:Mg=F+kv,匀速上升时:Mg-△mg+kv = F,解得△mg = 2(M-),A正确。本题要注意受力分析各个力的方向。

试题详情>>

21.(12分)(2008年高考上海物理卷21题)总质量为80kg的跳伞运动员从离地500m的直升机上跳下,经过2s拉开绳索开启降落伞,如图所示是跳伞过程中的v-t图,试根据图像求:(g取10m/s2

(1)t=1s时运动员的加速度和所受阻力的大小。

(2)估算14s内运动员下落的高度及克服阻力做的功。

(3)估算运动员从飞机上跳下到着地的总时间。

 

 

 

 

试题详情>>

21.(12分)

解:(1)从图中可以看邮,在t=2s内运动员做匀加速运动,其加速度大小为

试题详情>>

m/s2=8m/s2

设此过程中运动员受到的阻力大小为f,根据牛顿第二定律,有mg-f=ma

得           f=m(g-a)=80×(10-8)N=160N

(2)从图中估算得出运动员在14s内下落了

试题详情>>

                     39.5×2×2m=158

试题详情>>

根据动能定理,有

试题详情>>

所以有    =(80×10×158-×80×62)J≈1.25×105J

(3)14s后运动员做匀速运动的时间为

试题详情>>

              s=57s

运动员从飞机上跳下到着地需要的总时间

              t=t+t′=(14+57)s=71s

 

试题详情>>
关闭