1.一根轻弹簧的劲度系数,在其两端各用20N的水平力向相反方向拉弹簧,则弹簧的伸长量是

A.0                        B.10cm                   C.20cm                     D.40cm

试题详情>>

2.关于速度和加速度,下列说法正确的是

A.速度变化越大,加速度越大                   B.速度变化越快,加速度越大

C.加速度为零,速度一定为零                   D.加速度变小,速度一定变小

试题详情>>

3.牙买加运动员博尔特以9秒69的惊人成绩夺得奥运会百米金牌,并打破了这个项目的奥运会纪录。由此可知博尔特

A.起跑时的加速度                                     B.冲线时的速度

C.100米的平均速度                                     D.运动到50米时的速度

试题详情>>

4.如下图所示,放在粗糙斜面上的物体处于静止状态,其重力G可分解为F1、F2两个分力,下列说法正确的是

试题详情>>

A.物体受3个力作用                                    B.物体受4个力作用

C.F1是物体受的摩擦力                                 D.F2是物体对斜面的压力

试题详情>>

5.一辆汽车停在水平地面上,一人逐渐用力水平推车,车仍静止,则

A.推力始终小于车受的静摩擦力

B.推力越大,车受的静摩擦力越大

C.推力越大,车受的最大静摩擦力越大

D.推力越大,车受的最大静摩擦力不变

试题详情>>

6.一木块放在水平桌面上静止,下列说法正确的是

A.木块对桌面的压力是桌面发生形变而产生的

B.木块对桌面的压力是木块发生形变而产生的

C.木块对桌面的压力与木块受的重力是作用力与反作用力

D.木块对桌面的压力与桌面对木块的支持力是一对平衡力

试题详情>>

7.在同一高度处,将A物体竖直向上抛出,让B物体自由下落,则A、B两物体运动到地面的过程中,相等的量是

A.加速度                B.路程                   C.位移大小            D.运动的时间

试题详情>>

8.甲、乙两物体从同一地点沿同一方向做直线运动,其速度一时间图像如图所示,则

试题详情>>

A.甲做匀速运动

B.乙先做匀加速运动,2s后做匀减速运动

C.2s时两物体相遇

试题详情>>

D.4s末乙物体加速度大小为

试题详情>>

9.在升降机天花板上悬挂一个弹簧秤,秤上挂一质量为1kg的物体,当秤的示数为8N时,升降机可能

A.加速上升            B.加速下降            C.减速上升            D.减速下降

试题详情>>

10.如下图所示,一木块在恒力F的作用下沿光滑水平面向右运动一段时问后,开始压缩正前方的固定弹簧,则

试题详情>>

A.木块接触弹簧后,便立即做减速运动

B.从木块接触弹簧到弹簧被压缩到最短,木块所受合力一直变小

C.当F与弹簧的弹力大小相等时,木块速度最大

D.当弹簧被压缩到最短时,木块的加速度为零

第Ⅱ卷(非选择题       共60分)

试题详情>>

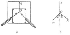
11.(4分)在《探究求合力的方法》实验中,橡皮条的一端固定在A点,另一端被两个弹簧测力计拉到O点,如下图所示。弹簧测力计的示数分别为F1和F2,细绳方向与AO延长线的夹角分别为),如图所示,以下说法正确的是____________。

试题详情>>

A.F1与F2的合力一定大于F1                        B.F1与F2的合力一定小于F2

C.F1与F2的合力可能大于F1                        D.F1与F2的合力可能小于F2

试题详情>>

12.(6分)在探究匀变速直线运动规律的实验中,得到一条纸带,如下图所示。在纸带上选择了3个记数点,相邻的两个记数点间时间间隔为0.1s,毫米刻度尺零刻度线与0点对齐,由图读出1、2两点到O点的距离____________cm,____________cm,并由此计算出运动物体的加速度,打计数点1时运动物体的速度

试题详情>>

13.(6分)某小组利用如下器材,探究光滑斜面上物体下滑的加速度与物体质量及斜面倾角的关系。

试题详情>>

A.表面光滑的长木板(长度);B.小车;C.质量为的钩码若干个;D.方木块(备用于垫木板);E.米尺;F.秒表。

实验过程:

第一步,在保持斜面倾角不变时,探究加速度与质量的关系。

试题详情>>

向小车放入钩码改变物体质量,测出小车由斜面顶端滑至底端的时间,则小车下滑的加速度,记录数据如下表所示:

试题详情>>

1.42

根据表中信息可知,在实验误差允许范围内,质量改变之后小车下滑时间_________(填“改变”或“不改变”),经过分析得出加速度和质量的关系为___________________。

第二步,在物体质量不变时,探究加速度与倾角的关系。

试题详情>>

某同学记录了斜面倾角正弦值和加速度的对应值如下表:

试题详情>>

根据上表数据分析可知,光滑斜面上物体下滑的加速度与斜面倾角的正弦值的关系为_____________________________________________。

试题详情>>

14.(10分)如下图所示,一倾角为的光滑斜面固定在地面上,质量为的长方形木块放在斜面上,被竖直光滑板挡住处于静止。

试题详情>>

(1)在图中画出木块受力的示意图;

(2)求出木块对挡板和斜面的压力大小。

试题详情>>

15.(10分)在不同星球表面重力加速度不同,利用自由落体运动可以测定星体表面的重力加速度。宇航员在某个星球上,要测量一个井的深度,进行了如下操作:先测出石块从高1.8m处自由下落到星球地面的时间为1s,再用秒表测得从井口自由下落的石块到井底的时间为4s。

试题详情>>

求:(1)该星球表面的重力加速度

试题详情>>

(2)井的深度

试题详情>>

16.(12分)如下图所示,一质量50kg的建筑工人站在水平地面上,通过定滑轮和绳子(不计其摩擦和绳子质量)竖直向上提升质量为10kg的重物,绳子与竖直方向的夹角,如果重物匀加速上升的加速度

试题详情>>

求:(1)绳子对货物的拉力

试题详情>>

(2)人对地面的压力

试题详情>>

17.(12分)如下图所示,ACD是一滑雪场示意图,其中AC是长、倾角 的斜面,CD段是与斜面平滑连接的水平面。人从A点由静止下滑,经过C点时速度大小不变,又在水平面上滑行一段距离后停下。人与接触面间的动摩擦因数均为,不计空气阻力,()。

试题详情>>

求:(1)人从斜面顶端A滑至底端C用的时间;

(2)人在离C点多远处停下。

试题详情>>
关闭