1.以下说法符合物理史实的是                                                                               (    )

      A.法拉第发现了电流周围存在着磁场

      B.牛顿发现了万有引力定律,并测出了引力常量

      C.亚里士多德发现了力是改变物体运动状态的原因

       D.开普勒关于行星运动的描述为万有引力定律的发现奠定了基础

试题详情>>

2.如图所示,一个小球用轻弹簧拴住,弹簧上端拴在天花板上且处于竖直方向,小球底部

和地面接触,则小球可能受到的力的个数为                                                            (    )

试题详情>>

       A.1个                B.2个                   C.3个                    D.4个

试题详情>>

3.如图是某物体在0―10S内的位移图像(S―t图),下列说法正确的是             (    )

试题详情>>

       A.物体第1s内的位移为4m

       B.物体第5s内的位移为8m

       C.物体前6s内的位移为8m

       D.物体后6s内的位移为16m

试题详情>>

4.从空中A点以E1 = 1J的初动能水平抛出一小球,小球刚要落地时的动能E2 = 5J,落地

点在B点。不计空气阻力,则A、B两点的连线与水平面间的夹角为                      (    )

       A.30°                     B.37°                     C.45°                     D.60°

试题详情>>

5.对质点运动的描述,以下说法中正确的是                                            (    )

       A.平抛运动是加速度不变的运动

       B.匀速圆周运动是加速度不变的运动

       C.某时刻质点的加速度为零,则此时刻质点的速度一定为零

       D.某时刻质点的加速度为零,则此时刻质点的速度不一定为零

试题详情>>

6.一个人稳站在商店的自动扶梯的水平踏板上,随扶梯向上加速,如图所示,则  (    )

试题详情>>

    A.人只受重力和踏板的支持力的作用

    B.人对踏板的压力大小等于人所受到的重力大小

    C.踏板对人做的功等于人的机械能增加量

       D.人所受合力做的功等于人的机械能的增加量

试题详情>>

7.如图所示,在方向竖直向下的匀强电场中,用绝缘细线拴着带负电的小球(视为质点)在竖直平面内绕O点做圆周运动,则下列判断正确的是                    (    )

试题详情>>

       A.小球运动到最低点时,细线的拉力一定最大

       B.小球运动到最低点时,小球的速度一定最大

       C.小球运动到最低点时,小球的电势能一定最大

       D.小球运动到最高点时,小球的机械能一定最小

试题详情>>

8.在下面给出的方程中,括号中的a、b、c、d代表相同或不同的粒子,则正确的说法是(    )

试题详情>>

U→Th+(a)                               ②Be+He→C+(b)

试题详情>>

H+H→He+(c)                            ④U+(d)→Ba+Kr+3n

A.a、b都是电子;                                       B.bcd都是中子;

C.c是中子,a是α粒子;                        D.a是α粒子,d是质子。

试题详情>>

9.如图所示,在通电长直导线的下方放有一闭合导线框abcd,能使abcd中产生感应电流的

情况是                                                                                                                 (    )

试题详情>>

       A.长直导线中通以变化的电流

B.长直导线中通以恒定的电流,线圈左右平移

C.长直导线中通以恒定的电流,线圈上下平移

D.长直导线中通以恒定的电流,线圈绕ad边转动

试题详情>>

10.质量相等的两颗人造地球卫星A和B,分别在不同轨道上绕地球做匀速圆周运动,两卫星的轨道半径分别为rA和rB,且rA>rB,则A和B两卫星比较,下列说法正确的是:(    )

20081005

20081005

       C.卫星B的运动周期较大                  D.卫星A的机械能较大

试题详情>>

11.如图所示,增大电阻R,灯泡变暗的是                                                         (    )

试题详情>>

A.                           B.                     C.                     D.

试题详情>>

12.如图所示,甲运动员在球场上得到篮球之后,甲、乙以相同的速度v匀速并排向对方半

场奔跑,随后甲运动员将球传给乙运动员,不计空气阻力,则                       (    )

试题详情>>

A.甲抛球时对球施加的水平方向推力应沿图中箭头1所指的方向

B.甲抛球时对球施加的水平方向推力应沿图中箭头2所指的方向

C.坐在场边的观众看到球向箭头1所指的方向运动

D.坐在场边的观众看到球向箭头2所指的方向运动

82615205

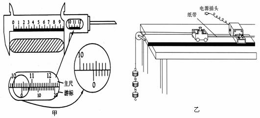
卡尺测量长度可以精确到         mm,现用它测量一工件的长度,如图甲所示,图示的读

数是          mm;

试题详情>>

   (2)科学规律的发现离不开科学探究,而科学探究可以分为理论探究和实验探究。下面

我们用第二种方法探究恒力做功和物体动能变化间的关系。

①某同学的实验方案如图乙所示,他想用钩码的重力(图中用到的钩码和砝码的重力已知)

表示小车受到的合外力,为了减小这种做法带来的实验误差,你认为在实验中还应该采取的

两项措施是:

a.                                 

b.                                 

②如图丙所示是某次实验中得到的一条纸带,其中A、B、C、D、E、F叫计数点,相邻计数点间的时间间隔为T。则打C点时小车的速度为          ;要验证合外力的功与动能变化间的关系,除位移、速度外,还要测出的物理量有              

试题详情>>

③这个实验所探究的规律实际上就是我们所学过的            定理,它的表达式是                      

骤.只写出最后答案的不能得分.有数值计算的题,答案中必须明确写出数值和单位)

试题详情>>

14.(11分)如图所示,质量为2kg的直角三棱柱A放在水平地面上,三棱柱的斜面是光滑

的,且斜面倾角θ为37º。质量为1kg的光滑球放在三棱柱和光滑竖直墙壁之间,A和B都

处于静止状态,求地面对三棱柱的支持力和摩擦力各为多少?

试题详情>>

(g=10m/s2 , sin37º=  cos37º=

试题详情>>

15.(12分)两个完全相同的物块A、B质量均为m=0.80kg,在同一粗糙水平面上以相同的初速度从同一位置开始运动。图中的两条直线分别表示A物块受到水平拉力F作用和B物块不受拉力作用的v-t图像。求:⑴物块A所受拉力F的大小;⑵8.0s末物块A、B之间的距离s。   

试题详情>>

16.(15分)质量为0.2千克的小球从一弹性平面处以20米/秒的速度竖直上抛,能上升的最大高度为16m,然后落回平面,与平面发生碰撞后再次上升,上升的高度为7m,而后又落回平面……直到最后静止在平面上,设小球受到的空气阻力大小恒定,求:

试题详情>>

   (1)小球所受空气阻力的大小

   (2)小球第一次上升时间和下落时间之比

   (3)从小球刚开始上抛到第二次落到平面之前的过程中损失的机械能是多少?

20081005

试题详情>>

17.(16分)如图所示,电荷量均为、质量分别为的小球A和B,中间连接质量不计的细绳,在竖直方向的匀强电场中以速度匀速上升,某时刻细绳断开。求:

   (1)电场的场强及细绳断开后A、B两球的加速度;

   (2)当B球速度为零时,A球的速度大小;

   (3)自绳断开至B球速度为零的过程中,两球组成系统的机械能增量为多少?

天・星om

Tesoon.com

 天星版权

20081005

天・星om

试题详情>>
关闭