2025年新课程学习与检测九年级物理全一册
注:目前有些书本章节名称可能整理的还不是很完善,但都是按照顺序排列的,请同学们按照顺序仔细查找。练习册 2025年新课程学习与检测九年级物理全一册 答案主要是用来给同学们做完题方便对答案用的,请勿直接抄袭。
第85页
- 第1页
- 第2页
- 第3页
- 第4页
- 第5页
- 第6页
- 第7页
- 第8页
- 第9页
- 第10页
- 第11页
- 第12页
- 第13页
- 第14页
- 第15页
- 第16页
- 第17页
- 第18页
- 第19页
- 第20页
- 第21页
- 第22页
- 第23页
- 第24页
- 第25页
- 第26页
- 第27页
- 第28页
- 第29页
- 第30页
- 第31页
- 第32页
- 第33页
- 第34页
- 第35页
- 第36页
- 第37页
- 第38页
- 第39页
- 第40页
- 第41页
- 第42页
- 第43页
- 第44页
- 第45页
- 第46页
- 第47页
- 第48页
- 第49页
- 第50页
- 第51页
- 第52页
- 第53页
- 第54页
- 第55页
- 第56页
- 第57页
- 第58页
- 第59页
- 第60页
- 第61页
- 第62页
- 第63页
- 第64页
- 第65页
- 第66页
- 第67页
- 第68页
- 第69页
- 第70页
- 第71页
- 第72页
- 第73页
- 第74页
- 第75页
- 第76页
- 第77页
- 第78页
- 第79页
- 第80页
- 第81页
- 第82页
- 第83页
- 第84页
- 第85页
- 第86页
- 第87页
- 第88页
- 第89页
- 第90页
- 第91页
- 第92页
- 第93页
- 第94页
- 第95页
- 第96页
- 第97页
- 第98页
- 第99页
- 第100页
6. (情境化)(多选)如图是小明在科技活动周上展示的自制“电磁秋千”:铜线圈制成的秋千下方放有一块永磁体,线圈通电后,就能不停地摆动。下列有关叙述正确的是(

A.该电磁秋千的工作原理和电动机原理相同
B.该电磁秋千是利用地磁场工作的
C.电磁秋千摆动过程中电能转化为机械能
D.增加电池的节数可以使电磁秋千摆动得更高
ACD
)A.该电磁秋千的工作原理和电动机原理相同
B.该电磁秋千是利用地磁场工作的
C.电磁秋千摆动过程中电能转化为机械能
D.增加电池的节数可以使电磁秋千摆动得更高
答案:
6.ACD
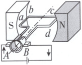
7. 如图所示为探究“通电导线在磁场中受力运动”的实验装置,回答下列问题。

(1)把导线ab放在磁场中,接通电源,让电流通过导线ab,会发现导线ab
(2)保持磁体的磁极不变,把电源的正、负极对调后接入电路,使通过导线ab的电流方向与原来相反,这时导线ab的运动方向与原来的运动方向
(3)保持电源的正、负极不变,对调磁体的磁极,使磁场的方向与原来相反,这时导线ab的运动方向与原来的运动方向
(4)由此可以得出:通电导线在磁场中要受到力的作用,受力的方向跟
(1)把导线ab放在磁场中,接通电源,让电流通过导线ab,会发现导线ab
运动
(选填“运动”或“不运动”)。(2)保持磁体的磁极不变,把电源的正、负极对调后接入电路,使通过导线ab的电流方向与原来相反,这时导线ab的运动方向与原来的运动方向
相反
。(3)保持电源的正、负极不变,对调磁体的磁极,使磁场的方向与原来相反,这时导线ab的运动方向与原来的运动方向
相反
。(4)由此可以得出:通电导线在磁场中要受到力的作用,受力的方向跟
电流
方向和磁场
方向都有关系。
答案:
7.
(1)运动
(2)相反
(3)相反
(4)电流 磁场
(1)运动
(2)相反
(3)相反
(4)电流 磁场
8. 直流电动机是根据

磁场对通电导线具有力的作用
的原理制成的。如图所示是直流电动机的工作原理图,部件AB是换向器
,其作用是当线圈因惯性转过平衡位置
时,立即改变电流方向,从而改变线圈的受力方向,使线圈在磁场中连续转动。电动机工作时,能把电能转化为机械能
。如果想改变该直流电动机的转动方向,你可以采取的方法是改变电流方向(或改变磁场方向)
(写一条即可)。
答案:
8.磁场对通电导线具有力的作用 换向器 平衡位置 机械能 改变电流方向(或改变磁场方向)
9. (情境化)如图所示是扬声器的构造示意图,它主要由固定的永久磁体、线圈和锥形纸盆构成。当线圈中通有电流时,线圈受到

磁场力
的作用而运动;由于通过线圈的交变电流方向不断变化,线圈就不断地来回运动,带动纸盆振动
发声。
答案:
9.磁场力 振动
查看更多完整答案,请扫码查看