5. 一个球从 8 米高处落下,每一次弹起的高度比前一次下落的高度少 0.5 米,它第(
A.8
B.10
C.11
B
)次弹起的高度是 3 米。A.8
B.10
C.11
答案:
5.B
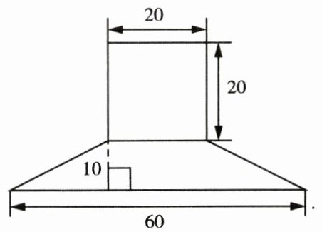
1. 求下面图形的面积。(单位:cm)


(1) (2)
(1) (2)
答案:
1.
(1)800 cm²
(2)323 cm²
(1)800 cm²
(2)323 cm²
2. 下面方格的边长都表示 1 厘米,请按要求在方格纸上作图。

(1) 明明用 6×4÷2 算出一个三角形的面积,这个三角形的面积是(
(2) 请你在方格纸上画出一个与 6×4÷2 算式相符的三角形。
(3) 再分别画一个与该三角形面积相等的平行四边形和梯形。
(1) 明明用 6×4÷2 算出一个三角形的面积,这个三角形的面积是(
12
)平方厘米。(2) 请你在方格纸上画出一个与 6×4÷2 算式相符的三角形。
(3) 再分别画一个与该三角形面积相等的平行四边形和梯形。
答案:
2.
(1)12
(2)
(3)略
(1)12
(2)
(3)略
1. 如表记录了一辆公交汽车从起点站开出后,途中经过 4 个停靠站,最后到达终点站的乘客变化情况。请根据表格数据回答问题。

(1) 中途第 1 站,上车(
(2) 中间 4 个停靠站一共有(
(3) 如果票价均是 3 元,那么这趟车一共能收入车费(
(1) 中途第 1 站,上车(
8
)人,下车(2
)人。中途第(3
)站,没有人上车。(2) 中间 4 个停靠站一共有(
19
)人下车,到终点站时,有(15
)人下车。(3) 如果票价均是 3 元,那么这趟车一共能收入车费(
102
)元。
答案:
1.
(1)8 2 3
(2)19 15
(3)102
(1)8 2 3
(2)19 15
(3)102
查看更多完整答案,请扫码查看