第8页
- 第1页
- 第2页
- 第3页
- 第4页
- 第5页
- 第6页
- 第7页
- 第8页
- 第9页
- 第10页
- 第11页
- 第12页
- 第13页
- 第14页
- 第15页
- 第16页
- 第17页
- 第18页
- 第19页
- 第20页
- 第21页
- 第22页
- 第23页
- 第24页
- 第25页
- 第26页
- 第27页
- 第28页
- 第29页
- 第30页
- 第31页
- 第32页
- 第33页
- 第34页
- 第35页
- 第36页
- 第37页
- 第38页
- 第39页
- 第40页
- 第41页
- 第42页
- 第43页
- 第44页
- 第45页
- 第46页
- 第47页
- 第48页
- 第49页
- 第50页
- 第51页
- 第52页
- 第53页
- 第54页
- 第55页
- 第56页
- 第57页
- 第58页
- 第59页
- 第60页
- 第61页
- 第62页
- 第63页
- 第64页
- 第65页
- 第66页
- 第67页
- 第68页
- 第69页
- 第70页
- 第71页
- 第72页
- 第73页
- 第74页
- 第75页
- 第76页
- 第77页
- 第78页
- 第79页
- 第80页
- 第81页
- 第82页
- 第83页
- 第84页
- 第85页
- 第86页
- 第87页
- 第88页
- 第89页
- 第90页
- 第91页
- 第92页
- 第93页
- 第94页
- 第95页
- 第96页
- 第97页
- 第98页
- 第99页
- 第100页
- 第101页
- 第102页
- 第103页
- 第104页
- 第105页
- 第106页
- 第107页
- 第108页
- 第109页
- 第110页
- 第111页
- 第112页
- 第113页
- 第114页
- 第115页
- 第116页
- 第117页
【例1】图1-2-2-1是某种产品的表面展开图,它的高为3cm。
(1) 求这个产品的体积;
(2) 请为厂家设计一种包装纸箱,使每箱能装5件这种产品,要求没有空隙且要使所用材料尽可能少(纸箱的厚度不计),求此包装纸箱的表面积。

解题关键 根据图形得出长方体的长和宽,进而得出答案。
(1) 求这个产品的体积;
(2) 请为厂家设计一种包装纸箱,使每箱能装5件这种产品,要求没有空隙且要使所用材料尽可能少(纸箱的厚度不计),求此包装纸箱的表面积。
解题关键 根据图形得出长方体的长和宽,进而得出答案。
答案:
(1) 由展开图可知,设长方体长为$a$,宽为$b$,高$h = 3\,cm$。根据图中$12\,cm$为宽与高之和,得$b + h=12$,则$b=12 - 3=9\,cm$;$25\,cm$为两倍长与宽之和,得$2a + b=25$,则$2a=25 - 9=16$,$a=8\,cm$。体积$V=abh=8×9×3=216\,cm^3$。
(2) 要使表面积最小,需将5个长方体最大面重合($8×9$面),叠放后大长方体长$8\,cm$、宽$9\,cm$、高$3×5=15\,cm$。表面积$S=2(ab + ah + bh)=2(8×9 + 8×15 + 9×15)=2(72 + 120 + 135)=654\,cm^2$。
(1) $216\,cm^3$;
(2) $654\,cm^2$
(1) 由展开图可知,设长方体长为$a$,宽为$b$,高$h = 3\,cm$。根据图中$12\,cm$为宽与高之和,得$b + h=12$,则$b=12 - 3=9\,cm$;$25\,cm$为两倍长与宽之和,得$2a + b=25$,则$2a=25 - 9=16$,$a=8\,cm$。体积$V=abh=8×9×3=216\,cm^3$。
(2) 要使表面积最小,需将5个长方体最大面重合($8×9$面),叠放后大长方体长$8\,cm$、宽$9\,cm$、高$3×5=15\,cm$。表面积$S=2(ab + ah + bh)=2(8×9 + 8×15 + 9×15)=2(72 + 120 + 135)=654\,cm^2$。
(1) $216\,cm^3$;
(2) $654\,cm^2$
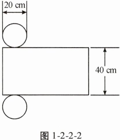
【例2】如图1-2-2-2所示是某几何体的表面展开图。
(1) 写出这个几何体的名称;
(2) 求这个几何体的体积。(π取3.14)

解题关键 根据圆柱的表面展开图及其体积计算公式解答即可。
(1) 写出这个几何体的名称;
(2) 求这个几何体的体积。(π取3.14)
解题关键 根据圆柱的表面展开图及其体积计算公式解答即可。
答案:
(1) 这个几何体的名称是圆柱。
(2)
根据图可知圆柱底面圆的半径$r=20÷2=10$($cm$),
高$h = 40$ $cm$,
根据圆柱体积公式$V = \pi r^{2}h$,$\pi$取$3.14$,可得:
$V=3.14×10^{2}×40$
$=3.14×100×40$
$=12560$($cm^{3}$)
综上,这个几何体的体积是$12560$ $cm^{3}$。
(1) 这个几何体的名称是圆柱。
(2)
根据图可知圆柱底面圆的半径$r=20÷2=10$($cm$),
高$h = 40$ $cm$,
根据圆柱体积公式$V = \pi r^{2}h$,$\pi$取$3.14$,可得:
$V=3.14×10^{2}×40$
$=3.14×100×40$
$=12560$($cm^{3}$)
综上,这个几何体的体积是$12560$ $cm^{3}$。
查看更多完整答案,请扫码查看