第24页
- 第1页
- 第2页
- 第3页
- 第4页
- 第5页
- 第6页
- 第7页
- 第8页
- 第9页
- 第10页
- 第11页
- 第12页
- 第13页
- 第14页
- 第15页
- 第16页
- 第17页
- 第18页
- 第19页
- 第20页
- 第21页
- 第22页
- 第23页
- 第24页
- 第25页
- 第26页
- 第27页
- 第28页
- 第29页
- 第30页
- 第31页
- 第32页
- 第33页
- 第34页
- 第35页
- 第36页
- 第37页
- 第38页
- 第39页
- 第40页
- 第41页
- 第42页
- 第43页
- 第44页
- 第45页
- 第46页
- 第47页
- 第48页
- 第49页
- 第50页
- 第51页
- 第52页
- 第53页
- 第54页
- 第55页
- 第56页
- 第57页
- 第58页
- 第59页
- 第60页
- 第61页
- 第62页
- 第63页
- 第64页
- 第65页
- 第66页
- 第67页
- 第68页
- 第69页
- 第70页
- 第71页
- 第72页
- 第73页
- 第74页
6. (科学思维)某同学在做制取氧气的实验时,发现试管炸裂,造成此结果的原因不可能是(
A.加热前未将试管外壁擦干
B.反应停止时,先熄灭酒精灯
C.加热时将试管口略向下倾斜
D.用焰心加热,使冷的灯芯接触到热的试管
C
)。A.加热前未将试管外壁擦干
B.反应停止时,先熄灭酒精灯
C.加热时将试管口略向下倾斜
D.用焰心加热,使冷的灯芯接触到热的试管
答案:
C
7. 下图是实验室制取氧气的装置。

(1)写出仪器名称。
①
(2)用排水法收集氧气的原因是
(3)试管中发生反应的文字表达式为
(1)写出仪器名称。
①
试管
,②酒精灯
,③铁架台
,④导管
,⑤集气瓶
,⑥水槽
。(2)用排水法收集氧气的原因是
氧气不易溶于水且不与水反应
,当收集完毕时,应先将导管移出水面
,然后熄灭酒精灯
。(3)试管中发生反应的文字表达式为
高锰酸钾$\stackrel{加热}{→}$锰酸钾+二氧化锰+氧气
,属于分解
(填“化合”或“分解”)反应。
答案:
(1)①试管,②酒精灯,③铁架台,④导管,⑤集气瓶,⑥水槽
(2)氧气不易溶于水且不与水反应,将导管移出水面,熄灭酒精灯
(3)高锰酸钾$\stackrel{加热}{→}$锰酸钾+二氧化锰+氧气,分解
(1)①试管,②酒精灯,③铁架台,④导管,⑤集气瓶,⑥水槽
(2)氧气不易溶于水且不与水反应,将导管移出水面,熄灭酒精灯
(3)高锰酸钾$\stackrel{加热}{→}$锰酸钾+二氧化锰+氧气,分解
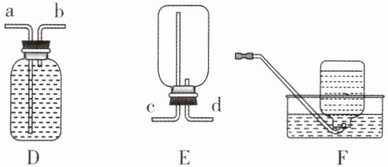
8. 在实验室里,可用下列装置制取气体,请回答问题。

(1)仪器m的名称为

(2)实验室用装置A(药品为高锰酸钾)制取氧气,棉花的作用是
(3)若用装置D收集氧气,集气瓶中没有装满水,会导致收集氧气的纯度
(4)实验室通常用无水醋酸钠固体和碱石灰固体在加热条件下制取甲烷,可以选择的发生装置为
(1)仪器m的名称为
铁架台
。(2)实验室用装置A(药品为高锰酸钾)制取氧气,棉花的作用是
防止加热时高锰酸钾粉末进入导管
,该反应的文字表达式为高锰酸钾$\xrightarrow{加热}$锰酸钾+二氧化锰+氧气
。(3)若用装置D收集氧气,集气瓶中没有装满水,会导致收集氧气的纯度
偏小
;若使用装置E收集氧气,则气体应从c
端通入。(4)实验室通常用无水醋酸钠固体和碱石灰固体在加热条件下制取甲烷,可以选择的发生装置为
A
。
答案:
(1)铁架台
(2)防止加热时高锰酸钾粉末进入导管;高锰酸钾$\xrightarrow{加热}$锰酸钾+二氧化锰+氧气
(3)偏小;c
(4)A
(1)铁架台
(2)防止加热时高锰酸钾粉末进入导管;高锰酸钾$\xrightarrow{加热}$锰酸钾+二氧化锰+氧气
(3)偏小;c
(4)A
9. (科学思维)某兴趣小组同学对“过氧化氢分解产生氧气的速率与哪些因素有关”这一问题展开探究。
|组别|过氧化氢的质量|过氧化氢的浓度|A|
|Ⅰ|50.0g|1%||
|Ⅱ|50.0g|2%||
|Ⅲ|50.0g|4%||

(1)上述表格中A处空白应填的内容是
(2)根据表格的设计,实验探究的问题是
(3)本实验中,测量$O_2$体积的装置应选用下图中的

(4)过氧化氢发生分解反应的文字表达式为
|组别|过氧化氢的质量|过氧化氢的浓度|A|
|Ⅰ|50.0g|1%||
|Ⅱ|50.0g|2%||
|Ⅲ|50.0g|4%||
(1)上述表格中A处空白应填的内容是
是否加入催化剂(或催化剂的质量,合理即可)
。(2)根据表格的设计,实验探究的问题是
过氧化氢分解产生氧气的速率与过氧化氢的浓度是否有关
。(3)本实验中,测量$O_2$体积的装置应选用下图中的
丙
(填“甲”“乙”或“丙”)。(4)过氧化氢发生分解反应的文字表达式为
过氧化氢$\xrightarrow{催化剂}$水+氧气
。
答案:
(1)是否加入催化剂(或催化剂的质量,合理即可)
(2)过氧化氢分解产生氧气的速率与过氧化氢的浓度是否有关
(3)丙
(4)过氧化氢$\xrightarrow{催化剂}$水+氧气
(1)是否加入催化剂(或催化剂的质量,合理即可)
(2)过氧化氢分解产生氧气的速率与过氧化氢的浓度是否有关
(3)丙
(4)过氧化氢$\xrightarrow{催化剂}$水+氧气
查看更多完整答案,请扫码查看