1. 1665年,英国科学家胡克用自制的______观察软木栓薄片,并将观察到的小室命名为______。事实上,胡克观察到的是______。
答案:
显微镜 细胞 死亡植物细胞的部分结构(细胞壁)
2. 细胞学说的建立是许多科学家长期探索的成果,其中部分研究成果如图。

(1)请据此归纳细胞学说的内容:______。
(2)细胞学说论证了整个生物界在______上的统一性,标志着生物学研究进入了______水平。
(1)请据此归纳细胞学说的内容:______。
(2)细胞学说论证了整个生物界在______上的统一性,标志着生物学研究进入了______水平。
答案:
(1)所有动物和植物都是由细胞构成的,细胞是生物体结构和功能的基本单位,新细胞是由原来的细胞分裂而来的
(2)结构 细胞
(1)所有动物和植物都是由细胞构成的,细胞是生物体结构和功能的基本单位,新细胞是由原来的细胞分裂而来的
(2)结构 细胞
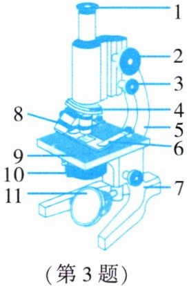
3. 右图是显微镜的结构图,请根据图示回答下列问题。
(1)写出显微镜的各部分结构([ ]内填序号,______上填结构名称)。
①用来调节光线强弱的结构是[ ]______和[ ]______。
②移动镜筒时的升降范围很小的结构是[ ]______。
③接近载玻片的镜头是[ ]______。
④取显微镜时,握镜的部位是[ ]______。
⑤把载玻片放在[ ]______上后,要用压片夹压住,标本要对准______的中央。
(2)使用显微镜的步骤是:______→______→______。
(3)使用显微镜时要注意的问题:
①从目镜看到要观察的物体在左边,若要将其移到中间,载玻片该往______边移。
②向______旋转______准焦螺旋,镜筒会快速上升;向______旋转______准焦螺旋,镜筒会慢慢下降。
③拿显微镜时,要一只手托______,另一只手握镜臂;要使观察的视野最亮,可以把______的最大光圈对准______,并且用反光镜的______面镜。
④用显微镜观察时,若一生物在视野中向右下方游动,则玻片应该往______移动。

(1)写出显微镜的各部分结构([ ]内填序号,______上填结构名称)。
①用来调节光线强弱的结构是[ ]______和[ ]______。
②移动镜筒时的升降范围很小的结构是[ ]______。
③接近载玻片的镜头是[ ]______。
④取显微镜时,握镜的部位是[ ]______。
⑤把载玻片放在[ ]______上后,要用压片夹压住,标本要对准______的中央。
(2)使用显微镜的步骤是:______→______→______。
(3)使用显微镜时要注意的问题:
①从目镜看到要观察的物体在左边,若要将其移到中间,载玻片该往______边移。
②向______旋转______准焦螺旋,镜筒会快速上升;向______旋转______准焦螺旋,镜筒会慢慢下降。
③拿显微镜时,要一只手托______,另一只手握镜臂;要使观察的视野最亮,可以把______的最大光圈对准______,并且用反光镜的______面镜。
④用显微镜观察时,若一生物在视野中向右下方游动,则玻片应该往______移动。
答案:
(1)①10 遮光器 11 反光镜
②3 细准焦螺旋
③8 物镜
④5 镜臂
⑤9 载物台 通光孔
(2)取镜安放 调节对光 放片观察
(3)①左
②内 粗 外 细
③镜座 遮光器 通光孔 凹
④右下方
(1)①10 遮光器 11 反光镜
②3 细准焦螺旋
③8 物镜
④5 镜臂
⑤9 载物台 通光孔
(2)取镜安放 调节对光 放片观察
(3)①左
②内 粗 外 细
③镜座 遮光器 通光孔 凹
④右下方
查看更多完整答案,请扫码查看