19. (2025 盐城盐都第一共同体期中)用知识结构图来进行知识梳理和复习是一种很好的方法.如图所示是第二章的知识结构图,请补全:①______,②______,③______.

答案:
绿 光线光污染
20. (2025 泰州姜堰期中)为了测量某凸透镜焦距,小华先在纸上画了一个小于透镜大小的圆环,如图所示,将凸透镜正对太阳光,在其下方距透镜6 cm处的白纸上的光斑恰好与圆环重合,当将该透镜远离白纸垂直移动4 cm时,此时白纸上的光斑再次与圆环重合,此过程中光斑的大小______(填“变大”“变小”“先变小后变大”或“先变大后变小”),通过计算可以得到该凸透镜的焦距为______cm.

答案:
先变小后变大 8
21. (7分)(2025 苏州金鸡湖学校期中)按照要求作图.
(1)一位同学按老师要求,用硬纸筒做针孔照相机实验,请在图甲中作出物体AB的像A'B'.
(2)如图乙所示,观察图a,根据你看到的现象,在图b中画出树在水中所成的像.(MN表示水面,AB表示岸边的一棵树)

(3)当光从水中射向空气时,折射光线如图丙所示,画出对应的入射光线和反射光线.
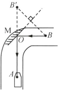
(4)小明驾车在道路转弯处时,通过转弯处的镜子M(可看作平面镜)看到了行人.如图丁所示,其中A处是车内小明的眼睛,B处是行人,请作出小明看到行人的光路图.

(1)一位同学按老师要求,用硬纸筒做针孔照相机实验,请在图甲中作出物体AB的像A'B'.
(2)如图乙所示,观察图a,根据你看到的现象,在图b中画出树在水中所成的像.(MN表示水面,AB表示岸边的一棵树)
(3)当光从水中射向空气时,折射光线如图丙所示,画出对应的入射光线和反射光线.
(4)小明驾车在道路转弯处时,通过转弯处的镜子M(可看作平面镜)看到了行人.如图丁所示,其中A处是车内小明的眼睛,B处是行人,请作出小明看到行人的光路图.
答案:
(1)
(2)
(3)
(4)
(1)
(2)
(3)
(4)
查看更多完整答案,请扫码查看