第78页
- 第1页
- 第2页
- 第3页
- 第4页
- 第5页
- 第6页
- 第7页
- 第8页
- 第9页
- 第10页
- 第11页
- 第12页
- 第13页
- 第14页
- 第15页
- 第16页
- 第17页
- 第18页
- 第19页
- 第20页
- 第21页
- 第22页
- 第23页
- 第24页
- 第25页
- 第26页
- 第27页
- 第28页
- 第29页
- 第30页
- 第31页
- 第32页
- 第33页
- 第34页
- 第35页
- 第36页
- 第37页
- 第38页
- 第39页
- 第40页
- 第41页
- 第42页
- 第43页
- 第44页
- 第45页
- 第46页
- 第47页
- 第48页
- 第49页
- 第50页
- 第51页
- 第52页
- 第53页
- 第54页
- 第55页
- 第56页
- 第57页
- 第58页
- 第59页
- 第60页
- 第61页
- 第62页
- 第63页
- 第64页
- 第65页
- 第66页
- 第67页
- 第68页
- 第69页
- 第70页
- 第71页
- 第72页
- 第73页
- 第74页
- 第75页
- 第76页
- 第77页
- 第78页
- 第79页
- 第80页
- 第81页
- 第82页
- 第83页
- 第84页
- 第85页
- 第86页
- 第87页
- 第88页
- 第89页
- 第90页
- 第91页
- 第92页
- 第93页
- 第94页
- 第95页
- 第96页
- 第97页
- 第98页
- 第99页
- 第100页
7. (2025·山东枣庄期中)如图所示的电路中,闭合开关,电路正常工作,图中电流表$A_{1}$、$A_{2}对应的示数分别为I_{1}$、$I_{2}$,电压表$V_{1}$、$V_{2}对应的示数分别为U_{1}$、$U_{2}$.此电路为____(选填“串联”或“并联”)电路,且$I_{1}$____(选填“>”“<”或“=”,下同)$I_{2}$、$U_{1}$____$U_{2}$.

答案:
并联 < =
8. (2025·河南期中)如图所示的电路中,闭合开关S,两灯泡均发光,两电流表指针偏转角度相同,电流表$A_{2}$测通过____(选填“$L_{1}$”“$L_{2}$”或“干路”)的电流,通过灯泡$L_{1}和L_{2}$的电流之比为____.若灯$L_{1}$断路,则电流表$A_{1}$的示数____(选填“变大”“变小”或“不变”).

答案:
$L_{2}$ $4:1$ 变小 解析:由图可知,$L_{1}$和$L_{2}$并联,$A_{1}$测量干路电流,$A_{2}$测量通过$L_{2}$的电流。并联电路中,干路电流等于各支路电流之和,两电流表指针偏转角度相同,说明两电流表量程不同,即$A_{1}$使用大量程0~3A,$A_{2}$使用小量程0~0.6A,设$A_{2}$的示数为I,则$A_{1}$的示数为5I,那么通过$L_{1}$的电流$I_{1}=I_{总}-I_{2}=5I - I = 4I$,则通过灯泡$L_{1}$和$L_{2}$的电流之比$\frac{I_{1}}{I_{2}}=\frac{4I}{I}=\frac{4}{1}$;若灯$L_{1}$断路,则干路电流会减小,$A_{1}$和$A_{2}$均测量通过$L_{2}$的电流,则电流表$A_{1}$的示数变小。
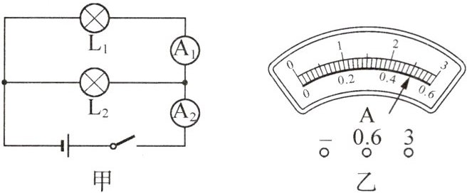
9. 新素养 科学探究 在探究并联电路的电流和电压特点时,小明同学分别做了如下两组实验.
实验一:通过如图甲所示的电路图探究并联电路的电流特点,闭合开关后,两电流表指针偏转情况如图乙.

(1) 请根据电路图甲在实物图丙中添加一根导线,完成电路连接.

(2) 小明发现电流表$A_{1}和A_{2}$的指针在相同位置,均如图乙,则电流表$A_{1}和A_{2}$的示数分别为____A、____A.
实验二:通过如图甲所示的电路,继续探究并联电路的电压特点.
(3) 实验中,小明选用两个灯泡的规格应该____(选填“相同”或“不同”).
(4) 小明用电压表分别测出$L_{1}和L_{2}$两端的电压,发现电压相等,马上得出结论:并联电路各支路两端的电压是相等的.他的结论是否可靠?____,为什么?____.
实验一:通过如图甲所示的电路图探究并联电路的电流特点,闭合开关后,两电流表指针偏转情况如图乙.
(1) 请根据电路图甲在实物图丙中添加一根导线,完成电路连接.
(2) 小明发现电流表$A_{1}和A_{2}$的指针在相同位置,均如图乙,则电流表$A_{1}和A_{2}$的示数分别为____A、____A.
实验二:通过如图甲所示的电路,继续探究并联电路的电压特点.
(3) 实验中,小明选用两个灯泡的规格应该____(选填“相同”或“不同”).
(4) 小明用电压表分别测出$L_{1}和L_{2}$两端的电压,发现电压相等,马上得出结论:并联电路各支路两端的电压是相等的.他的结论是否可靠?____,为什么?____.
答案:
(1)如图所示 (2)0.5 2.5 (3)不同 (4)不可靠 根据一次测量数据得出的结论具有偶然性
(1)如图所示 (2)0.5 2.5 (3)不同 (4)不可靠 根据一次测量数据得出的结论具有偶然性
10. (2025·重庆期中)在如图所示电路中,开关S闭合时,规格相同的灯泡$L_{1}$、$L_{2}$均能发光.图中甲、乙、丙为电表,粗心的小明在读数时只在纸上记录了如图所示的数字,则下列说法可能正确的是()

A. $L_{1}和L_{2}$并联,甲、乙、丙示数分别为0.6V、1.2A、0.3A
B. $L_{1}和L_{2}$并联,电源电压为1.2V,通过$L_{1}$、$L_{2}$的电流分别为0.3A、0.6A
C. $L_{1}和L_{2}$串联,甲、乙、丙示数分别为0.3A、0.6V、1.2V
D. $L_{1}和L_{2}$串联,电路中的电流为0.6A,$L_{1}$、$L_{2}$两端的电压分别为0.3V、1.2V
A. $L_{1}和L_{2}$并联,甲、乙、丙示数分别为0.6V、1.2A、0.3A
B. $L_{1}和L_{2}$并联,电源电压为1.2V,通过$L_{1}$、$L_{2}$的电流分别为0.3A、0.6A
C. $L_{1}和L_{2}$串联,甲、乙、丙示数分别为0.3A、0.6V、1.2V
D. $L_{1}和L_{2}$串联,电路中的电流为0.6A,$L_{1}$、$L_{2}$两端的电压分别为0.3V、1.2V
答案:
C 解析:规格相同的灯泡$L_{1}$、$L_{2}$均能发光,由图可知它们可能是串联,也可能是并联。两灯泡串联时,电路中电流只有一条路径,电流从电源正极出发,依次经甲电表、灯泡$L_{2}$、灯泡$L_{1}$回到电源的负极,则甲为电流表,测电路中的电流,乙为电压表,测$L_{2}$两端的电压,丙为电压表,测电源的电压,串联电路中各处的电流相等,且两灯泡规格相同时它们两端的电压相等,则电源电压是$L_{2}$两端电压的2倍,即丙的示数是乙示数的2倍,由图中数据可知,若丙的示数为1.2V,则乙的示数为0.6V,甲的示数为0.3A,若丙的示数为0.6V,则乙的示数为0.3V,甲的示数为1.2A,两种情况下$L_{1}$、$L_{2}$两端的电压均相等,故C可能正确、D错误。两灯泡并联时,电路中电流有两条路径,电流从电源的正极出发,经乙电表后分流,一条路径经灯泡$L_{1}$回到电源负极,一条路径经灯泡$L_{2}$、丙电表回到电源的负极,则甲为电压表,测电源电压,乙为电流表,测干路电流,丙为电流表,测$L_{2}$支路的电流,并联电路中各支路两端的电压相等,且干路电流等于各支路电流之和,所以通过两灯泡的电流相等,干路电流是$L_{2}$支路电流的2倍,即乙的示数是丙示数的2倍,由图中数据可知,若乙的示数为1.2A,则丙的示数为0.6A,甲的示数为0.3V,若乙的示数为0.6A,则丙的示数为0.3A,甲的示数为1.2V,两种情况下通过$L_{1}$、$L_{2}$的电流均相等,故A、B错误。
查看更多完整答案,请扫码查看