第326页
- 第303页
- 第304页
- 第305页
- 第306页
- 第307页
- 第308页
- 第309页
- 第310页
- 第311页
- 第312页
- 第313页
- 第314页
- 第315页
- 第316页
- 第317页
- 第318页
- 第319页
- 第320页
- 第321页
- 第322页
- 第323页
- 第324页
- 第325页
- 第326页
- 第327页
- 第328页
- 第329页
- 第330页
- 第331页
- 第332页
- 第333页
- 第334页
- 第335页
- 第336页
- 第337页
- 第338页
- 第339页
- 第340页
- 第341页
- 第342页
- 第343页
- 第344页
- 第345页
- 第346页
- 第347页
- 第348页
- 第349页
- 第350页
- 第351页
- 第352页
- 第353页
- 第354页
- 第355页
- 第356页
- 第357页
- 第358页
- 第359页
- 第360页
- 第361页
- 第362页
- 第363页
- 第364页
- 第365页
- 第366页
- 第367页
- 第368页
- 第369页
- 第370页
- 第371页
- 第372页
- 第373页
- 第374页
- 第375页
- 第376页
- 第377页
- 第378页
- 第379页
- 第380页
- 第381页
- 第382页
- 第383页
- 第384页
- 第385页
- 第386页
- 第387页
- 第388页
- 第389页
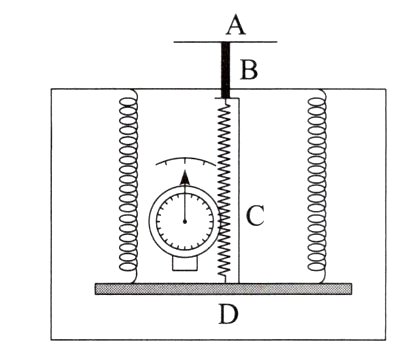
4.如图所示,某同学设计了可以测量物体质量的“天平”。首先把两根完全一样的弹簧上端吊挂在盒子上顶面,托板A、杆B、齿条C、水平横杆D串联在一起,杆B通过小孔穿过盒子上顶面,水平横杆D与两弹簧下端点相连。另固定一齿轮,齿轮可绕自己的轴近似无摩擦转动,并与齿条C完全契合,齿轮上固定一轻质指针,指针可随齿轮转动,齿轮上方有一表盘可读出指针转过的角度。经过调校,使得托板A上不放物品时,指针恰好指在竖直向上的位置。
(1)若在托板A上放上物体,读出指针偏转了θ(θ<π/4),要求出每根弹簧伸长的增加量,仅需测量______。
A.弹簧劲度系数k B.物体质量m C.齿轮直径d D.指针长度l
(2)若已知弹簧劲度系数为k,齿轮直径为d,则物体质量m与角度θ的关系式m = ______(重力加速度为g,所有物理量均为国际单位制单位)。
(3)为了提高“天平”测量的精确度,可换用直径更______(选填“大”或“小”)的齿轮。
(1)若在托板A上放上物体,读出指针偏转了θ(θ<π/4),要求出每根弹簧伸长的增加量,仅需测量______。
A.弹簧劲度系数k B.物体质量m C.齿轮直径d D.指针长度l
(2)若已知弹簧劲度系数为k,齿轮直径为d,则物体质量m与角度θ的关系式m = ______(重力加速度为g,所有物理量均为国际单位制单位)。
(3)为了提高“天平”测量的精确度,可换用直径更______(选填“大”或“小”)的齿轮。
答案:
(1)C
(2)$\frac{k\theta d}{g}$
(3)小
(1)C
(2)$\frac{k\theta d}{g}$
(3)小
5.(2024重庆巴蜀中学模拟)某同学从废旧的弹簧测力计上拆下弹簧,用它来做探究弹力和弹簧伸长量的关系的实验。
(1)在家中贴有瓷砖的墙面,用铅垂线测量,发现瓷砖之间的竖缝是竖直的,将刻度尺平行于竖缝固定在墙面上,将弹簧挂在墙面的挂钩上,并使刻度尺的零刻度与弹簧上端平齐,如图甲所示;
(2)在弹簧下端依次悬挂n个槽码(n = 1,2,3…),当槽码静止时,测出弹簧拉力Fn与指针所指的刻度尺示数Ln,在F - L坐标系中描点,如图乙所示:
①初始时弹簧下端未挂槽码,竖直弹簧的自然长度为L0= ______cm(结果保留2位有效数字);
②实验中,若在测得图乙中P点的数据(27.0 cm,10.78 N)后,取下弹簧下端悬挂的所有槽码,则弹簧静止时______(选填“能”或“不能”)恢复到自然长度L0;
③在弹簧弹力从0增大至17.64 N的过程中,弹簧劲度系数变化情况是______;
(3)本次实验的部分数据如下:
|槽码个数n|1|2|3|4|
|----|----|----|----|----|
|Fn/N|0.98|1.96|2.94|3.92|
|Ln/cm|2.5|3.7|4.9|6.1|
|弹簧伸长量xn=Ln+2-Ln/cm|2.4|2.4| |
用逐差法计算弹簧的劲度系数k = ______N/m(结果保留2位有效数字)。
(1)在家中贴有瓷砖的墙面,用铅垂线测量,发现瓷砖之间的竖缝是竖直的,将刻度尺平行于竖缝固定在墙面上,将弹簧挂在墙面的挂钩上,并使刻度尺的零刻度与弹簧上端平齐,如图甲所示;
(2)在弹簧下端依次悬挂n个槽码(n = 1,2,3…),当槽码静止时,测出弹簧拉力Fn与指针所指的刻度尺示数Ln,在F - L坐标系中描点,如图乙所示:
①初始时弹簧下端未挂槽码,竖直弹簧的自然长度为L0= ______cm(结果保留2位有效数字);
②实验中,若在测得图乙中P点的数据(27.0 cm,10.78 N)后,取下弹簧下端悬挂的所有槽码,则弹簧静止时______(选填“能”或“不能”)恢复到自然长度L0;
③在弹簧弹力从0增大至17.64 N的过程中,弹簧劲度系数变化情况是______;
(3)本次实验的部分数据如下:
|槽码个数n|1|2|3|4|
|----|----|----|----|----|
|Fn/N|0.98|1.96|2.94|3.92|
|Ln/cm|2.5|3.7|4.9|6.1|
|弹簧伸长量xn=Ln+2-Ln/cm|2.4|2.4| |
用逐差法计算弹簧的劲度系数k = ______N/m(结果保留2位有效数字)。
答案:
(1)①1.3 ②不能 ③先不变,再变小,后变大
(3)82
(1)①1.3 ②不能 ③先不变,再变小,后变大
(3)82
6.用如图甲所示的装置来探究胡克定律,轻质弹簧的左端与固定在墙上的拉力传感器连接,在右端水平拉力F的作用下从原长开始沿水平方向缓慢伸长,弹簧与水平面不接触,通过刻度尺可以读出弹簧的伸长量x,通过拉力传感器可以读出F,测量多组F、x,作出F - x图像如图乙所示,回答下列问题:
(1)弹簧伸长量达到某个值后图像变弯曲,原因可能是______;
(2)弹簧的劲度系数为______;
(3)弹簧的伸长量分别为x2和x1时,拉力传感器的示数之差为______。
(1)弹簧伸长量达到某个值后图像变弯曲,原因可能是______;
(2)弹簧的劲度系数为______;
(3)弹簧的伸长量分别为x2和x1时,拉力传感器的示数之差为______。
答案:
(1)拉力超过了弹簧的最大弹性限度
(2)$\frac{F_{2}}{x_{2}}$
(3)$\frac{F_{2}(x_{2}-x_{1})}{x_{2}}$
(1)拉力超过了弹簧的最大弹性限度
(2)$\frac{F_{2}}{x_{2}}$
(3)$\frac{F_{2}(x_{2}-x_{1})}{x_{2}}$
查看更多完整答案,请扫码查看