第324页
- 第303页
- 第304页
- 第305页
- 第306页
- 第307页
- 第308页
- 第309页
- 第310页
- 第311页
- 第312页
- 第313页
- 第314页
- 第315页
- 第316页
- 第317页
- 第318页
- 第319页
- 第320页
- 第321页
- 第322页
- 第323页
- 第324页
- 第325页
- 第326页
- 第327页
- 第328页
- 第329页
- 第330页
- 第331页
- 第332页
- 第333页
- 第334页
- 第335页
- 第336页
- 第337页
- 第338页
- 第339页
- 第340页
- 第341页
- 第342页
- 第343页
- 第344页
- 第345页
- 第346页
- 第347页
- 第348页
- 第349页
- 第350页
- 第351页
- 第352页
- 第353页
- 第354页
- 第355页
- 第356页
- 第357页
- 第358页
- 第359页
- 第360页
- 第361页
- 第362页
- 第363页
- 第364页
- 第365页
- 第366页
- 第367页
- 第368页
- 第369页
- 第370页
- 第371页
- 第372页
- 第373页
- 第374页
- 第375页
- 第376页
- 第377页
- 第378页
- 第379页
- 第380页
- 第381页
- 第382页
- 第383页
- 第384页
- 第385页
- 第386页
- 第387页
- 第388页
- 第389页
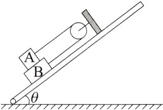
7. 如图所示,一轻质光滑定滑轮固定在倾斜木板上,质量分别为m和4m的物块A、B通过不可伸长的轻绳跨过滑轮连接并静置于木板上,A、B间的接触面和轻绳均始终与木板平行。A与B间、B与木板间的动摩擦因数均为μ,设最大静摩擦力等于滑动摩擦力。当木板与水平面间的夹角θ缓慢增加至53°时,物块A、B刚好要滑动,已知sin 53°=0.8,cos 53°=0.6。则μ的值为( )

A. $\frac{4}{7}$
B. $\frac{4}{5}$
C. $\frac{2}{3}$
D. $\frac{1}{2}$
A. $\frac{4}{7}$
B. $\frac{4}{5}$
C. $\frac{2}{3}$
D. $\frac{1}{2}$
答案:
7.A 解析 由题意易知B将向下滑动,A将向上滑动,则A受到的滑动摩擦力沿A、B接触面向下,B受到A的滑动摩擦力沿A、B面向上,受到木板的滑动摩擦力沿斜面向上。设轻绳中拉力大小为 $F$,根据平衡条件,对A有 $F = mg\sin53^{\circ}+\mu mg\cos53^{\circ}$,对B有 $F + 5\mu mg\cos53^{\circ}+\mu mg\cos53^{\circ}=4mg\sin53^{\circ}$,联立以上两式解得 $\mu=\frac{4}{7}$,故选A。
8.(多选)(2023山东日照三模)一质量为m的物块恰好能沿倾角为30°的足够长斜面匀速下滑。在物块沿斜面匀速下滑的过程中,在竖直平面内给物块一外力F,F与水平方向的夹角为α,斜面始终处于静止状态,如图所示。已知重力加速度为g,下列说法正确的是( )

A. 若α=0°,物块沿斜面下滑过程中,地面对斜面的摩擦力水平向左
B. 若α=60°,物块沿斜面下滑过程中,地面对斜面的摩擦力为零
C. 若α=90°,物块仍沿斜面匀速下滑
D. 若F推着物块沿斜面匀速上滑,则F的最小值为mg
A. 若α=0°,物块沿斜面下滑过程中,地面对斜面的摩擦力水平向左
B. 若α=60°,物块沿斜面下滑过程中,地面对斜面的摩擦力为零
C. 若α=90°,物块仍沿斜面匀速下滑
D. 若F推着物块沿斜面匀速上滑,则F的最小值为mg
答案:
8.BC 解析 未加 $F$ 时,物块匀速下滑,受力平衡,物块受到重力、支持力和摩擦力的作用,由平衡条件得 $mg\sin30^{\circ}=\mu mg\cos30^{\circ}$,解得物块与斜面间的动摩擦因数 $\mu=\frac{\sqrt{3}}{3}$,物块匀速下滑过程中,整体水平方向受力平衡,则地面对斜面的摩擦力为零;若 $\alpha = 0^{\circ}$,对物块施加一个水平方向的力,物块下滑过程中对斜面压力和摩擦力成比例增加,即物块对斜面的作用力方向没有变,则地面对斜面的摩擦力仍为零,A错误;若 $\alpha = 60^{\circ}$,对物块施加一个垂直于斜面方向的力 $F$,物块下滑过程中,对斜面的压力增加 $F$、摩擦力增加 $\mu F$,如图所示,根据几何关系可知 $\tan\theta=\frac{\mu F}{F}$,故此时物块对斜面的作用力方向仍向下,地面对斜面的摩擦力为零,B正确;若 $\alpha = 90^{\circ}$,$F$ 方向竖直向下,对物块有 $(mg + F)\sin30^{\circ}-\mu(mg + F)\cos30^{\circ}=0$,所以物块仍沿斜面匀速下滑,C正确;若 $F$ 推着物块沿斜面匀速上滑,设 $F$ 与斜面夹角为 $\gamma$,根据平衡条件得 $F\cos\gamma = mg\sin\theta+\mu(mg\cos\theta + F\sin\gamma)$,解得 $F=\frac{mg\sin\theta+\mu mg\cos\theta}{\cos\gamma-\mu\sin\gamma}=\frac{mg\sin\theta+\mu mg\cos\theta}{\sqrt{1 + \mu^{2}}\sin(\beta-\gamma)}$,所以 $F_{min}=\frac{mg\sin\theta+\mu mg\cos\theta}{\sqrt{1+\mu^{2}}}=mg\sin2\theta=\frac{\sqrt{3}}{2}mg$,D错误。
8.BC 解析 未加 $F$ 时,物块匀速下滑,受力平衡,物块受到重力、支持力和摩擦力的作用,由平衡条件得 $mg\sin30^{\circ}=\mu mg\cos30^{\circ}$,解得物块与斜面间的动摩擦因数 $\mu=\frac{\sqrt{3}}{3}$,物块匀速下滑过程中,整体水平方向受力平衡,则地面对斜面的摩擦力为零;若 $\alpha = 0^{\circ}$,对物块施加一个水平方向的力,物块下滑过程中对斜面压力和摩擦力成比例增加,即物块对斜面的作用力方向没有变,则地面对斜面的摩擦力仍为零,A错误;若 $\alpha = 60^{\circ}$,对物块施加一个垂直于斜面方向的力 $F$,物块下滑过程中,对斜面的压力增加 $F$、摩擦力增加 $\mu F$,如图所示,根据几何关系可知 $\tan\theta=\frac{\mu F}{F}$,故此时物块对斜面的作用力方向仍向下,地面对斜面的摩擦力为零,B正确;若 $\alpha = 90^{\circ}$,$F$ 方向竖直向下,对物块有 $(mg + F)\sin30^{\circ}-\mu(mg + F)\cos30^{\circ}=0$,所以物块仍沿斜面匀速下滑,C正确;若 $F$ 推着物块沿斜面匀速上滑,设 $F$ 与斜面夹角为 $\gamma$,根据平衡条件得 $F\cos\gamma = mg\sin\theta+\mu(mg\cos\theta + F\sin\gamma)$,解得 $F=\frac{mg\sin\theta+\mu mg\cos\theta}{\cos\gamma-\mu\sin\gamma}=\frac{mg\sin\theta+\mu mg\cos\theta}{\sqrt{1 + \mu^{2}}\sin(\beta-\gamma)}$,所以 $F_{min}=\frac{mg\sin\theta+\mu mg\cos\theta}{\sqrt{1+\mu^{2}}}=mg\sin2\theta=\frac{\sqrt{3}}{2}mg$,D错误。
9. 如图所示,某阳台竖直墙壁上的A、B两处分别固定一颗钉子,小王通过一段不可伸长的细线路过两颗钉子悬挂一吊篮(吊篮不与墙壁接触)。因A、B不等高,故重新调整B处的钉子到C处,A、C等高且C在B的正下方,重新悬挂上原来的细线,整个细线始终处于同一竖直平面内,不计细线与钉子之间的摩擦,则下列说法正确的是( )

A. 调整后细线的拉力大小比调整前要小
B. 调整后细线的拉力大小比调整前要大
C. 调整后细线对两个钉子的总作用力大小比调整前要小
D. 调整后细线对两个钉子的总作用力大小比调整前要大
A. 调整后细线的拉力大小比调整前要小
B. 调整后细线的拉力大小比调整前要大
C. 调整后细线对两个钉子的总作用力大小比调整前要小
D. 调整后细线对两个钉子的总作用力大小比调整前要大
答案:
9.A 解析 设调整前吊篮与细线的交点为 $O$,调整后吊篮与细线的交点为 $O'$,钉子在 $B$ 处时细线的拉力为 $F_{1}$,$\angle AOB=\alpha$,钉子在 $C$ 处时细线的拉力为 $F_{2}$,$\angle AO'C=\beta$,如图所示。由于细线跨在钉子上,所以细线上拉力的大小处处相等,根据力的平衡条件和平行四边形定则可知,$2F_{1}\cos\frac{\alpha}{2}=G$,$2F_{2}\cos\frac{\beta}{2}=G$,因此 $F_{1}=\frac{G}{2\cos\frac{\alpha}{2}}$,$F_{2}=\frac{G}{2\cos\frac{\beta}{2}}$。由于细线的总长度不变,因此 $\triangle ABO$ 与 $\triangle ACO'$ 周长相等,故 $l_{AO}+l_{BO}<l_{AO'}+l_{CO'}$。根据几何关系可得 $\sin\frac{\alpha}{2}=\frac{l_{AC}}{l_{AO}+l_{BO}}$,$\sin\frac{\beta}{2}=\frac{l_{AC}}{l_{AO'}+l_{CO'}}$,因此 $\alpha>\beta$,所以 $F_{1}>F_{2}$,故调整后细线的拉力大小比调整前要小,A正确,B错误。吊篮受力平衡,则细线对吊篮的拉力等于吊篮重力,两钉子对细线的合力等于吊篮对细线的拉力,故两钉子对细线的合力等于吊篮重力,由牛顿第三定律可知细线对两钉子的总作用力也等于吊篮的重力,调整前后不变,故C、D错误。
9.A 解析 设调整前吊篮与细线的交点为 $O$,调整后吊篮与细线的交点为 $O'$,钉子在 $B$ 处时细线的拉力为 $F_{1}$,$\angle AOB=\alpha$,钉子在 $C$ 处时细线的拉力为 $F_{2}$,$\angle AO'C=\beta$,如图所示。由于细线跨在钉子上,所以细线上拉力的大小处处相等,根据力的平衡条件和平行四边形定则可知,$2F_{1}\cos\frac{\alpha}{2}=G$,$2F_{2}\cos\frac{\beta}{2}=G$,因此 $F_{1}=\frac{G}{2\cos\frac{\alpha}{2}}$,$F_{2}=\frac{G}{2\cos\frac{\beta}{2}}$。由于细线的总长度不变,因此 $\triangle ABO$ 与 $\triangle ACO'$ 周长相等,故 $l_{AO}+l_{BO}<l_{AO'}+l_{CO'}$。根据几何关系可得 $\sin\frac{\alpha}{2}=\frac{l_{AC}}{l_{AO}+l_{BO}}$,$\sin\frac{\beta}{2}=\frac{l_{AC}}{l_{AO'}+l_{CO'}}$,因此 $\alpha>\beta$,所以 $F_{1}>F_{2}$,故调整后细线的拉力大小比调整前要小,A正确,B错误。吊篮受力平衡,则细线对吊篮的拉力等于吊篮重力,两钉子对细线的合力等于吊篮对细线的拉力,故两钉子对细线的合力等于吊篮重力,由牛顿第三定律可知细线对两钉子的总作用力也等于吊篮的重力,调整前后不变,故C、D错误。
10.(2024重庆西南大学附中模拟)重庆的夏日十分炎热,为了提高空调的制冷效果,门窗都需紧闭。教学楼有些门因为老化故障无法紧闭,细心的小明给门下缝隙处塞紧了一个小木楔,侧面如图所示。已知木楔质量为m,其上表面可视作光滑,下表面与水平地面间的动摩擦因数为μ,木楔上表面与水平地面间夹角为θ,重力加速度为g,最大静摩擦力等于滑动摩擦力,不计木楔的形变。

(1)若有人轻推门时,门推动木楔在地板上缓慢匀速移动,求门下端对木楔上表面的压力大小。
(2)小明研究发现,存在临界角θ_{0},若木楔倾角θ≤θ_{0},不管用多大力推门,木楔都能将门卡住而不再运动,求这一临界角的正切值tan θ_{0}。
(1)若有人轻推门时,门推动木楔在地板上缓慢匀速移动,求门下端对木楔上表面的压力大小。
(2)小明研究发现,存在临界角θ_{0},若木楔倾角θ≤θ_{0},不管用多大力推门,木楔都能将门卡住而不再运动,求这一临界角的正切值tan θ_{0}。
答案:
答案
(1)$\frac{\mu mg}{\sin\theta-\mu\cos\theta}$
(2)$\mu$
解析
(1)对木楔受力分析,如图所示 若门推动木楔在地板上缓慢匀速移动,竖直方向 $F_{N}=F\cos\theta+mg$ 水平方向 $F_{f}=F\sin\theta$ 又滑动摩擦力 $F_{f}=\mu F_{N}=\mu(F\cos\theta+mg)$ 联立解得 $F=\frac{\mu mg}{\sin\theta-\mu\cos\theta}$。
(2)不管用多大力推门,塞在门下缝隙处的木楔都能将门卡住而不再运动,即 $F\sin\theta\leqslant\mu(F\cos\theta+mg)$ 由于力 $F$ 很大,木楔质量较小,可得 $\tan\theta\leqslant\mu$ 故临界角的正切值为 $\tan\theta_{0}=\mu$。
答案
(1)$\frac{\mu mg}{\sin\theta-\mu\cos\theta}$
(2)$\mu$
解析
(1)对木楔受力分析,如图所示 若门推动木楔在地板上缓慢匀速移动,竖直方向 $F_{N}=F\cos\theta+mg$ 水平方向 $F_{f}=F\sin\theta$ 又滑动摩擦力 $F_{f}=\mu F_{N}=\mu(F\cos\theta+mg)$ 联立解得 $F=\frac{\mu mg}{\sin\theta-\mu\cos\theta}$。
(2)不管用多大力推门,塞在门下缝隙处的木楔都能将门卡住而不再运动,即 $F\sin\theta\leqslant\mu(F\cos\theta+mg)$ 由于力 $F$ 很大,木楔质量较小,可得 $\tan\theta\leqslant\mu$ 故临界角的正切值为 $\tan\theta_{0}=\mu$。
查看更多完整答案,请扫码查看