2025年衡水名师新作高一物理
注:目前有些书本章节名称可能整理的还不是很完善,但都是按照顺序排列的,请同学们按照顺序仔细查找。练习册 2025年衡水名师新作高一物理 答案主要是用来给同学们做完题方便对答案用的,请勿直接抄袭。
1.(2025·江苏省盐城市东台市高一期末)图中虚线描述的是一位跳水运动员高台跳水时头部的运动轨迹,最后运动员沿竖直方向以速度v入水。整个运动过程中,除运动员入水前一段时间外,与入水时头部速度v方向相同的位置有 ( )

A.1个
B.2个
C.3个
D.4个
A.1个
B.2个
C.3个
D.4个
答案:
B [在跳水运动中,运动员的头部运动轨迹是曲线。当运动员入水时,其速度方向是竖直向下的,这意味着在轨迹上的某一点,运动员头部的速度方向也必须是竖直向下的,以与入水时的速度方向一致。如图所示:
由图可知,在D点和E点时瞬时速度方向与入水时头部速度v方向相同,即与入水时头部速度v方向相同的位置有2个,故B正确,ACD错误。]
B [在跳水运动中,运动员的头部运动轨迹是曲线。当运动员入水时,其速度方向是竖直向下的,这意味着在轨迹上的某一点,运动员头部的速度方向也必须是竖直向下的,以与入水时的速度方向一致。如图所示:
2.(多选)(2025·四川省泸州市泸县五中高一期末)一质点做匀变速曲线运动,从a点运动到d点的轨迹如图所示。已知该质点运动到c点时速度方向与它所受合力方向恰好互相垂直。则该质点从a点运动到d点的过程中,下列说法正确的是 (

A.质点的速率先增大后减小
B.质点的速率先减小后增大
C.质点经过b点时的速率比d点的大
D.质点经过d点时的加速度方向与速度方向的夹角小于90°
BD
)A.质点的速率先增大后减小
B.质点的速率先减小后增大
C.质点经过b点时的速率比d点的大
D.质点经过d点时的加速度方向与速度方向的夹角小于90°
答案:
BD [ABD.质点运动到c点时速度方向与它所受合力方向恰好互相垂直,根据曲线运动轨迹和合外力的关系可知,合外力指向曲线运动轨迹的内侧,合外力的方向和加速度方向相同,速度方向是轨迹上某点的切线方向,由a→c合外力与速度成钝角,速率越来越小,c→d合外力与速度成锐角,速率越来越大,即速率先减小后增大,质点经过d点时的加速度方向与速度方向的夹角小于90°,故A错误,BD正确;C.根据图可知,质点运动到c点时速度方向与它所受合力方向恰好互相垂直,即竖直速度为零,合外力竖直向下,质点从b→c运动的竖直位移小于质点从c→d运动的竖直位移,则质点受到的合外力在bd之间做的功大于零,由动能定理可知质点在d点的动能大于在b点的动能,则质点在d点的速率大于在b点的速率,故C错误。]
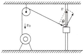
3.(2025·黑龙江省哈尔滨市六校高一期末)卷扬机可以垂直提升、水平或倾斜拽引重物。因操作简单、移置方便,在建筑施工、水利工程、林业、矿山、码头等有着

广泛应用。如图乙所示,利用卷扬机将套在光滑竖直杆上的重物提升到高处。当卷扬机缠绕钢丝绳的速度为v₀时,连接重物的钢丝绳与竖直杆夹角为θ,则当重物运动到图示位置时重物的速度v与v₀关系为 ( )
A.v = v₀cosθ
B.v = $\frac{v_0}{\cos\theta}$
C.v = v₀sinθ
D.v = v₀ = $\frac{v_0}{\sin\theta}$
广泛应用。如图乙所示,利用卷扬机将套在光滑竖直杆上的重物提升到高处。当卷扬机缠绕钢丝绳的速度为v₀时,连接重物的钢丝绳与竖直杆夹角为θ,则当重物运动到图示位置时重物的速度v与v₀关系为 ( )
A.v = v₀cosθ
B.v = $\frac{v_0}{\cos\theta}$
C.v = v₀sinθ
D.v = v₀ = $\frac{v_0}{\sin\theta}$
答案:
B [将重物速度沿绳和垂直于绳方向进行分解,如图所示:
根据运动的分解可知重物沿绳方向的速度分量等于卷扬机缠绕钢丝绳的速度,即 $ v_0 = v \cos \theta $,所以 $ v = \frac{v_0}{\cos \theta} $,故ACD错误,B正确。]
B [将重物速度沿绳和垂直于绳方向进行分解,如图所示:
4.(多选)(2025·河北省邯郸市名校联合体高一期末)光滑水平面上建立直角坐标系,质量为m的小球(可视为质点),从y轴上的B(0,L)点以初速度v₀ = $\sqrt{gL}$水平向右进入第一象限,经一段时间过x轴上的C(L,0)点时速度大小为5$\sqrt{gL}$。此过程始终受一个平行于xOy平面但方向大小未知的恒力。则 ( )

A.小球在沿x轴方向上做匀速直线运动
B.小球从B到C的时间为$\frac{1}{2}\sqrt{\frac{L}{g}}$
C.小球所受恒力大小为4$\sqrt{5}$mg
D.小球过C点时速度方向与x轴正向夹角为60°
BC
A.小球在沿x轴方向上做匀速直线运动
B.小球从B到C的时间为$\frac{1}{2}\sqrt{\frac{L}{g}}$
C.小球所受恒力大小为4$\sqrt{5}$mg
D.小球过C点时速度方向与x轴正向夹角为60°
答案:
BC [AB.设第一象限恒力的水平分量为 $ F_x $,竖直分量为 $ F_y $,则 $ F_x = ma_x $, $ F_y = ma_y $。设小球在C点的水平分速度为 $ v_x $,竖直分速度为 $ v_y $,速度方向与x轴正向夹角为 $ \theta $,则 $ v^2 = v_x^2 + v_y^2 = 25gL $且 $ L = \frac{v_0 + v_x}{2} t $, $ L = \frac{v_y}{2} t $, $ \tan \theta = \frac{v_y}{v_x} $,解得 $ v_x = 3 \sqrt{gL} $, $ v_y = 4 \sqrt{gL} $, $ t = \frac{1}{2} \sqrt{\frac{L}{g}} $, $ \theta = 53^\circ $,故AD错误,B正确;C.x方向有 $ a_x = \frac{v_x - v_0}{t} $,解得 $ a_x = 4g $可得 $ F_x = ma_x = 4mg $,y方向有 $ a_y = \frac{v_y}{t} $,解得 $ F_y = ma_y = 8mg $,则可得 $ F = \sqrt{F_x^2 + F_y^2} $,解得 $ F = 4 \sqrt{5} mg $,故C正确。]
5.(2024·湖北卷,3)如图所示,有五片荷叶伸出荷塘水面,一只青蛙要从高处荷叶跳到低处荷叶上,设低处荷叶a、b、c、d和青蛙在同一竖直平面内,a、b高度相同,c、d高度相同,a、b分别在c、d正上方。将青蛙的跳跃视为平抛运动,若以最小的初速度完成跳跃,则它应跳到 (

A.荷叶a
B.荷叶b
C.荷叶c
D.荷叶d
C
)A.荷叶a
B.荷叶b
C.荷叶c
D.荷叶d
答案:
C [青蛙做平抛运动,在竖直方向做自由落体运动,$ h = \frac{1}{2} g t^2 $,水平方向做匀速直线运动,$ x = v_0 t $,水平初速度 $ v_0 = x \sqrt{\frac{g}{2h}} $,要使水平初速度最小,则需要水平位移x最小、竖直位移h最大;由于a、c荷叶与青蛙的水平位移最小,c、d荷叶与青蛙的高度差最大,跳到荷叶c上同时满足水平位移最小,竖直位移最大,故ABD错误,C正确。]
查看更多完整答案,请扫码查看